公布日:2024.02.23
申請日:2023.10.20
分類號:C02F1/50(2023.01)I;C02F1/00(2023.01)I;B01D29/56(2006.01)I;B01D29/64(2006.01)I;B01D29/96(2006.01)I;C02F103/20(2006.01)N
摘要
本發明公開了一種便于消毒的生豬養殖污水處理裝置,包括底座箱、支架、支撐桿,支撐桿固定安裝于底座箱頂部外壁,支架固定安裝于支撐桿外部側壁,支架頂部外壁固定安裝有工型板,工型板頂部設有推動機構,包括X軌跡滑槽、導向板、電機、連桿一、連桿二、滑塊、接觸柱、推板、彈簧一、半斜齒錐齒輪、斜齒錐齒輪、刮板,使用時可打開電機使得滑塊在接觸柱在X軌跡滑槽、X導向塊的配合下帶動推板進行出料筒內的消毒物質交替推出,實現對污水中雜質篩選刮除的同時進行污水消毒。本發明能夠實現對污水的消毒,同時設置有安裝組件,包括下料筒、活動筒、安裝圈、轉圈、卡柱、彈性圈、鎖緊筒體等,可快速拆裝篩選袋體,進行污水二次處理。

權利要求書
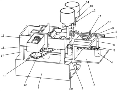
1.一種便于消毒的生豬養殖污水處理裝置,包括底座箱(1)、支架(2)、支撐桿(17),其特征在于,所述支撐桿(17)固定安裝于底座箱(1)頂部外壁,所述支架(2)固定安裝于支撐桿(17)外部側壁,所述支架(2)頂部外壁固定安裝有工型板(3),所述工型板(3)頂部設有推動機構,所述推動機構包括電機(4)、側安裝箱(16)、X軌跡滑槽(20)、導向板(21),所述電機(4)固定安裝于工型板(3)底部內壁,所述電機(4)輸出端通過鍵連接有轉桿一(6),所述轉桿一(6)頂部外壁固定安裝有連桿一(7),所述連桿一(7)頂部外壁轉動連接有連桿二(8),所述連桿二(8)另一端內壁轉動連接有轉桿二(11),所述轉桿二(11)底部外壁固定安裝有滑塊(10),所述導向板(21)固定安裝于工型板(3)頂部外壁,所述導向板(21)內壁滑動連接有滑柱(9),所述滑塊(10)滑動連接于滑柱(9)內壁,所述滑塊(10)外部側壁固定安裝有推板(25),所述滑塊(10)底部外壁固定安裝有導向筒(27),所述導向筒(27)內壁滑動連接有接觸柱(28),所述接觸柱(28)與滑塊(10)之間固定安裝有彈簧一(26),所述接觸柱(28)與X軌跡滑槽(20)、X導向塊(22)相配合,所述X軌跡滑槽(20)開設于工型板(3)頂部外壁,所述X軌跡滑槽(20)底部開設有深槽(23),所述X軌跡滑槽(20)內壁固定安裝有X導向塊(22),所述X導向塊(22)端部開設有上升斜面(24)。
2.根據權利要求1所述的一種便于消毒的生豬養殖污水處理裝置,其特征在于,所述支撐桿(17)頂部外壁固定安裝有收集箱一(15),所述收集箱一(15)頂部固定插接有篩選框(41),所述收集箱一(15)外部側壁固定安裝有兩組側安裝桿(29),兩組所述側安裝桿(29)頂部外壁固定安裝有存儲筒(14),所述收集箱一(15)頂部外壁設有兩組下料組件與兩組存儲筒(14)相連接,所述下料組件包括下料管(12)、出料筒(32),所述出料筒(32)固定安裝于收集箱一(15)頂部外壁,所述出料筒(32)內壁滑動連接有推桿(30),所述推桿(30)另一端固定安裝有活塞板(33),所述活塞板(33)與出料筒(32)內壁之間固定安裝有彈簧二(31)。
3.根據權利要求2所述的一種便于消毒的生豬養殖污水處理裝置,其特征在于,所述下料管(12)一端與出料筒(32)相連接,所述下料管(12)另一端與存儲筒(14)相連接,且所述下料管(12)中段通過法蘭連接有開關閥(13)。
4.根據權利要求1所述的一種便于消毒的生豬養殖污水處理裝置,其特征在于,所述側安裝箱(16)外部側壁固定安裝有側安裝架(39),所述側安裝架(39)固定安裝于收集箱一(15)外部側壁,所述側安裝箱(16)內部設有傳動組件,所述傳動組件與轉桿一(6)相連接,所述傳動組件端部通過鍵連接有刮板(40),所述刮板(40)下端與篩選框(41)相配合。
5.根據權利要求4所述的一種便于消毒的生豬養殖污水處理裝置,其特征在于,所述傳動組件包括鏈輪一(5)、鏈條(19)、轉桿三(35)、轉桿四(36),所述鏈輪一(5)通過鍵連接于轉桿一(6)外部側壁,所述轉桿四(36)轉動連接于側安裝箱(16)內壁,所述轉桿四(36)另一端與刮板(40)相連接,所述轉桿四(36)外部側壁通過鍵連接有相對設置的斜齒錐齒輪(37)。
6.根據權利要求5所述的一種便于消毒的生豬養殖污水處理裝置,其特征在于,所述轉桿三(35)轉動連接于側安裝箱(16)內壁,所述轉桿三(35)頂部外壁通過鍵連接有半斜齒錐齒輪(38),所述半斜齒錐齒輪(38)與兩組斜齒錐齒輪(37)相嚙合,所述轉桿三(35)底部外壁通過鍵連接有鏈輪二(18),所述鏈條(19)傳動連接于鏈輪一(5)與鏈輪二(18)外部側壁之間。
7.根據權利要求2所述的一種便于消毒的生豬養殖污水處理裝置,其特征在于,所述收集箱一(15)底部外壁轉動連接有防脫柱(34)。
8.根據權利要求3所述的一種便于消毒的生豬養殖污水處理裝置,其特征在于,所述篩選框(41)兩側開設有槽口,所述篩選框(41)外部側壁固定安裝有放置槽體(43),所述放置槽體(43)內壁放置有收集袋體(42)。
9.根據權利要求2所述的一種便于消毒的生豬養殖污水處理裝置,其特征在于,所述收集箱一(15)底部設有安裝組件,所述安裝組件內部設有篩選袋體(47),所述底座箱(1)底部內壁滑動連接有收集箱二(62)。
10.根據權利要求9所述的一種便于消毒的生豬養殖污水處理裝置,其特征在于,所述安裝組件包括下料筒(44)、活動筒(46)、兩組扣接柱(48),所述下料筒(44)固定安裝于收集箱一(15)底部外壁,且下料筒(44)內設有電子閥門,所述下料筒(44)外部側壁固定安裝有安裝圈(45),所述安裝圈(45)內壁轉動連接有轉圈(56),所述轉圈(56)外部側壁固定安裝有轉柱(51),所述轉柱(51)外部側壁固定安裝有拉繩(49),所述拉繩(49)另一端固定安裝有扣環(50),所述扣接柱(48)固定安裝于收集箱一(15)底部外壁,所述扣環(50)套接于扣接柱(48)外部側壁,所述轉圈(56)內部側壁設有凸起頭(57),所述安裝圈(45)內壁焊頂部內壁固定安裝有內圈(55),所述內圈(55)內壁開設有內槽(59),所述內圈(55)內壁滑動連接有卡柱(61),所述卡柱(61)與凸起頭(57)相配合,所述卡柱(61)外部側壁固定安裝有側板(60),所述側板(60)與內槽(59)之間固定安裝有彈簧三(58),所述活動筒(46)固定插接于安裝圈(45)內部,所述活動筒(46)外部側壁開設有卡槽(53),所述卡槽(53)與卡柱(61)相配合,所述篩選袋體(47)頂部固定安裝有彈性圈(54),所述活動筒(46)內部開設有與彈性圈(54)相配合的環形槽,所述活動筒(46)內壁通過螺紋連接有鎖緊筒體(52),所述鎖緊筒體(52)頂部設有六角螺孔,所述鎖緊筒體(52)底端外延與彈性圈(54)相配合。
發明內容
本發明的目的是為了解決現有技術中存在的缺點,而提出的一種便于消毒的生豬養殖污水處理裝置。
為了實現上述目的,本發明采用了如下技術方案:
一種便于消毒的生豬養殖污水處理裝置,包括底座箱、支架、支撐桿,所述支撐桿固定安裝于底座箱頂部外壁,所述支架固定安裝于支撐桿外部側壁,所述支架頂部外壁固定安裝有工型板,所述工型板頂部設有推動機構,所述推動機構包括電機、側安裝箱、X軌跡滑槽、導向板,所述電機固定安裝于工型板底部內壁,所述電機輸出端通過鍵連接有轉桿一,所述轉桿一頂部外壁固定安裝有連桿一,所述連桿一頂部外壁轉動連接有連桿二,所述連桿二另一端內壁轉動連接有轉桿二,所述轉桿二底部外壁固定安裝有滑塊,所述導向板固定安裝于工型板頂部外壁,所述導向板內壁滑動連接有滑柱,所述滑塊滑動連接于滑柱內壁,所述滑塊外部側壁固定安裝有推板,所述滑塊底部外壁固定安裝有導向筒,所述導向筒內壁滑動連接有接觸柱,所述接觸柱與滑塊之間固定安裝有彈簧一,所述接觸柱與X軌跡滑槽、X導向塊相配合,所述X軌跡滑槽開設于工型板頂部外壁,所述X軌跡滑槽底部開設有深槽,所述X軌跡滑槽內壁固定安裝有X導向塊,所述X導向塊端部開設有上升斜面。
優選地:所述支撐桿頂部外壁固定安裝有收集箱一,所述收集箱一頂部固定插接有篩選框,所述收集箱一外部側壁固定安裝有兩組側安裝桿,兩組所述側安裝桿頂部外壁固定安裝有存儲筒,所述收集箱一頂部外壁設有兩組下料組件與兩組存儲筒相連接,所述下料組件包括下料管、出料筒,所述出料筒固定安裝于收集箱一頂部外壁,所述出料筒內壁滑動連接有推桿,所述推桿另一端固定安裝有活塞板,所述活塞板與出料筒內壁之間固定安裝有彈簧二。
進一步地:所述下料管一端與出料筒相連接,所述下料管另一端與存儲筒相連接,且所述下料管中段通過法蘭連接有開關閥。
在前述方案的基礎上:所述側安裝箱外部側壁固定安裝有側安裝架,所述側安裝架固定安裝于收集箱一外部側壁,所述側安裝箱內部設有傳動組件,所述傳動組件與轉桿一相連接,所述傳動組件端部通過鍵連接有刮板,所述刮板下端與篩選框相配合。
在前述方案中更佳的方案是:所述傳動組件包括鏈輪一、鏈條、轉桿三、轉桿四,所述鏈輪一通過鍵連接于轉桿一外部側壁,所述轉桿四轉動連接于側安裝箱內壁,所述轉桿四另一端與刮板相連接,所述轉桿四外部側壁通過鍵連接有相對設置的斜齒錐齒輪。
作為本發明進一步的方案:所述轉桿三轉動連接于側安裝箱內壁,所述轉桿三頂部外壁通過鍵連接有半斜齒錐齒輪,所述半斜齒錐齒輪與兩組斜齒錐齒輪相嚙合,所述轉桿三底部外壁通過鍵連接有鏈輪二,所述鏈條傳動連接于鏈輪一與鏈輪二外部側壁之間。
同時,所述收集箱一底部外壁轉動連接有防脫柱。
作為本發明的一種優選的:所述篩選框兩側開設有槽口,所述篩選框外部側壁固定安裝有放置槽體,所述放置槽體內壁放置有收集袋體。
同時,所述收集箱一底部設有安裝組件,所述安裝組件內部設有篩選袋體,所述底座箱底部內壁滑動連接有收集箱二。
作為本發明的一種更優的方案:所述安裝組件包括下料筒、活動筒、兩組扣接柱,所述下料筒固定安裝于收集箱一底部外壁,且下料筒內設有電子閥門,所述下料筒外部側壁固定安裝有安裝圈,所述安裝圈內壁轉動連接有轉圈,所述轉圈外部側壁固定安裝有轉柱,所述轉柱外部側壁固定安裝有拉繩,所述拉繩另一端固定安裝有扣環,所述扣接柱固定安裝于收集箱一底部外壁,所述扣環套接于扣接柱外部側壁,所述轉圈內部側壁設有凸起頭,所述安裝圈內壁焊頂部內壁固定安裝有內圈,所述內圈內壁開設有內槽,所述內圈內壁滑動連接有卡柱,所述卡柱與凸起頭相配合,所述卡柱外部側壁固定安裝有側板,所述側板與內槽之間固定安裝有彈簧三,所述活動筒固定插接于安裝圈內部,所述活動筒外部側壁開設有卡槽,所述卡槽與卡柱相配合,所述篩選袋體頂部固定安裝有彈性圈,所述活動筒內部開設有與彈性圈相配合的環形槽,所述活動筒內壁通過螺紋連接有鎖緊筒體,所述鎖緊筒體頂部設有六角螺孔,所述鎖緊筒體底端外延與彈性圈相配合。
本發明的有益效果為:
1.本發明,通過將推動機構設置為X軌跡滑槽、導向板、電機、連桿一、連桿二、滑塊、接觸柱、推板、彈簧一、鏈輪一、鏈輪二、半斜齒錐齒輪、斜齒錐齒輪、刮板的組合,使用時可打開電機使得滑塊在接觸柱在X軌跡滑槽、X導向塊的配合下帶動推板進行出料筒內的消毒物質交替推出,對污水消毒,并帶動刮板刮除雜質。
2.本發明,通過在篩選框外部側壁開設槽口,同時設有放置槽體、收集袋體,在刮板對篩選框進行鐘擺刮除雜質時,可通過槽口掉落至收集袋體內,當雜質過多時拆除收集袋體即可,不需要頻繁進行雜質清理。
3.本發明,通過設置有收集箱二、篩選袋體,使用時污水在消毒過濾后再次進入篩選袋體內二次過濾,實現對污水的完全處理。
4.本發明,通過將安裝組件設置為下料筒、活動筒、安裝圈、轉圈、拉繩、扣環、卡柱、彈性圈、鎖緊筒體的組合,使用時,先通過鎖緊筒體壓緊彈性圈對篩選袋體固定,隨后轉動轉柱,使得轉圈外部的凸起頭頂出卡柱固定活動筒,并通過扣環進行轉柱的固定,需要進行篩選袋體拆除時,反轉轉柱即可快速拆除活動筒,更換篩選袋體即可。
(發明人:王歡)






