申請日2017.09.30
公開(公告)日2017.12.29
IPC分類號C02F1/52; C02F3/12; C02F103/20
摘要
本發明公開了一種養殖廢水預處理箱,包括箱體,箱體上部位于箱體一端處設有進液孔,箱體另一端下部設有出液孔,箱體頂部靠近進液孔處設有投料口,箱體兩側錯位設有攪拌裝置,箱體頂部設有固液分離器,出液孔通過水泵、抽液管與固液分離器連通,固液分離器上設有出液管,出液管與MBR膜生物反應器溢流連接;本發明通過在箱體內兩側設有錯位設置的攪拌裝置,絮凝劑在攪拌裝置的作用下,使絮凝劑與污泥充分混合,將造成污泥中的小顆粒完全吸附,可以去除氮、磷、磺胺類、大環內酯類及四環素類抗生素以及銅、砷、鋅、鉛及鎳等重金屬,達到凈化去味的效果,為MBR膜生物反應器提高良好的處理環境,延長MBR膜生物反應器的使用壽命。
權利要求書
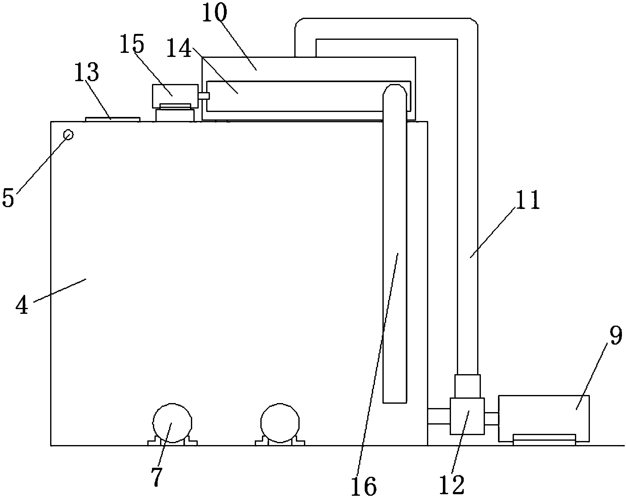
1.一種養殖廢水預處理箱,其特征在于:包括設置在MBR膜生物反應器前端的箱體,所述箱體上部位于箱體一端處設置有進液孔,所述箱體另一端下部設置有出液孔,所述箱體頂部靠近進液孔處設置有用于添加絮凝劑的投料口,所述箱體兩側位于進液孔和出液孔之間錯位設置有不少于1對攪拌裝置,所述箱體頂部上遠離投料口另一側設置有固液分離器,所述出液孔通過水泵、抽液管與固液分離器連通,所述固液分離器上設置有出液管,所述出液管與MBR膜生物反應器溢流連接。
2.如權利要求1所述的養殖廢水預處理箱,其特征在于:所述攪拌裝置設置為2對,所述攪拌裝置均包括設置在箱體外的攪拌電機,一端與電機軸連接、另一端伸入箱體內的傳動軸和套裝在傳動軸末端的攪拌葉片上,所述傳動軸與箱體之間設置有動密封。
3.如權利要求2所述的養殖廢水預處理箱,其特征在于:所述箱體同一側的攪拌電機不在同一水平線。
4.如權利要求1~3任一項所述的養殖廢水預處理箱,其特征在于:所述固液分離器包括分離器電機和與分離器電機連接連接的螺旋擠壓脫水機。
5.如權利要求4所述的養殖廢水預處理箱,其特征在于:所述固液分離器還包括箱體I,所述分離器電機設置在箱體I外,所述螺旋擠壓脫水機密封在箱體I內,所述抽液管與螺旋擠壓脫水機進液口連通,所述螺旋擠壓脫水機出液口和出液管均與箱體I內腔連通。
6.如權利要求4所述的養殖廢水預處理箱,其特征在于:所述螺旋擠壓脫水機連通排渣管,所述排渣管末端延伸至箱體下部。
說明書
養殖廢水預處理箱
技術領域
本發明屬于水、廢水或污水的多級處理的技術領域,具體是涉及一種用于農村養殖的養殖廢水預處理箱。
背景技術
近年來,隨著我國農業結構的調整和農業產業化的推進,規;⒓s化的畜禽養殖業得以迅猛發展,成為我國農業農村經濟的重要組成部分;但是這些養殖場的發展一方面滿足了城市居民對肉類、禽蛋類食物的大量需求,也成為污染水體的重要污染源;我國每年畜禽養殖的廢水排放量超過100億噸,畜禽養殖廢水中含有的氮、磷、抗生素(如磺胺類、大環內酯類及四環素類)與重金屬(銅、砷、鋅、鉛及鎳等)等濃度低卻是高危害的污染物,給人類健康構成了巨大的潛在威脅。
其中畜禽養殖的廢水收集處理以及排放大多數都是采用敞開式進行收集,一般都是通過排污溝將污水引到池塘里或者發酵池中,特別是在下雨天,很容易漫延出來,對池塘或者圈舍周邊造成環境污染,不僅使池塘水質變壞,而且使圈舍周邊很遠的地方都能聞到臭味,對周圍的人民生活造成極大的困擾。
發明內容
有鑒于此,本發明的目的在于提供一種養殖廢水預處理箱,該養殖廢水預處理箱設置在MBR膜生物反應器前端,通過在箱體內兩側設有錯位設置的攪拌裝置,通過箱體上端投入的絮凝劑在攪拌裝置的作用下,使絮凝劑與污泥充分混合,將造成污泥中的小顆粒完全吸附,可以去除氮、磷、磺胺類、大環內酯類及四環素類抗生素以及銅、砷、鋅、鉛及鎳等重金屬,達到凈化去味的效果,為MBR膜生物反應器提高良好的處理環境,延長MBR膜生物反應器的使用壽命。
為了達到上述目的,本發明一種養殖廢水預處理箱,包括設置在MBR膜生物反應器前端的箱體,所述箱體上部位于箱體一端處設置有進液孔,所述箱體另一端下部設置有出液孔,所述箱體頂部靠近進液孔處設置有用于添加絮凝劑的投料口,所述箱體兩側位于進液孔和出液孔之間錯位設置有不少于1對攪拌裝置,所述箱體頂部上遠離投料口另一側設置有固液分離器,所述出液孔通過水泵、抽液管與固液分離器連通,所述固液分離器上設置有出液管,所述出液管與MBR膜生物反應器溢流連接。
進一步,所述攪拌裝置設置為2對,所述攪拌裝置均包括設置在箱體外的攪拌電機,一端與電機軸連接、另一端伸入箱體內的傳動軸和套裝在傳動軸末端的攪拌葉片上,所述傳動軸與箱體之間設置有動密封。
進一步,所述箱體同一側的攪拌電機不在同一水平線。
進一步,所述固液分離器包括分離器電機和與分離器電機連接連接的螺旋擠壓脫水機。
進一步,所述固液分離器還包括箱體I,所述分離器電機設置在箱體I外,所述螺旋擠壓脫水機密封在箱體I內,所述抽液管與螺旋擠壓脫水機進液口連通,所述螺旋擠壓脫水機出液口和出液管均與箱體I內腔連通。
進一步,所述螺旋擠壓脫水機連通排渣管,所述排渣管末端延伸至箱體下部。
本發明的有益效果在于:
本發明設置在MBR膜生物反應器前端,通過在箱體內兩側設有錯位設置的攪拌裝置,通過箱體上端投入的絮凝劑在攪拌裝置的作用下,使絮凝劑與污泥充分混合,將造成污泥中的小顆粒完全吸附,可以去除氮、磷、磺胺類、大環內酯類及四環素類抗生素以及銅、砷、鋅、鉛及鎳等重金屬,達到凈化去味的效果,為MBR膜生物反應器提高良好的處理環境,延長MBR膜生物反應器的使用壽命。



