申請日2016.05.09
公開(公告)日2016.09.21
IPC分類號C02F9/14
摘要
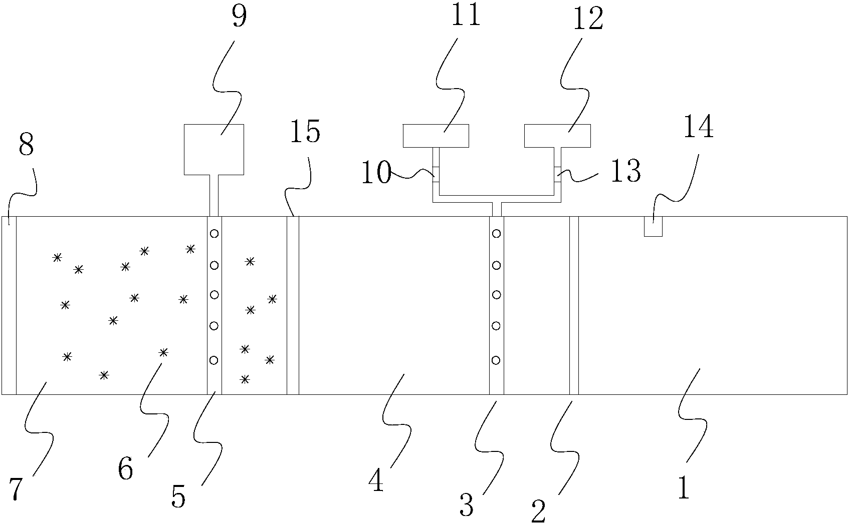
本實用新型公開了一種污水處理排放管,包括輸入管,輸入管內設置有pH傳感器,輸入管一端通過第一濾網層與中間管一端連接,中間管另一端通過第二濾網層與輸出管一端連通,輸出管另一端設置有第三濾網層,中間管的內壁設置有加注環,輸出管內設置有噴氣環。本實用新型結構簡單,使用方便;可以實時測量排放污水的酸堿度,對緊急出現的酸堿度超標的情況進行應急處理;具有一定的生物膜降解功能。
權利要求書
1.一種污水處理排放管,包括輸入管(1),其特征在于,所述的輸入管(1)內設置有pH傳感器(14),輸入管(1)一端通過第一濾網層(2)與中間管(4)一端連接,中間管(4)另一端通過第二濾網層(15)與輸出管(7)一端連通,輸出管(7)另一端設置有第三濾網層(8),中間管(4)的內壁設置有加注環(3),加注環(3)包括空心的加注環體(301)和均勻分布在加注環體(301)上的加注嘴(302),加注環體(301)通過第一控制閥(10)與第一加藥盒(11)連接,加注環體(301)還通過第二控制閥(13)與第二加藥盒(12)連接,輸出管(7)內設置有噴氣環(5),噴氣環(5)包括空心的噴氣環體(501)和均勻分布在噴氣環體(501)上的圓柱形的噴氣嘴(502),噴氣環體(501)與充氣泵(9)連通,噴氣嘴(502)的軸線與噴氣環體(501)的交點在噴氣環體(501)上的切線與噴氣嘴(502)的軸線呈10~80度夾角。
2.根據權利要求1所述的一種污水處理排放管,其特征在于,所述的輸出管(7)內設置有生物填料(6)。
說明書
一種污水處理排放管
技術領域
本實用新型涉及污水處理設施,特別是涉及一種污水處理排放管。適用于工廠污水排放處理以及河道水凈化處理。
背景技術
在各大城市中,工廠污水的排放對河道湖泊的影響越來越大,雖然很多工廠在排放污水之前會對工廠污水進行水凈化處理,但是也有很多工廠污水未經過凈化處理,直接從排污總管排放到河道湖泊,特別是一些化工工廠,工廠污水中的酸堿性物質和重金屬等物質隨著污水的排放進入到各個河道湖泊,對河道湖泊的生態產生了破壞性的影響,特別是排污總管處的水生態,同時破壞水生態產生的惡臭也對空氣產生影響。
實用新型內容
為了解決上述存在的問題, 本實用新型的目的是提供一種污水處理排放管,可以在監測到工廠污水酸堿度超標的情況下,緊急對污水進行酸堿度調節處理。
本實用新型的上述目的通過以下技術方案實現:
一種污水處理排放管,包括輸入管,所述的輸入管內設置有pH傳感器,輸入管一端通過第一濾網層與中間管一端連接,中間管另一端通過第二濾網層與輸出管一端連通,輸出管另一端設置有第三濾網層,中間管的內壁設置有加注環,加注環包括空心的加注環體和均勻分布在加注環體上的加注嘴,加注環體通過第一控制閥與第一加藥盒連接,加注環體還通過第二控制閥與第二加藥盒連接,輸出管內設置有噴氣環,噴氣環包括空心的噴氣環體和均勻分布在噴氣環體上的圓柱形的噴氣嘴,噴氣環體與充氣泵連通,噴氣嘴的軸線與噴氣環體的交點在噴氣環體上的切線與噴氣嘴的軸線呈10~80度夾角。
如上所述的輸出管內設置有生物填料。
本實用新型相對于現有技術具有以下有益效果:
1、結構簡單,使用方便;
2、可以實時測量排放污水的酸堿度,對緊急出現的酸堿度超標的情況進行應急處理;
3、具有一定的生物膜降解功能。



