申請日2016.07.20
公開(公告)日2016.12.21
IPC分類號C02F9/14; C02F103/20
摘要
本實用新型公開了一種微型養殖污水處理設備,包括厭氧反應器和組合反應器,厭氧反應器中上部設有組合填料Ⅰ,厭氧反應器上部設有溢流堰,厭氧反應器頂部設有沼氣貯存區,沼氣貯存區上設有出氣口,厭氧反應器底部設有布水管,布水管端部設有反射錐,厭氧反應器的中上部通過回流泵與布水管相連接;組合反應器包括缺氧池和好氧池,缺氧池內設有組合填料Ⅱ,好氧池內設有曝氣系統,曝氣系統與風機相連接,缺氧池的底部通過提升泵與好氧池的頂部相連接;溢流堰的出水口與缺氧池下部相連接。本實用新型的工藝流程簡單,操作管理方便,占地面積小,工程投資小,具有耐腐蝕、抗老化,最大限度地實現了設備的集成,無污染、無異味,減少了二次污染。
權利要求書
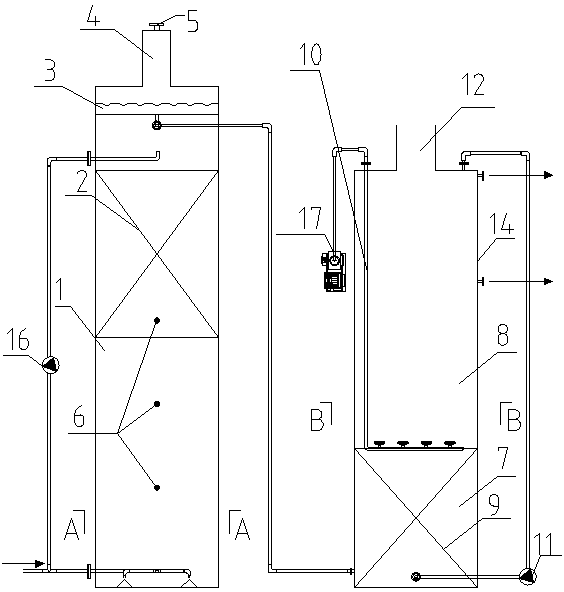
1.一種微型養殖污水處理設備,包括厭氧反應器(1)和組合反應器(14),其特征在于:所述厭氧反應器(1)中上部設有組合填料Ⅰ(2),厭氧反應器(1)上部設有溢流堰(3),厭氧反應器(1)頂部設有沼氣貯存區(4),沼氣貯存區(4)上設有出氣口(5),厭氧反應器(1)底部設有布水管(15),布水管(15)端部設有反射錐(13),厭氧反應器(1)的中上部通過回流泵(16)與布水管(15)相連接;所述組合反應器(14)包括缺氧池(7)和好氧池(8),缺氧池(7)內設有組合填料Ⅱ(9),好氧池(8)內設有曝氣系統(10),曝氣系統(10)與風機(17)相連接,缺氧池(7)的底部通過提升泵(11)與好氧池(8)的頂部相連接;所述溢流堰(3)的出水口與缺氧池(7)下部相連接。
2.根據權利要求1所述的微型養殖污水處理設備,其特征在于,所述厭氧反應器(1)為密閉箱體,組合反應器(14)頂部設有檢查井(12),組合反應器(14)為半密閉箱體;所述厭氧反應器(1)和組合反應器(14)通過管道串聯連接,好氧池(8)和缺氧池(7)為相互連通的兩個箱體,好氧池(8)位于缺氧池(7)的上部。
3.根據權利要求2所述的微型養殖污水處理設備,其特征在于,所述溢流堰(3)下方設有出水口,出水口連接出水管,溢流堰(3)與組合填料Ⅰ(2)之間設有間距。
4.根據權利要求1所述的微型養殖污水處理設備,其特征在于,所述厭氧反應器(1)外部1.8m、3.3m和4.8m高處均設有取樣口(6)。
5.根據權利要求2所述的微型養殖污水處理設備,其特征在于,所述布水管(5)包括相互連通的污水管道,布水管(5)兩端均設有反射錐(13);所述曝氣系統(10)包括相互連通的氣體管道,氣體管道與風機(17)相連接。
6.根據權利要求2所述的微型養殖污水處理設備,其特征在于,所述回流泵(16)、風機(17)、提升泵(11)均是間歇運行的、數量均設置一臺,回流泵(16)、風機(17)、提升泵(11)安置于厭氧反應器(1)和組合反應器(14)周邊地面上。
說明書
一種微型養殖污水處理設備
技術領域
本實用新型涉及污水處理的技術領域,具體涉及一種微型養殖污水處理設備,可處理含重金屬、殘留獸藥和大量病原體的高濃度有機廢水。
背景技術
隨著我國農業結構的調整和農業產業化的推進,規模化、集約化的畜禽養殖業得以迅猛發展,成為我國農業農村經濟的重要組成部分,但畜禽養殖業大力發展所帶來的環境污染問題也日益嚴重,不僅影響經濟發展,而且還危機生態安全,已經成為人們普遍關注的社會問題。養殖廢水富含大量病原體,屬高濃度有機廢水,直接排放進入水體或存放地點不合適受雨水沖洗進入水體,將造成地表水或地下水水質的嚴重惡化。由于養殖廢水淋溶性較強,易通過地表徑流和滲濾進入地下水層污染地下水,對地下水造成嚴重污染。
國內外對規模化畜禽場糞水的處理方法主要有綜合利用和處理達標排放兩大類。綜合利用是生物質能多層次利用、建設生態農業和保證農業可持續發展的好途徑。但是,目前由于我國畜禽場飼養管理方式落后,加上綜合利用前厭氧處理不到位,常使畜禽糞水在綜合利用的過程中產生許多問題,如廢水產生量大、成分復雜,處理后污染物濃度仍很高、所用稀釋水量多和受季節灌溉影響等。對于處理達標排放來講,雖然國內外所用的工藝流程大致相同,即固液分離-厭氧消化-好氧處理。但是,對于我國處于微利經營的養殖行業來講,建設該類糞污處理設施所需的投資太大、運行費用過高。隨著對出水水質和處理效率要求的提高以及處理費用、能耗的限制,根據傳統經驗、規范來設計和管理污水處理廠的舊模式已經無法滿足各類國家標準及規范。因此,探尋設施投資少、運行費用低和處理高效的養殖業糞污處理方法,已成為解決養殖業污染的關鍵所在。
實用新型內容
為了解決上述技術問題,本實用新型提供了一種微型養殖污水處理設備,反應器結構簡單、系統抗沖擊性強、投資少、運行費用低,自動化程度高、管理方便、操作方便、占地面積小,可以實現全自動運行管理。
為了達到上述目的,本實用新型的技術方案是:一種微型養殖污水處理設備,包括厭氧反應器和組合反應器,所述厭氧反應器中上部設有組合填料Ⅰ,厭氧反應器上部設有溢流堰,厭氧反應器頂部設有沼氣貯存區,沼氣貯存區上設有出氣口,厭氧反應器底部設有布水管,布水管端部設有反射錐,厭氧反應器的中上部通過回流泵與布水管相連接;所述組合反應器包括缺氧池和好氧池,缺氧池內設有組合填料Ⅱ,好氧池內設有曝氣系統,曝氣系統與風機相連接,缺氧池的底部通過提升泵與好氧池的頂部相連接;所述溢流堰的出水口與缺氧池下部相連接。
所述厭氧反應器為密閉箱體,組合反應器頂部設有檢查井,組合反應器為半密閉箱體;所述厭氧反應器和組合反應器通過管道串聯連接,好氧池和缺氧池為相互連通的兩個箱體,好氧池位于缺氧池的上部。
所述溢流堰下方設有出水口,出水口連接出水管,溢流堰與組合填料Ⅰ之間設有間距。
所述厭氧反應器外部1.8m、3.3m和4.8m高處均設有取樣口。
所述布水管包括相互連通的污水管道,布水管兩端均設有反射錐;所述曝氣系統包括相互連通的氣體管道,氣體管道與風機相連接。
所述回流泵、風機、提升泵均是間歇運行的、數量均設置一臺,回流泵、風機、提升泵安置于厭氧反應器和組合反應器周邊地面上。
本實用新型把厭氧反應器與組合反應器相結合,厭氧反應器內部用組合填料代替三相分離器,組合填料可以防止污泥的流失,使水氣膜得到充分交換,使水中有機物得到高效處理,且投資成本小,施工簡單;組合反應器分為缺氧池和好氧池,缺氧池設組合填料,增加缺氧池污泥量,提高缺氧池的處理效果,缺氧池污水經提升泵從好氧池頂部進水,可用于消除好氧池泡沫,好氧池采用SBR工藝,進水、反應、沉淀、出水都在一個設有曝氣系統的反應池內進行,混合液始終留在池中,從而不需另外設沉淀池,好氧池的硝化液可自動進入缺氧區,可自動實現硝化液回流。同時,本實用新型的工藝流程簡單,操作管理方便,占地面積小,工程投資小,設備采用碳鋼、玻璃鋼、不銹鋼等防腐結構,具有耐腐蝕、抗老化等優良特征,最大限度地實現了設備的集成,無污染、無異味,減少二次污染;整個設備配有自動控制單元,運行安全可靠,平時一般不需要專人管理,只需適時地對設備進行維護和保養,管理費用小。



