申請日2016.07.20
公開(公告)日2016.12.21
IPC分類號E03F5/04; E03F5/10; E03F5/14; E03F5/26; E03F5/18
摘要
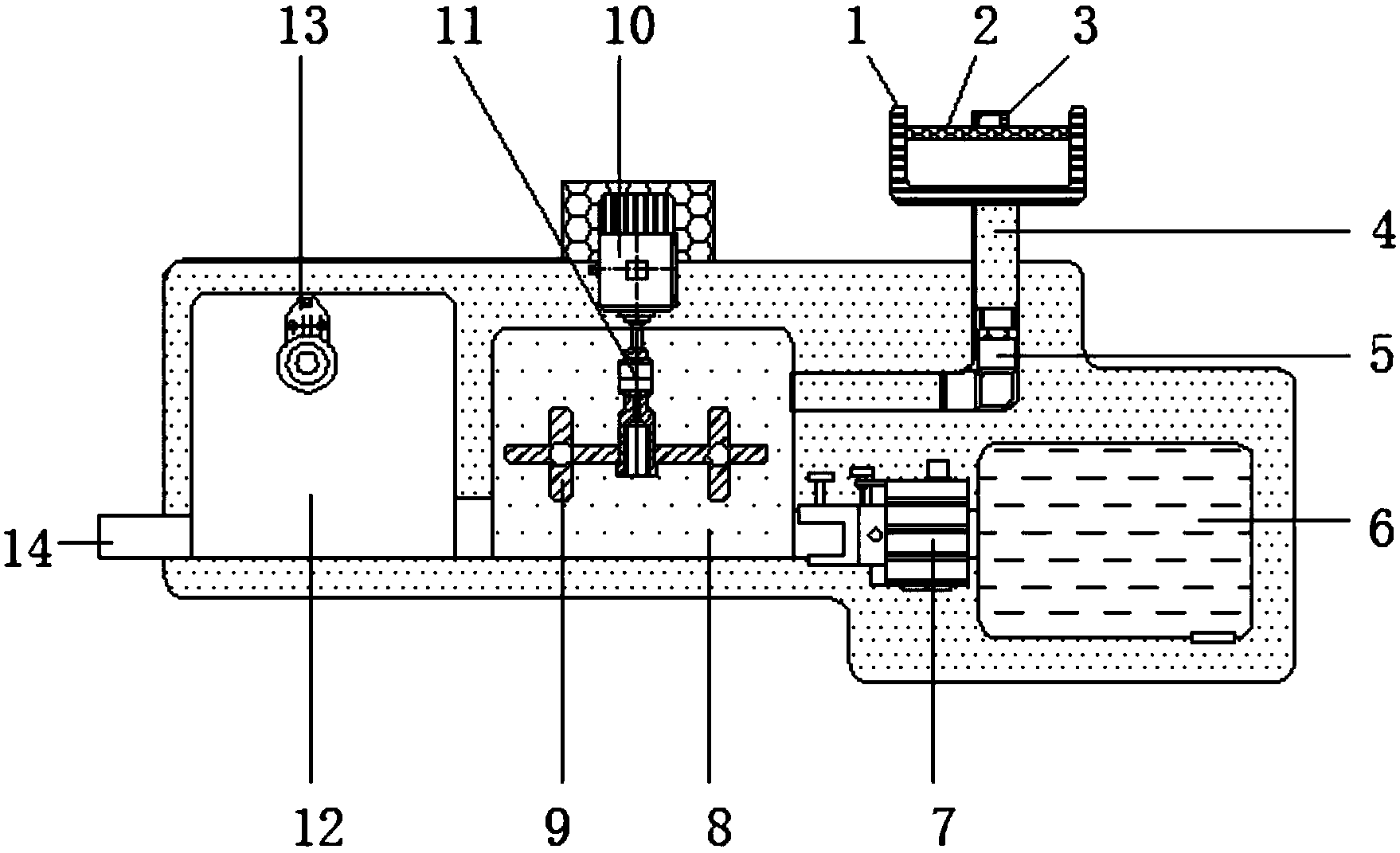
本實用新型公開了一種道路建設用的廢水引流裝置,包括引流口、過濾網、提手、引流管、電動機、旋轉軸、消毒室、消毒裝置和排水口,所述引流口的內側安裝有過濾網,且過濾網的頂端鑲嵌有提手,所述引流口的底端和引流管相連接,且引流管的內側固定有吸取器,所述旋轉軸的頂側安置有電動機,所述分離室的一端設置有消毒室,且消毒室的內壁鑲嵌有消毒裝置,所述消毒室的一端設置有排水口。該道路建設用的廢水引流裝置設置有過濾網,能夠在引流廢水時過濾較大的雜質,其吸取裝置的設置使引流更為流暢,并且攪拌葉可以使水和泥污得到分散以便泥污泵抽取泥污,其消毒裝置保證了排出的廢水對土壤不會產生污染,大大提高了引流的環保性。
權利要求書
1.一種道路建設用的廢水引流裝置,包括引流口(1)、過濾網(2)、提手(3)、引流管(4)、吸取器(5)、泥污池(6)、泥污泵(7)、分離室(8)、攪拌葉(9)、電動機(10)、旋轉軸(11)、消毒室(12)、消毒裝置(13)和排水口(14),其特征在于:所述引流口(1)的內側安裝有過濾網(2),且過濾網(2)的頂端鑲嵌有提手(3),所述引流口(1)的底端和引流管(4)相連接,且引流管(4)的內側固定有吸取器(5),所述引流管(4)的一端設置有泥污池(6),且泥污池(6)的入口固定有泥污泵(7),所述泥污泵(7)的另一端和分離室(8)相連接,且分離室(8)的內部安裝有攪拌葉(9),且攪拌葉(9)的頂端和旋轉軸(11)相連接,所述旋轉軸(11)的頂側安置有電動機(10),所述分離室(8)的一端設置有消毒室(12),且消毒室(12)的內壁鑲嵌有消毒裝置(13),所述消毒室(12)的一端設置有排水口(14)。
2.根據權利要求1所述的一種道路建設用的廢水引流裝置,其特征在于:所述泥污池(6)的底端設置有泥污出口。
3.根據權利要求1所述的一種道路建設用的廢水引流裝置,其特征在于:所述攪拌葉(9)為縱向十字形狀,且其表層設置有導流孔。
4.根據權利要求1所述的一種道路建設用的廢水引流裝置,其特征在于:所述電動機(10)外側鑲嵌有防護罩,且防護罩上設置有散熱口。
5.根據權利要求1所述的一種道路建設用的廢水引流裝置,其特征在于:所述排水口(14)內側安裝有出水閥門。
說明書
一種道路建設用的廢水引流裝置
技術領域
本實用新型涉及道路廢水引流技術領域,具體為一種道路建設用的廢水引流裝置。
背景技術
隨著交通事業的不斷發展,在我國,道路建設的規模越來越大,其中,在道路建設的過程中會產生大量的建筑廢水,目前,所采用的普遍方法是,建設一條引流溝用于將廢水排放出去,但是現有的引流溝比較普通,人們直接采用一條管道或在地面開挖一條溝渠對廢水直接排放,然而,由于道路建設產生的廢水,不僅會含有大量垃圾,而且廢水中含有大量污泥,直接排放的話,則會對環境產生大量的污染,而且排放的過程中,容易發生堵塞,從而給排水帶來很大的麻煩,為此,我們提出一種排水更簡便且無污染的廢水引流裝置。
實用新型內容
本實用新型的目的在于提供一種道路建設用的廢水引流裝置,以解決上述背景技術中提出的容易造成環境污染和排水麻煩的問題。
為實現上述目的,本實用新型提供如下技術方案:一種道路建設用的廢水引流裝置,包括引流口、過濾網、提手、引流管、吸取器、泥污池、泥污泵、分離室、攪拌葉、電動機、旋轉軸、消毒室、消毒裝置和排水口,所述引流口的內側安裝有過濾網,且過濾網的頂端鑲嵌有提手,所述引流口的底端和引流管相連接,且引流管的內側固定有吸取器,所述引流管的一端設置有泥污池,且泥污池的入口固定有泥污泵,所述泥污泵的另一端和分離室相連接,且分離室的內部安裝有攪拌葉,且攪拌葉的頂端和旋轉軸相連接,所述旋轉軸的頂側安置有電動機,所述分離室的一端設置有消毒室,且消毒室的內壁鑲嵌有消毒裝置,所述消毒室的一端設置有排水口。
優選的,所述泥污池的底端設置有泥污出口。
優選的,所述攪拌葉為縱向十字形狀,且其表層設置有導流孔。
優選的,所述電動機外側鑲嵌有防護罩,且防護罩上設置有散熱口。
優選的,所述排水口內側安裝有出水閥門。
與現有技術相比,本實用新型的有益效果是:該道路建設用的廢水引流裝置設置有過濾網,能夠在引流廢水時過濾較大的雜質,并且過濾網上安裝有提手,能夠方便的取出過濾網進行清理,其吸取裝置的設置使引流更為流暢,并且攪拌葉可以使水和泥污得到分散以便泥污泵抽取泥污,其消毒裝置保證了排出的廢水對土壤不會產生污染,大大提高了引流的環保性。



