申請日2016.05.30
公開(公告)日2016.08.17
IPC分類號C02F9/14
摘要
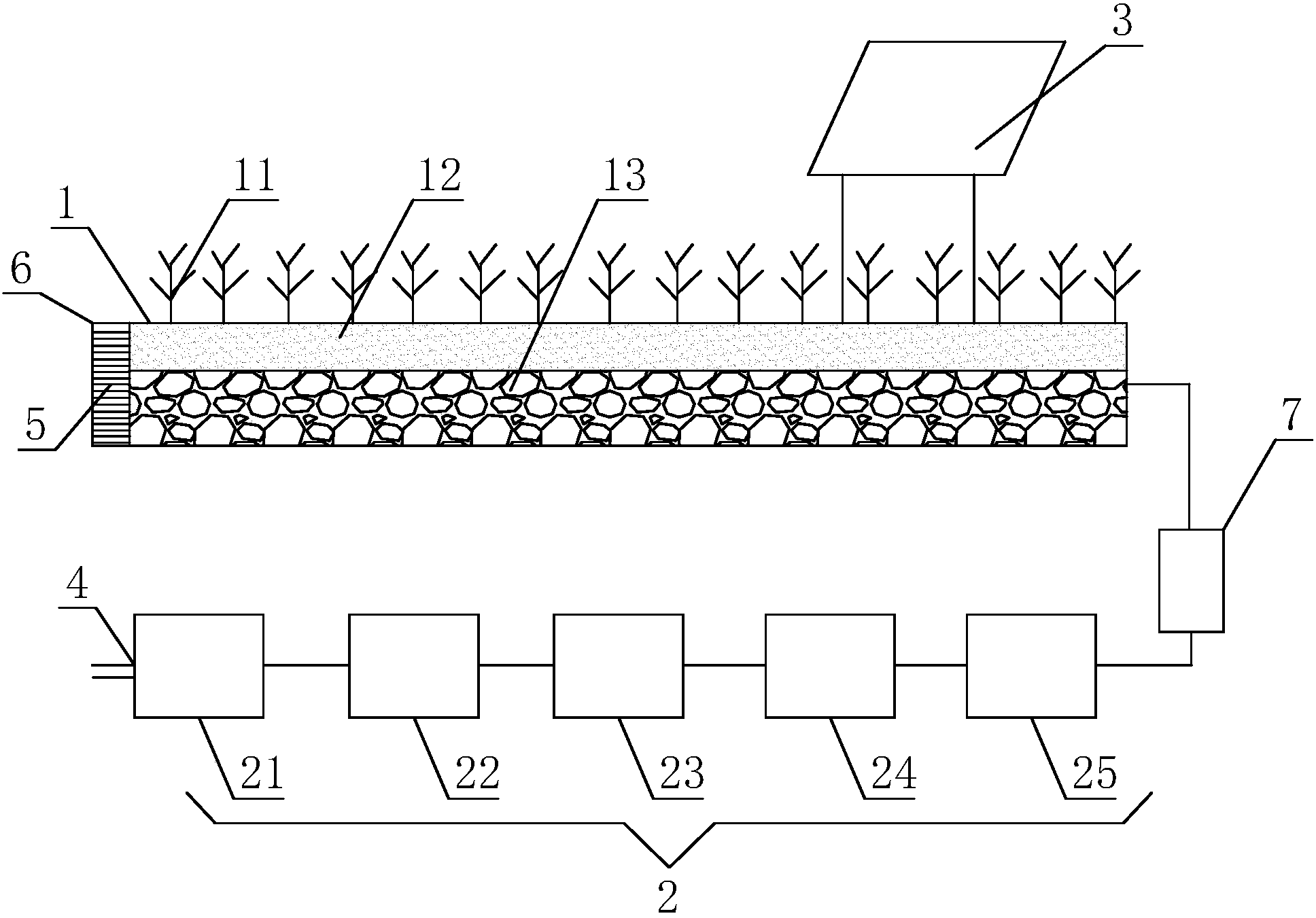
本發明涉及一種太陽能微動力人工濕地農村污水處理系統及其使用方法,包括:人工濕地,人工濕地的一側設置有出水口,植物層種植有除磷植物;污水處理裝置,設置于人工濕地下方,與人工濕地的占地重疊,太陽能光伏控制系統,呈點狀樹立分布在人工濕地上,用于驅動污水處理裝置的運轉。采用立體布局:將污水處理裝置采用地埋式設置在人工濕地下方,太陽能光伏控制系統呈點狀豎立分布在人工濕地,相比其他工藝節約占地面積;在人工濕地中種植除磷植物,本發明在使用污水處理裝置良好去除COD、氨氮、SS等污染因子的同時,通過人工濕地的除磷作用保證總磷的消減,除磷率達到60%以上,采用太陽能光伏控制系統為污水處理裝置提供能源。
摘要附圖
權利要求書
1.一種太陽能微動力人工濕地農村污水處理系統,其特征在于,包括:
人工濕地,所述人工濕地從上至下依次為植物層、砂土層和礫石層,所述人工濕地的一側設置有出水口,所述植物層種植有除磷植物;
污水處理裝置,設置于所述人工濕地下方,與所述人工濕地的占地重疊,所述污水處理裝置包括依次連接的格柵池、第一接觸氧化池、缺氧池、第二接觸氧化池、沉淀池;所述格柵池處設置有進水口;所述沉淀池和所述人工濕地之間設置有提升裝置;所述第一接觸氧化池和所述第二接觸氧化池中均設置有曝氣系統;所述第一接觸氧化池、缺氧池和所述第二接觸氧化池中均設置有生物膜,所述生物膜中含有去除BOD、氨氮和總磷等的細菌菌落;
太陽能光伏控制系統,呈點狀樹立分布在所述人工濕地上,用于驅動所述污水處理裝置的運轉。
2.如權利要求1所述的太陽能微動力人工濕地農村污水處理系統,其特征在于:所述第一接觸氧化池、所述缺氧池和所述第二接觸氧化池中設置有填料,所述填料用于負載所述生物膜,所述填料包括懸浮型填料和懸掛型填料。
3.如權利要求1所述的太陽能微動力人工濕地農村污水處理系統,其特征在于:所述第一接觸氧化池、所述缺氧池和所述第二接觸氧化池中設置有溶氧儀用于監測氧含量。
4.如權利要求1所述的太陽能微動力人工濕地農村污水處理系統,其特征在于:所述進水口和所述出水口處設置有流量計,用于分別計量進水和出水的容量。
5.如權利要求1所述的太陽能微動力人工濕地農村污水處理系統,其特征在于:所述除磷植物為茭白、美人蕉、風車草和薏苡中的一種或者多種的組合。
6.如權利要求1所述的太陽能微動力人工濕地農村污水處理系統,其特征在于:所述出水口處設置有多孔墻,用于使出水均勻。
7.一種如權利要求1~6所述的太陽能微動力人工濕地農村污水處理系統的使用方法,其特征在于,包括以下步驟:
(1)總水量為Q的污水過格柵池后,0.5Q的污水直接流入第一接觸氧化池,0.5Q的污水直接流入缺氧池;
(2)流入第一接觸氧化池的污水經過4~6個小時的吸附氧化作用后流入缺氧池;
(3)流入缺氧池的污水經過4~6個小時的反硝化作用后流入第二接觸氧化池中,流入第二接觸氧化池中的水按經過6~10個小時的吸附氧化作用后0.8Q~2Q回流至缺氧池中,其余部分流入沉淀池;
(4)流入沉淀池的污水經4~6個小時的沉淀,沉淀后的污泥從沉淀池按0.2Q~1.0Q回流至第一接觸氧化池,沉淀后的上層濾液通過提升裝置泵入人工濕地;
(5)流入人工濕地的濾液經過人工濕地的除磷作用之后被排出。
8.如權利要求7所述的太陽能微動力人工濕地農村污水處理系統的使用方法,其特征在于:在步驟(1)中,所述第一接觸氧化池的有機負荷為0.3~1.0kgBOD/(m3·d),氣水比為2~4:1,溶解氧含量為2~3mg/L。
9.如權利要求7所述的太陽能微動力人工濕地農村污水處理系統的使用方法,其特征在于:在步驟(2)中,所述缺氧池的有機負荷為0.1~0.5kgNOx-N/(m3·d),溶解氧含量0.2~0.5mg/L。
10.如權利要求7所述的太陽能微動力人工濕地農村污水處理系統的使用方法,其特征在于:在步驟(3)中,所述第二接觸氧化池的有機負荷為0.05~0.3kgBOD/(m3·d),氣水比為4~6:1,溶解氧含量為2~4mg/L。
說明書
太陽能微動力人工濕地農村污水處理系統及其使用方法
技術領域
本發明涉及污水處理領域,尤其涉及一種太陽能微動力人工濕地農村污水處理系統及其使用方法。
背景技術
農村污水處理存在運行費用高、水量小、水質復雜、分布分散、管理困難的特點。傳統污水處理工藝需要足夠的費用支撐裝置的正常運行,而費用在農村污水處理中往往存在到位不及時的問題;并且現在的污水處理對磷去除要求高,而現有污水處理技術除磷效果受工藝影響,多不適用農村污水處理模式。
發明內容
本發明提供了一種太陽能微動力人工濕地農村污水處理系統及其工藝,以解決上述技術問題。
為了達到上述目的,本發明的技術方案是這樣實現的:一種太陽能微動力人工濕地農村污水處理系統,包括:人工濕地,人工濕地從上至下依次為植物層、砂土層和礫石層,人工濕地的一側設置有出水口,植物層種植有除磷植物;污水處理裝置,設置于人工濕地下方,與人工濕地的占地重疊,污水處理裝置包括依次連接的格柵池、第一接觸氧化池、缺氧池、第二接觸氧化池、沉淀池;格柵池處設置有進水口;沉淀池和人工濕地之間設置有提升裝置;第一接觸氧化池和第二接觸氧化池中均設置有曝氣系統;第一接觸氧化池、缺氧池和第二接觸氧化池中均設置有生物膜,生物膜中含有去除BOD、氨氮和總磷等的細菌菌落;太陽能光伏控制系統,呈點狀樹立分布在人工濕地上,用于驅動污水處理裝置的運轉。
進一步的,第一接觸氧化池、缺氧池和第二接觸氧化池中設置有填料,填料用于負載生物膜,填料包括懸浮型填料和懸掛型填料。
進一步的,第一接觸氧化池、缺氧池和第二接觸氧化池中設置有溶氧儀用于監測氧含量。
進一步的,進水口和出水口處設置有流量計,用于分別計量進水和出水的容量。
進一步的,除磷植物為茭白、美人蕉、風車草和薏苡中的一種或者多種的組合。
進一步的,出水口處設置有多孔墻,用于使出水均勻。
一種上述的太陽能微動力人工濕地農村污水處理系統的使用方法,包括以下步驟:
(1)總水量為Q的污水過格柵池后,0.5Q的污水直接流入第一接觸氧化池,0.5Q的污水直接流入缺氧池;
(2)流入第一接觸氧化池的污水經過4~6個小時的吸附氧化作用后流入缺氧池;
(3)流入缺氧池的污水經過4~6個小時的反硝化作用后流入第二接觸氧化池中,流入第二接觸氧化池中的水按經過6~10個小時的吸附氧化作用后0.8Q~2Q回流至缺氧池中,其余部分流入沉淀池;
(4)流入沉淀池的污水經4~6個小時的沉淀,沉淀后的污泥從沉淀池按0.2Q~1.0Q回流至第一接觸氧化池,沉淀后的上層濾液通過提升裝置泵入人工濕地;
(5)流入人工濕地的濾液經過人工濕地的除磷作用之后被排出。
進一步的,在步驟(1)中,第一接觸氧化池的有機負荷為0.3~1.0kgBOD/(m3·d),氣水比為2~4:1,溶解氧含量為2~3mg/L。
進一步的,在步驟(2)中,缺氧池的有機負荷為0.1~0.5kgNOx-N/(m3·d),溶解氧含量0.2~0.5mg/L。
進一步的,在步驟(3)中,第二接觸氧化池的有機負荷為0.05~0.3kgBOD/(m3·d),氣水比為4~6:1,溶解氧含量為2~4mg/L。
與現有技術相比,本發明的優點在于:本發明太陽能微動力人工濕地農村污水處理系統采用立體布局:將污水處理裝置采用地埋式設置在人工濕地下方,地表為人工濕地,做園林式設計,太陽能光伏控制系統呈點狀豎立分布在人工濕地,相比其他工藝節約占地面積;在人工濕地中種植除磷植物,污水處理裝置與人工濕地之間通過提升裝置連通,本發明在使用污水處理裝置良好去除COD、氨氮、SS等污染因子的同時,通過人工濕地的除磷作用保證總磷的消減,除磷率達到60%以上,采用太陽能光伏控制系統為污水處理裝置提供能源,采用特有的工藝,減少了設備運行的能耗,極大的減少工藝運行費用


