申請日2016.05.30
公開(公告)日2016.08.24
IPC分類號C02F9/14
摘要
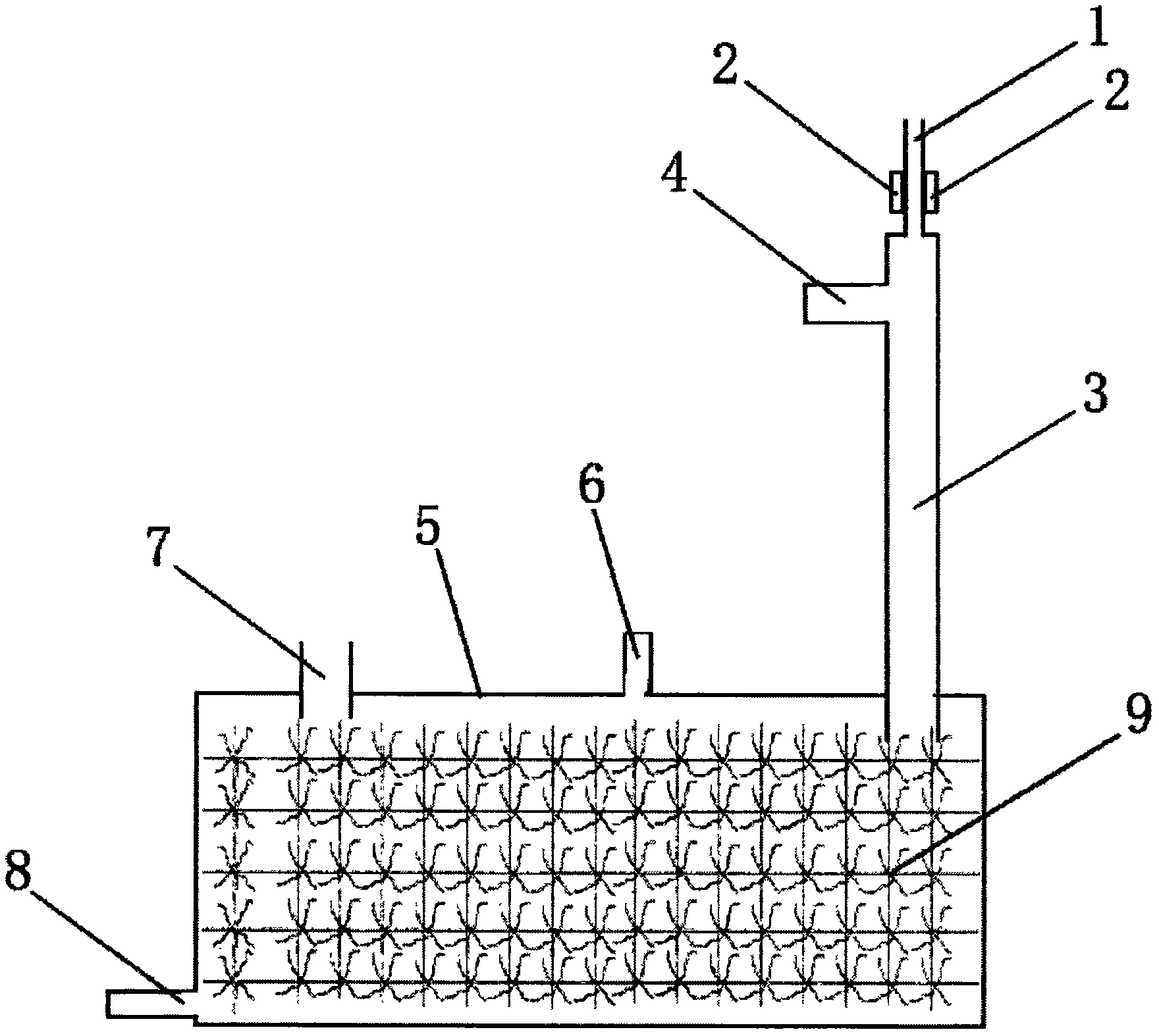
本發明提供一種河湖水處理裝置,其特征在于:包括進水管、磁水器、水氣混合管、進氣管、箱體、排氣口、排水管、排污口、生物填料,所述進水管設有磁水器,所述進水管連接水氣混合管,所述進氣管連接在水氣混合管的上端,所述水氣混合管內徑大于進水管內徑,所述箱體連通水氣混合管、排氣口、排水管、排污口,所述生物填料均勻分布在箱體內。本發明結構簡單,使用方便,可實現過水增氧,為箱體生物填料上的生物菌提供爆氣,不用耗費電力等能源。
摘要附圖
權利要求書
1.一種河湖水處理裝置,其特征在于:包括進水管、磁水器、水氣混合管、進氣管、箱體、排氣口、排水管、排污口、生物填料,所述進水管設有磁水器,所述進水管連接水氣混合管,所述進氣管連接在水氣混合管的上端,所述水氣混合管內徑大于進水管內徑,所述箱體連通水氣混合管、排氣口、排水管、排污口,所述生物填料均勻分布在箱體內。
2.如權利要求1所述的一種河湖水處理裝置,其特征在于:所述磁水器為兩塊強磁磁鐵,兩塊磁鐵以正負極方向平行按裝在進水管的兩側。
3.如權利要求1所述的一種河湖水處理裝置,其特征在于:所述進水管下出口至少要高于箱體40厘米。
4.如權利要求1所述的一種河湖水處理裝置,其特征在于:所述進水管內徑為水氣混合管內徑的30%-70%。
5.如權利要求1所述的一種河湖水處理裝置,其特征在于:所述箱體連通水氣混合管、排氣口、排水管、排污口。
說明書
一種河湖水處理裝置
技術領域
本發明涉及一種河湖水處理裝置。
背景技術
目前江河湖泊環境污染情況日益加重,而且時有突發性污染事件發生,如生活污水直排、藍藻爆發等。在治理環境污染和處理生活污水直排事件時急需在事發水域采取有效措施,現有的裝置通常利用能源作為動力讓水在原池中曝氣或水泵提水循環,一是浪費能源,二是曝氣效果不好,三是只對水體增氧沒有對水中污染物進行有效降解。
發明內容
本發明要解決的問題是現有的曝氣裝置和水泵提水循環不能對水體進行有效處理,一是浪費能源,二是曝氣效果不好,三是只對水體增氧沒有對水中污染物進行有效降解。
為解決上述技術問題,本發明采用的技術方案是:
一種河湖水處理裝置,其特征在于:包括進水管、磁水器、水氣混合管、進氣管、箱體、排氣口、排水管、排污口、生物填料,所述進水管設有磁水器,所述進水管連接水氣混合管,所述進氣管連接在水氣混合管的上端,所述水氣混合管內徑大于進水管內徑,所述箱體連通水氣混合管、排氣口、排水管、排污口,所述生物填料均勻分布在箱體內。
進一步的,所述進水管設有磁水器,所述磁水器為兩塊強磁磁鐵以正負極方向平行按裝在進水管的兩側。所述進水管下出口至少要高于箱體40厘米,所述進水管內徑為水氣混合管內徑的30%-70%。
進一步的,所述進氣管連接在水氣混合管的上端,進氣管內徑要大于進水管的內徑。
進一步的,所述箱體連通水氣混合管、排氣口、排水管、排污口,排水管內徑要大于水氣混合管的內徑。
進一步的,所述生物填料均勻分布在箱體內。
本發明具有的優點和積極效果是:
1、本發明將河湖污水通過采集泵或攔河壩收集進入處理裝置,污水經過磁水器被分解為小分子水使之提高溶解度,然后流入水氣混合管,在重力的作用下將進氣管進入的氣體帶入箱體,利用空氣與水體充分接觸來達到爆氣增氧的目的,同時水體和空氣又與生物填料表面生長的生物膜接處,達到水體增氧和生物降解污染物的兩種效果,從而改善水體指標,提高環境質量。
2、本發明利用磁水器磁化污水,使污水由大分子水轉化為小分子水,提高水體溶氧能力,使曝氣操作更加快捷簡單。
3、本發明利用生物填料表面生長的生物膜降解水中污染物,提高水體質量,使水體處理更生態。
4、本發明均采用結構設計合理,自動化操作簡單方便,降低了使用成本。


