申請日2016.05.07
公開(公告)日2016.11.30
IPC分類號B01D29/35
摘要
本實用新型公開了一種液壓式污水除雜裝置,包括機架,所述機架包括底座、支撐桿和連接座,所述連接座上設有液壓缸座,所述液壓缸座上安裝液壓缸,所述液壓缸的活動桿的末端與連接板固定,所述連接板的下方設有緩沖器,所述緩沖器與壓板連接桿連接,壓板連接桿的下方安裝壓板,所述壓板可在分離箱內上下運動,所述分離箱的側壁上開有分離孔,分離箱的外部設有收納箱,所述收納箱的底部設有流出管。本實用新型的自動化程度高,能大大提高污水處理效果。
權利要求書
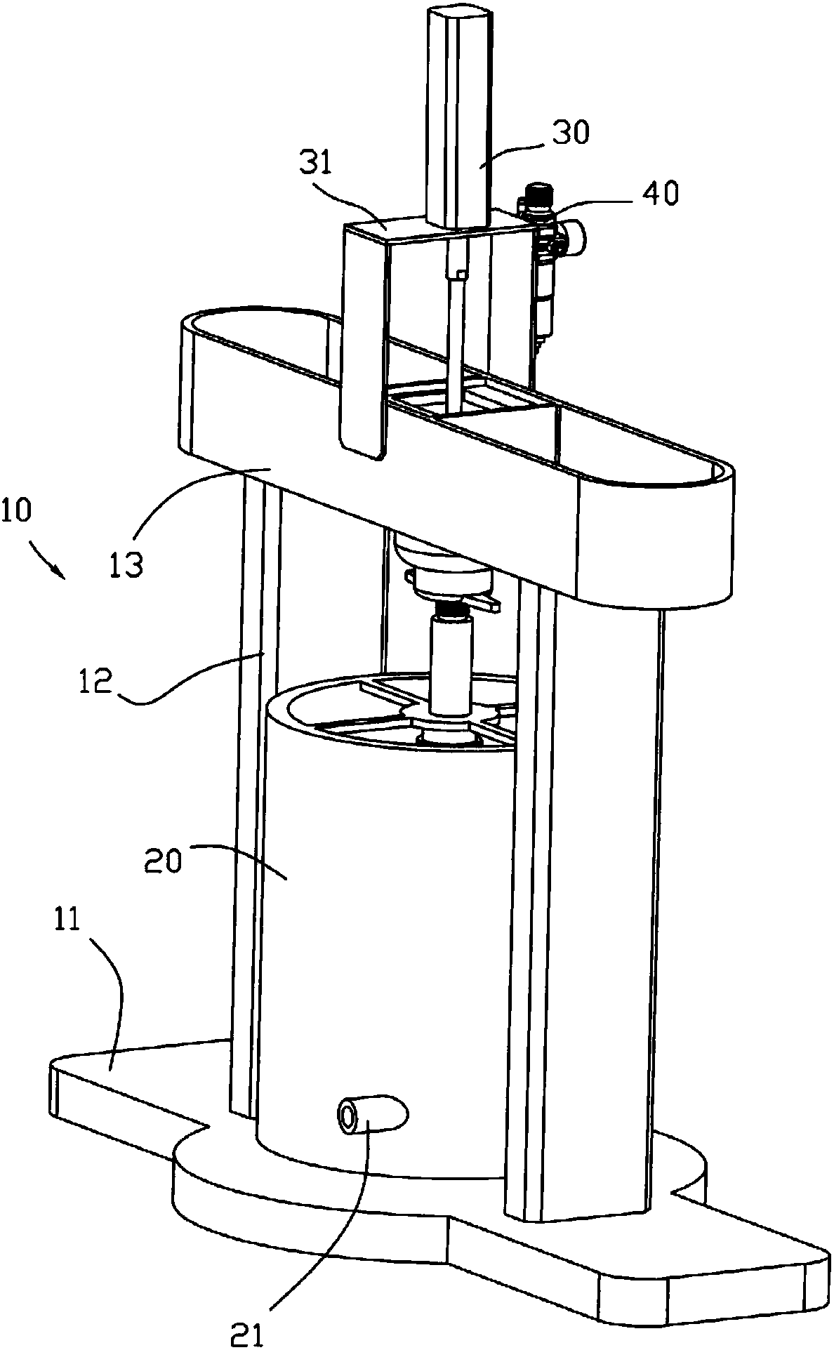
1.一種液壓式污水除雜裝置,包括機架(10),所述機架(10)包括底座(11)、支撐桿(12)和連接座(13),其特征在于:所述連接座(13)上設有液壓缸座(31),所述液壓缸座(31)上安裝液壓缸(30),所述液壓缸(30)的活動桿的末端與連接板(50)固定,所述連接板(50)的下方設有緩沖器(51),所述緩沖器(51)與壓板連接桿(60)連接,壓板連接桿(60)的下方安裝壓板(70),所述壓板(70)可在分離箱(80)內上下運動,所述分離箱(80)的側壁上開有分離孔(800),分離箱(80)的外部設有收納箱(20),所述收納箱(20)的底部設有流出管(21)。
2.如權利要求1所述的一種液壓式污水除雜裝置,其特征在于:所述液壓缸(30)的側部設有電磁閥(40),所述電磁閥(40)安裝在液壓缸座(31)上。
3.如權利要求1所述的一種液壓式污水除雜裝置,其特征在于:所述緩沖器(51)與壓板連接桿(60)之間設有彈簧(52),所述彈簧(52)套在壓板連接桿(60)上。
4.如權利要求1所述的一種液壓式污水除雜裝置,其特征在于:所述收納箱(20)的頂部設有十字形架(22),所述十字形架(22)套在壓板連接桿(60)上。
5.如權利要求1所述的一種液壓式污水除雜裝置,其特征在于:所述壓板(70)的直徑尺寸與分離箱(80)的內壁直徑尺寸一致。
說明書
一種液壓式污水除雜裝置
技術領域:
本實用新型涉及污水處理技術領域,具體而言,涉及一種液壓式污水除雜裝置。
背景技術:
隨著人們對環境的重視程度越來越高,政府對企業排放出來的污水的標準也越來越嚴格,對污水的處理技術的要求也越來越高。污水被處理的時候,首先要進過除雜凈化處理,實用新型CN201120449627.7一種皮革生產中污水除雜裝置中介紹,包括一固定槽,固定槽內設有過濾槽,過濾槽內設有除雜機構,過濾槽一端連接有污水進水管,固定槽底部一端設有出水口,除雜機構包括轉軸、電機及連接于轉軸上的刷體,轉軸兩端通過軸承座安裝于固定槽的兩端,電機通過皮帶連接有減速器,減速器通過傳動鏈條連接一轉盤,轉盤連接于轉軸的一端,刷體至少設有一組,每組刷體至少包括兩個刷頭,刷頭通過連桿固定連接于轉軸上,刷頭的底邊與過濾槽相接觸。但是利用刷體和刷頭對污水的除雜效果并不明顯,還會致使刷頭堵塞,需要經常更換刷頭。
發明內容:
本實用新型的目的在于針對現有技術存在的不足之處而提供一種液壓式污水除雜裝置,其具有自動化程度高,污水處理效果好的特點。
為實現上述目的,本實用新型的具體解決方案如下:
一種液壓式污水除雜裝置,包括機架,所述機架包括底座、支撐桿和連接座, 所述連接座上設有液壓缸座,所述液壓缸座上安裝液壓缸,所述液壓缸的活動桿的末端與連接板固定,所述連接板的下方設有緩沖器,所述緩沖器與壓板連接桿連接,壓板連接桿的下方安裝壓板,所述壓板可在分離箱內上下運動,所述分離箱的側壁上開有分離孔,分離箱的外部設有收納箱,所述收納箱的底部設有流出管。
按上述技術方案,啟動液壓缸,液壓缸帶動連接板、緩沖器、壓板連接桿和壓板向下運動,分離箱內存在一定的壓力,壓板的向下運動可使此壓力作用于分離箱內的污水與雜質的混合物,雜質的體積較大不能通過分離孔被阻隔在分離箱內,污水通過分離孔到達收納箱之中,然后通過流出管排出。
作為對本實用新型中液壓缸控制方式的說明,所述液壓缸的側部設有電磁閥,所述電磁閥安裝在液壓缸座上。電磁閥用以控制液壓缸的驅動,液壓缸在電磁閥的控制下能更好平穩地運行。
作為對本實用新型中緩沖器與壓板連接桿之間連接方式的說明,所述緩沖器與壓板連接桿之間設有彈簧,所述彈簧套在壓板連接桿上。緩沖器和壓板連接桿之間通過彈簧連接,可以對壓板起到二次緩沖的作用,緩沖器其主要的緩沖作用,彈簧起到次要的緩沖作用。
作為對本實用新型中收納箱的說明,所述收納箱的頂部設有十字形架,所述十字形架套在壓板連接桿上。
作為對本實用新型中壓板與分離箱配合方式的說明,所述壓板的直徑尺寸與分離箱的內壁直徑尺寸一致。壓板的直徑尺寸與分離箱的內壁直徑尺寸一致,如此可保證壓板與分離箱是緊密貼合的,如此,可使分離箱內的壓力保持穩定,分離箱內壓力的存在是雜質與污水分離的先決條件。



