申請日2016.05.06
公開(公告)日2016.07.20
IPC分類號C02F3/02; C02F9/14
摘要
本發明涉及污水處理領域,具體而言,涉及一種地埋式污水處理系統,包括調節槽、生化槽和空壓機,所述調節槽內設有第一氣提泵,所述第一氣提泵的進料口靠近所述調節槽的底部,所述第一氣提泵的出料口與所述生化槽連通,所述第一氣提泵通過第一管路與所述空壓機相連,所述生化槽內設有第二氣提泵、出水氣提泵和曝氣器,所述第二氣提泵的出料口與所述調節槽連通,所述第二氣提泵通過第二管路與所述空壓機相連,所述出水氣提泵的出水口與生化槽的外部連通,所述曝氣器通過第四管路與所述空壓機相連。本發明還提供了一種污水處理方法。本發明能夠快速穩定的對污水進行凈化,同時動設備少,便于對系統進行安裝維護,能夠長時間穩定的運轉。
權利要求書
1.一種地埋式污水處理系統,其特征在于,包括調節槽、生化槽和空壓機,
所述調節槽內設有第一氣提泵,所述第一氣提泵的進料口靠近所述調節槽的底部,所述第一氣提泵的出料口與所述生化槽連通,所述第一氣提泵通過第一管路與所述空壓機相連,
所述生化槽內設有第二氣提泵、出水氣提泵和曝氣器,所述第二氣提泵的進料口靠近所述生化槽的底部,所述第二氣提泵的出料口與所述調節槽連通,所述第二氣提泵通過第二管路與所述空壓機相連,
所述出水氣提泵的進水口高于所述第二氣提泵的進料口,所述出水氣提泵的出水口與生化槽的外部連通,所述出水氣提泵通過第三管路與所述空壓機相連,
所述曝氣器低于所述第二氣提泵的進料口,所述曝氣器通過第四管路與所述空壓機相連。
2.根據權利要求1所述的地埋式污水處理系統,其特征在于,還包括控制箱、第一控制閥、第二控制閥、第三控制閥和第四控制閥,
所述控制箱分別與所述第一控制閥、所述第二控制閥、所述第三控制閥、所述第四控制閥和所述空壓機連接,用于控制第一管路通斷的第一控制閥設置在所述第一管路上,用于控制第二管路通斷的第二控制閥設置在所述第二管路上,用于控制第三管路通斷的第三控制閥設置在所述第三管路上,用于控制第四管路通斷的第四控制閥設置在所述第四管路上。
3.根據權利要求1所述的地埋式污水處理系統,其特征在于,還包括消毒槽,所述消毒槽的頂部與所述出水氣提泵的出水口連通。
4.根據權利要求3所述的地埋式污水處理系統,其特征在于,還包括除磷槽,所述除磷槽的底部與所述消毒槽的底部連通,所述除磷槽的頂部與除磷槽的外部連通。
5.根據權利要求1所述的地埋式污水處理系統,其特征在于,還包括格柵槽,所述格柵槽內設有用于過濾雜質的格柵,所述格柵槽的底部與所述調節槽的底部連通。
6.根據權利要求5所述的地埋式污水處理系統,其特征在于,還包括隔油槽,所述隔油槽內設有用于過濾油脂的隔板,所述隔油槽設置在所述格柵槽和所述調節槽之間,所述格柵槽的底部與所述隔油槽的底部連通,所述隔油槽的底部與所述調節槽的底部連通。
7.根據權利要求1所述的地埋式污水處理系統,其特征在于,所述調節槽的頂部與所述生化槽的頂部連通,所述生化槽的頂部與所述生化槽的外部連通。
8.根據權利要求1所述的地埋式污水處理系統,其特征在于,所述第一氣提泵、所述第二氣提泵、所述出水氣提泵為脈沖式氣提泵。
9.一種污水處理方法,其特征在于,包括,
將污水通入生化槽內,
利用曝氣器進行曝氣,
使污水在生化槽內靜置,
對生化槽內的污泥進行回流,
將處理后的污水從生化槽內排出。
10.根據權利要求9所述的污水處理方法,其特征在于,
在所述將污水通入之前包括,設計生化槽容積,所述設計生化槽容積包括:
首先計算污泥量,
生化池所需污泥量為MLSS,公式中,
Qmax——設計流量
Ns——生化槽處理污泥的設計負荷Ns=0.4kgBOD5/kgMLSS·d
Sr——去除的BOD5(kg/m3)
然后計算生化槽容積V,V=Vsi+VF+Vb,公式中,
Vsi——代謝反應所需污泥容積m3,Vsi=Vs
Vs=1.2·SVI·MLSS,其中,設污泥的SVI=90ml/g,
VF——反應池換水容積(進水容積)m3,
Vb——保護容積m3。
說明書
地埋式污水處理系統及污水處理方法
技術領域
本發明涉及污水處理領域,具體而言,涉及一種地埋式污水處理系統及污水處理方法。
背景技術
水是一種重要的資源,其用途大致有以下幾個方面:生活用水、工業用水、農業用水等。一般情況下,與人類生產和生活密切相關的這三種用水不能大規模取用海洋水,而只能取用淡水。但是,水環境中的淡水資源卻很少,僅占水體總量的2.53%,而目前能供人類直接使用的淡水資源僅占全部淡水資源的0.22%。加之越來越嚴重的環境污染,致使可以直接取用的優質淡水日益短缺,難以滿足人們生活和工農業生產的需要。因此保護和珍惜水資源,是整個社會義不容辭的責任。
為了減少人類活動對自然水體造成的污染,需要人類對使用過后的污水進行處理,污水處理的方法有多種,其中一種為SBR,SBR是序列間歇式活性污泥法(SequencingBatchReactorActivatedSludgeProcess)的簡稱,是一種按間歇曝氣方式來運行的活性污泥污水處理技術,又稱序批式活性污泥法。與傳統污水處理工藝不同,SBR技術采用對時間進行分段的操作方式替代對空間分段的操作方式,采用非穩定生化反應替代穩態生化反應,采用靜置沉淀替代傳統的動態沉淀。經過SBR工藝處理的廢水可以直接排放。產生的污泥經過濃縮、壓濾等處理后,可以作為堆肥產生一定的經濟效益。
但是SBR技術本身對于自動化控制程度和設備維護有較高的要求,使用困難和繁瑣,維護成本高。
發明內容
有鑒于此,本發明提供了一種地埋式污水處理系統及污水處理方法,以改善上述問題。
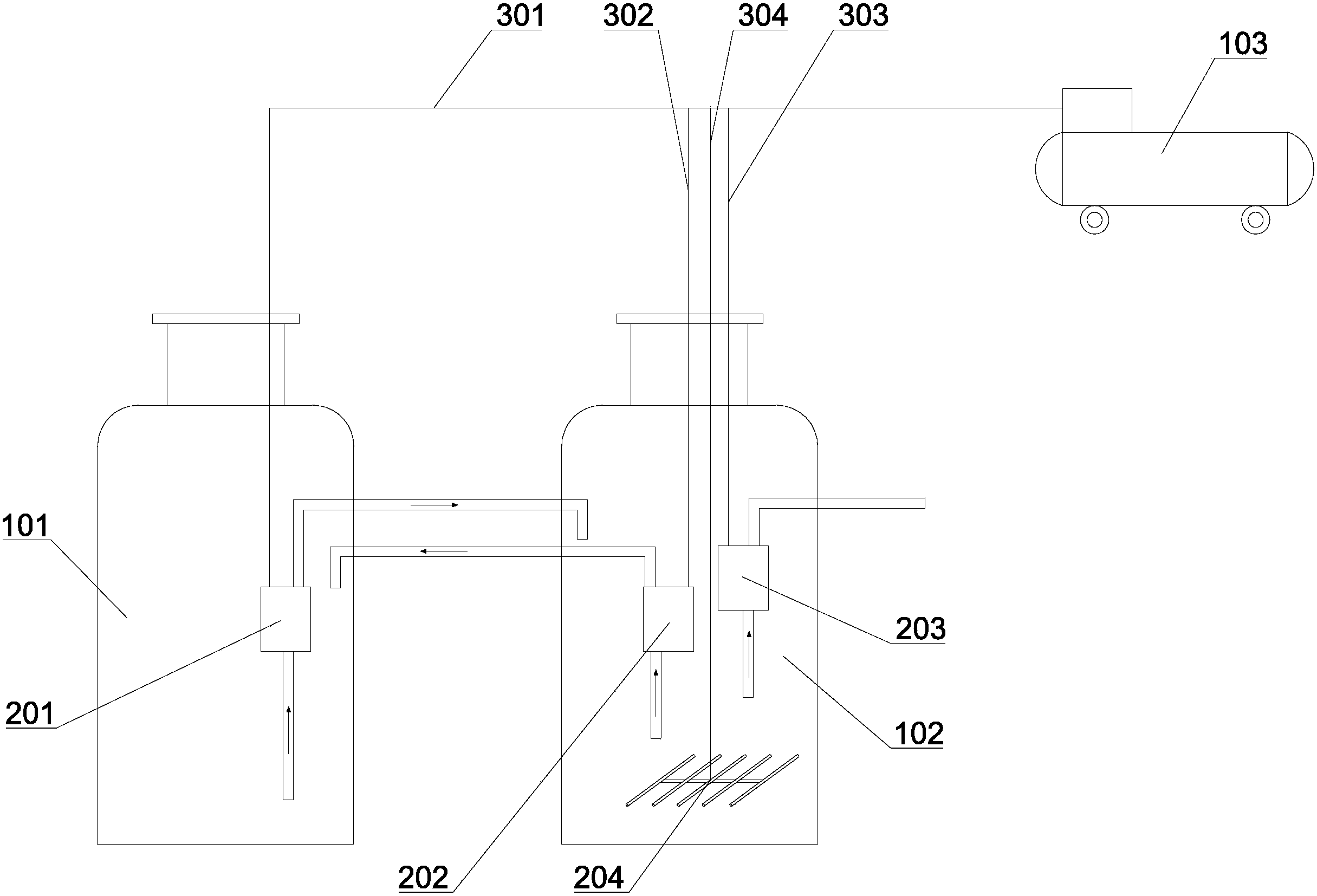
本發明提供的一種地埋式污水處理系統,包括調節槽、生化槽和空壓機。
所述調節槽內設有第一氣提泵,所述第一氣提泵的進料口靠近所述調節槽的底部,所述第一氣提泵的出料口與所述生化槽連通,所述第一氣提泵通過第一管路與所述空壓機相連。
所述生化槽內設有第二氣提泵、出水氣提泵和曝氣器,所述第二氣提泵的進料口靠近所述生化槽的底部,所述第二氣提泵的出料口與所述調節槽連通,所述第二氣提泵通過第二管路與所述空壓機相連。
所述出水氣提泵的進水口高于所述第二氣提泵的進料口,所述出水氣提泵的出水口與生化槽的外部連通,所述出水氣提泵通過第三管路與所述空壓機相連。
所述曝氣器低于所述第二氣提泵的進料口,曝氣器距離生化槽的底部100mm~300mm,所述曝氣器通過第四管路與所述空壓機相連設置,設置這個高度的曝氣器能夠達到最大的曝氣效果。
以上所述的地埋式污水處理系統,可選地,還包括控制箱、第一控制閥、第二控制閥、第三控制閥和第四控制閥。
所述控制箱分別與所述第一控制閥、所述第二控制閥、所述第三控制閥、所述第四控制閥和所述空壓機連接,用于控制第一管路通斷的第一控制閥設置在所述第一管路上,用于控制第二管路通斷的第二控制閥設置在所述第二管路上,用于控制第三管路通斷的第三控制閥設置在所述第三管路上,用于控制第四管路通斷的第四控制閥設置在所述第四管路上。
通過控制箱分別對第一控制閥、第二控制閥、第三控制閥和第四控制閥進行自動化控制,能夠根據實際使用需求的不同,對不同的控制閥進行不同的控制,實現對相應管路的開斷的不同控制,從而實現分時對污水進行處理。利用控制箱分別控制各個控制閥,自動化程度高,同時自動化集中在控制箱上,自動化集成度比較高,只需要對控制箱進行維護就可以了,維護成本低。
以上所述的地埋式污水處理系統,可選地,還包括消毒槽,所述消毒槽的頂部與所述出水氣提泵的出水口連通。污水在經過處理后,水質得到大大改善,但細菌含量仍十分可觀,并有存在病菌的可能。因此,污水再從生物槽排出之前應進行消毒,特別是醫院、生物制品以及屠宰場等有致病菌污染的污水,更應嚴格消毒。
目前,最常用的消毒方法便是氯化和紫外消毒。氯與水中有機物結合時同時具有氧化和取代作用,氧化作用能夠促使去除有機物,而取代作用則是氯與有機物結合,氯取代后形成的鹵化有機物是有致突變或致癌活性的。其中,比較常用的是液氯,其次是漂白粉、臭氧、次氯酸鈉、氯片、氯氨、二氧化氯和紫外線等。其中液氯效果可靠、投配設備簡單、投量準確、價格便宜。其他消毒劑如漂白粉投量不準確,溶解調制不便。臭氧投資大,成本高,設備管理復雜。其他幾種消毒劑也有很明顯的缺點。
紫外消毒利用紫外線的殺菌作用對病菌進行殺滅,其具有設備結構簡單,操作維護簡便的優點,適合于小規模污水處理出水的消毒。本發明可選氯化或紫外消毒方法。
以上所述的地埋式污水處理系統,可選地,還包括除磷槽,所述除磷槽的底部與所述消毒槽的底部連通,所述除磷槽的頂部與除磷槽的外部連通。在當處理的水體中磷的含量過高的時候,需要在地埋式污水處理系統的生化槽后加一個除磷槽。水體中磷的來源有多種多樣,主要分為外源性和內源性,其中外源性主要來自于生活污水、工業污水和農業污水,其中以農業污水為主,內源性主要來自于水體中沉積物氮和磷的釋放以及水生動植物的新陳代謝。
如果不對水體中的磷進行處理,將會導致水體富營養化,即水體內的氮磷含量過高,使得水體中的藻類及其他浮游動植物迅速繁殖,水中溶解氧下降,水質下降,魚類及其他生物大量死亡的現象。出現水體富營養化后,將會使得水質明顯下降,同時一些藻類甚至會分泌有毒物質,影響供水水質并增加供水成本。
另外,由于磷與氮、硫不同,不能夠成為氣態而排放到空氣中,一般只能夠通過化學、物理或者生物的方法,將水體中的磷轉化為固態從水體中去除。常見的除磷方法有生物法、化學沉淀法、離子交換法、吸附法、結晶法、電滲析法、人工濕地法、膜技術除磷等,其中如果處理的水體為生活污水,則主要采用生物法和化學沉淀法。
生物法除磷中最基本的除磷工藝是厭氧/好氧法,即A/O法,為提高除磷效果,在A/O法的基礎上,又發展了多種新技術,如A2/O法、改良氧化溝、倒置A2/O法、Bardenpho、VIP、MSBR、UNITANK等。
化學沉淀法是采用最早、使用最廣泛的一種除磷方法,化學沉淀除磷是通過投加化學藥劑,使無水中的磷轉化為不溶性的磷酸鹽沉淀物,然后固液分離從而達到除磷的目的,可用于化學除磷的金屬鹽有三種:鈣鹽、鐵鹽和鋁鹽。最常用的是石灰、硫酸鋁、鋁酸鈉、三氯化鐵、硫酸鐵、硫酸亞鐵和鋁鐵聚合物等。
以上所述的地埋式污水處理系統,可選地,還包括格柵槽,所述格柵槽內設有用于過濾雜質的格柵,所述格柵槽的底部與所述調節槽的底部連通。利用格柵槽內的格柵,能夠對水體中的較大雜質進行有效過濾,例如漂浮的木塊、塑料等。對這些體積大于格柵的柵條間隙的雜質,會被格柵阻擋,不能夠進入到后續的凈化系統內,能夠有效避免大雜質在系統內造成管路堵塞,或者損壞氣提泵。
以上所述的地埋式污水處理系統,可選地,還包括隔油槽,所述隔油槽內設有用于過濾油脂的隔板,所述隔油槽設置在所述格柵槽和所述調節槽之間,所述格柵槽的底部與所述隔油槽的底部連通,所述隔油槽的底部與所述調節槽的底部連通。工業污水中的油脂主要來自工業生產中的浸出、物理、化學精煉過程中的連續堿練、水化、酸化、中和、脫膠、脫臭、脫色、水洗、過濾等工序。如果是生活污水,則油脂主要來源于餐飲洗滌環節的動植物油。污水中含有較高的油脂會使得污水成分復雜,pH值不穩定,水質水量變化幅度很大,并且會在污水處理設備表面粘覆結垢,對污水處理設施沖擊較大,影響污水處理效率。因此,為了提高污水處理設備的使用壽命,對于一些水體中油脂含量較高的污水,需要在進行凈化之前對水體中的油脂進行過濾,加設隔油槽,利用隔油槽中的隔板,將油脂隔除。
以上所述的地埋式污水處理系統,可選地,所述調節槽的頂部與所述生化槽的頂部連通,所述生化槽的頂部與所述生化槽的外部連通。將調節槽的頂部與生化槽的頂部連通,將生化槽的頂部與外部連通,使得調節槽和生化槽構成連通器,當調節槽內的水位過高的時候,就會經過調節槽的頂部,流入到生化槽內,如果生化槽內的水位也過高,多余的污水便會經過生化槽的頂部流通到外部,避免地埋式污水處理系統的調節槽或者生化槽滿溢。
以上所述的地埋式污水處理系統,可選地,所述調節槽和/或所述生化槽內設有液位計。在調節槽和/或生化槽內設置液位計,利用液位計對調節槽和/或生化槽內污水液位的高低進行監控,液位計可以采用超聲波液位計。超聲波液位計在測量中脈沖超聲波由傳感器(換能器)發出,聲波經物體表面反射后被同一傳感器接收,利用聲波的發射和接收之間的時間差來計算傳感器到被測物體的距離。超聲波液位計采用非接觸的測量,被測介質幾乎不受限制,可廣泛用于各種液體液位測量。
以上所述的地埋式污水處理系統,可選地,所述第一氣提泵、第二氣提泵、所述出水氣提泵為脈沖式氣提泵。脈沖式氣提泵,能夠快速穩定間隔的用于排水、排泥。脈沖式氣提泵通過控制進氣時間和強度來控制排水、排泥流量及排水、排泥時間,達到自動排水、排泥功能,并且排水、排泥通暢、無堵塞、構造簡單、節能、排水量和排泥量可以任意調節、位置任意布置、容易操作、免維護,能夠保證地埋式污水處理系統長周期穩定運行。
以上所述的地埋式污水處理系統,可選地,生化槽內除了可以是利用曝氣器對污水進行曝氣凈化外,還可以在生化槽內懸掛或者裝填微生物載體,利用載體表面形成的生物膜進行污水的凈化處理,進一步提高處理負荷和抗沖擊能力,提高處理效率。
本發明還提供了一種污水處理方法,包括,
將污水通入生化槽內,
利用曝氣器進行曝氣,
使污水在生化槽內靜置,
對生化槽內的污泥進行回流,
將處理后的污水從生化槽內排出。
通過將污水引入到生化槽內,在生化槽內對污水進行曝氣,使得污泥中的活性成分凈化污水,然后靜置,使得上層水質和下層污泥進行靜置分離,然后將多余的污泥進行回流,回流至調節槽內,最后通過生化槽將凈化過后的水排出,實現對污水的凈化,采用這種方法凈化,凈化速度快,效率高。
以上所述的污水處理方法,可選地,
在所述將污水通入之前包括,設計生化槽容積,所述設計生化槽容積包括:
首先計算污泥量,
生化池所需污泥量為MLSS,公式中,
Qmax——設計流量
Ns——生化槽處理污泥的設計負荷Ns=0.4kgBOD5/kgMLSS·d
Sr——去除的BOD5(kg/m3)
然后計算生化槽容積V,V=Vsi+VF+Vb,公式中,
Vsi——代謝反應所需污泥容積m3,Vsi=Vs
Vs=1.2·SVI·MLSS,其中,設污泥的SVI=90ml/g,
VF——反應池換水容積(進水容積)m3,
Vb——保護容積m3。
通過上述方法,能夠對生化槽的體積進行設計計算,保證生化槽具有足夠大容積進行污水凈化。
本發明的有益效果是利用第一氣提泵將污水從調節槽引入到生化槽內,在生化槽內利用曝氣器對污水進行凈化,然后再靜置后,利用第二氣提泵將多余的污泥回流至調節槽內,然后再利用出水氣提泵將凈化后的污水排出生化槽。本發明能夠快速穩定的對污水進行凈化,同時動設備少,地下結構中無需要維護的動設備,系統自動化運行,對管理的要求很低,并且便于對系統進行安裝維護,能夠長時間穩定的運轉。



