申請日2016.05.30
公開(公告)日2016.12.28
IPC分類號B01D29/03
摘要
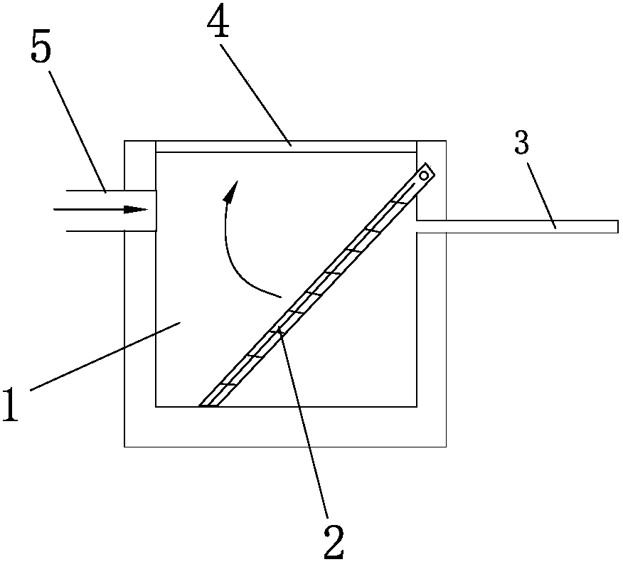
本實用新型提供了一種污水池的第一次過濾裝置,屬于污水處理技術領域,它包括一個過濾池,過濾池兩側設有進水管和出水管,過濾池上方設有池口和池蓋,其特征在于,所述的過濾池內設有格柵板,所述的格柵板將過濾池分隔為兩個腔室,所述的格柵板斜向擺設,所述的格柵板一側鉸接在過濾池的內壁上方,另一側支撐在過濾池底部,格柵板鉸接一側的過濾池內壁設有上述出水管,格柵板向上翻轉后格柵板能從池口抬離。該實用新型第一可將大塊的物質在第一次進入時就分離,使管道不會閉塞;第二排污非常方便只要將格柵板向上轉動,污物就會盛在格柵板上一起抬出。
摘要附圖
權利要求書
1.一種污水池的第一次過濾裝置,其特征在于,它包括一個過濾池,過濾池兩側設有進水管和出水管,過濾池上方設有池口和池蓋,其特征在于,所述的過濾池內設有格柵板,所述的格柵板將過濾池分隔為兩個腔室,所述的格柵板斜向擺設,所述的格柵板一側鉸接在過濾池的內壁上方,另一側支撐在過濾池底部,格柵板鉸接一側的過濾池內壁設有上述出水管,格柵板向上翻轉后格柵板能從池口抬離。
2.根據權利要求1所述的一種污水池的第一次過濾裝置,其特征在于,所述的格柵板由若干纖維繩穿插連接而成,格柵板的纖維繩上設有若干的剛毛,所述的剛毛與纖維繩一體織成。
說明書
一種污水池的第一次過濾裝置
技術領域
本實用新型屬于污水處理技術領域,特別涉及僅有一種污水池的第一次過濾裝置。
背景技術
傳統的污水池直接將污水送入處理池中,生活污水可能會包含大塊的物質,比如凝結的剩菜、頭發等等,這些會把不大的進水口堵塞。
因此需要第一次過濾將大塊的物體隔離,如果使用傳統的隔離池,其打撈污物較為困難,我們知道一般的污水池都是通過吸泵將污水吸出,而塊狀的物體極易堵塞吸管,再如果采用機械打撈,難免會費時費力。
發明內容
本實用新型的目的是針對現有污水池過濾存在的上述問題,提供一種排污較為簡便的污水池的第一次過濾裝置。
本實用新型的目的可通過下列技術方案來實現:一種污水池的第一次過濾裝置,其特征在于,它包括一個過濾池,過濾池兩側設有進水管和出水管,過濾池上方設有池口和池蓋,其特征在于,所述的過濾池內設有格柵板,所述的格柵板將過濾池分隔為兩個腔室,所述的格柵板斜向擺設,所述的格柵板一側鉸接在過濾池的內壁上方,另一側支撐在過濾池底部,格柵板鉸接一側的過濾池內壁設有上述出水管,格柵板向上翻轉后格柵板能從池口抬離。
所述的格柵板由若干纖維繩穿插連接而成,格柵板的纖維繩上設有若干的剛毛,所述的剛毛與纖維繩一體織成。
與現有技術相比,該實用新型第一可將大塊的物質在第一次進入時就分離,使管道不會閉塞;第二排污非常方便只要將格柵板向上轉動,污物就會盛在格柵板上一起抬出。


