申請日2016.05.05
公開(公告)日2016.07.20
IPC分類號E03F5/22; F16M5/00
摘要
本發明公開了一種一體化污水提升泵站防沉降系統,包括筒體、防沉降進水機構及防沉降出水機構,防沉降進水機構包括進水彎管、緩沖箱及護罩,緩沖箱上設有箱體進水孔及箱體出水管,箱體出水管與所述進水管通過法蘭連接,護罩設置在緩沖箱的外側,護罩內灌裝有混凝土,進水彎管一端插入到箱體進水孔內,另一端與現場出水管連接;防沉降出水機構包括出水管、彈簧支架及排水沉井,出水管包括通過彎管依次連接的第一直管、第二直管及第三直管。本發明通過進水彎管與緩沖箱、出水管與排水沉降豎直方向上的相對滑動防止泵站沉降時進水管、出水管處受到拉扯或拉伸,保證泵站在一定沉降量范圍內仍能正常工作。
權利要求書
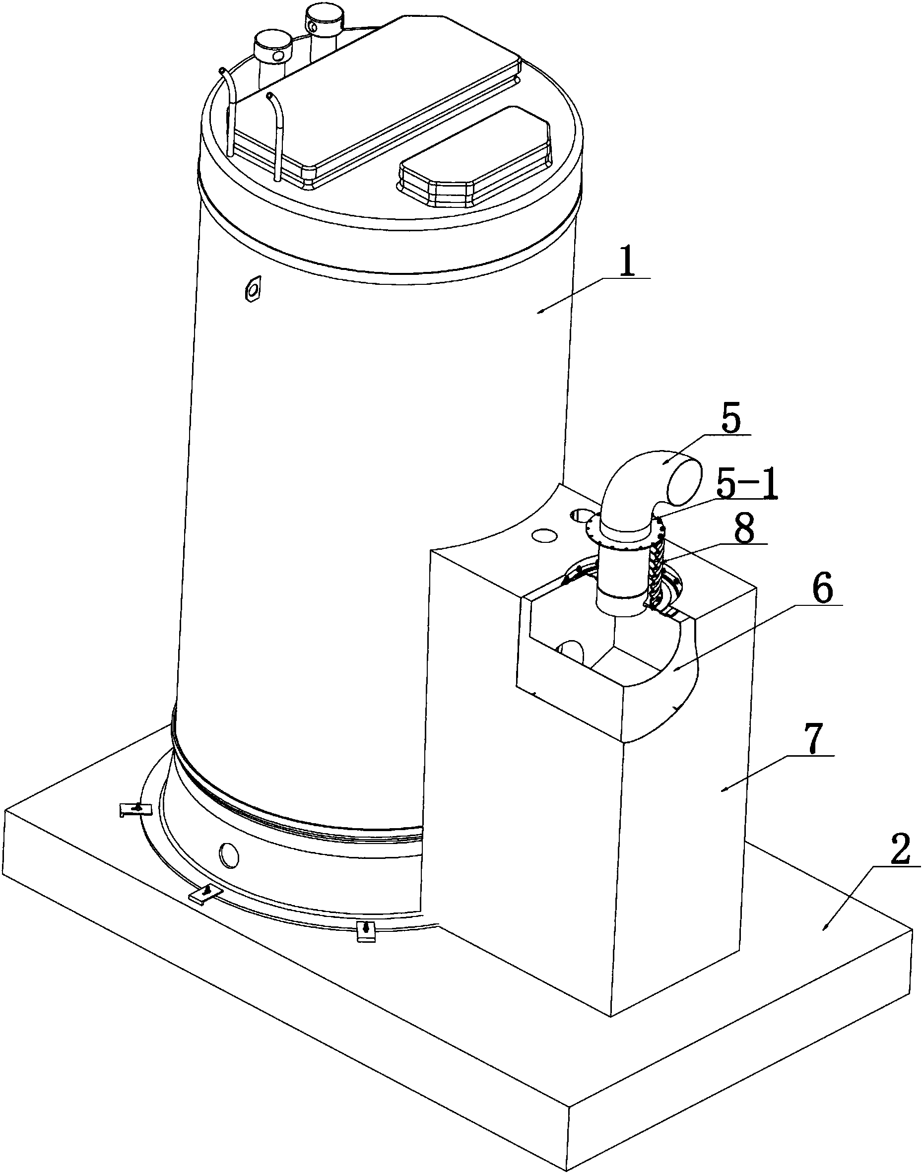
1.一種一體化污水提升泵站防沉降系統,其特征在于,包括筒體、防沉降進水機構及防沉降出水機構,所述筒體固定在底部基座上,所述筒體上設有進水管和出水管;
所述防沉降進水機構包括進水彎管、緩沖箱及護罩,所述緩沖箱上設有箱體進水孔及箱體出水管,所述箱體進水孔設置在所述緩沖箱的頂部,所述箱體出水管與所述進水管通過法蘭連接,所述緩沖箱的底部呈V型結構,所述緩沖箱的底部沿所述箱體出水管的軸向傾斜設置,且最低點在所述箱體出水管的底部,所述護罩設置在所述緩沖箱的外側,所述護罩緊貼所述筒體的一側具有與所述筒體相配合的圓弧結構,所述護罩的頂部設有用于所述進水彎管穿過的通孔,所述護罩的底部與基座固定連接,所述護罩內灌裝有混凝土,所述進水彎管的一端穿過所述通孔插入到所述箱體進水孔內,另一端與現場出水管連接;
所述防沉降出水機構包括所述出水管、用于支撐出水管的彈簧支架及設置在基坑一側的排水沉井,所述出水管包括通過彎管依次連接的第一直管、第二直管及第三直管,所述第二直管水平設置,所述第一直管、第三直管垂直連接在所述第二直管的兩端,所述第一直管豎直設置在筒體內,所述第一直管一端與水泵的出水口連接,另一端穿過筒體的頂蓋通過彎管與所述第二直管的一端連接,所述第二直管的另一端通過彎管與所述第三直管的一端連接,所述第三直管的另一端伸向所述排水沉井,所述彈簧支架支撐在所述第二直管的底部,所述排水沉井上設有井蓋,所述井蓋上設有用于所述第三直管穿過的井蓋孔。
2.根據權利要求1所述的一體化污水提升泵站防沉降系統,其特征在于,所述進水彎管的外側套裝有軟連接橡膠護套,所述進水彎管的上部設有法蘭盤,所述軟連接橡膠護套的上端與所述法蘭盤連接。
3.根據權利要求2所述的一體化污水提升泵站防沉降系統,其特征在于,所述箱體進水孔上設有墊圈,所述墊圈包括由環形橡膠軟墊連接的內圈和外圈,所述內圈與外圈同軸設置,所述軟連接橡膠護套的底部與所述內圈連接,所述內圈與所述進水彎管之間通過第一密封圈連接,所述外圈與所述箱體進水孔的邊沿連接。
4.根據權利要求1所述的一體化污水提升泵站防沉降系統,其特征在于,所述第三直管與所述井蓋孔之間通過第二密封圈連接。
5.根據權利要求1所述的一體化污水提升泵站防沉降系統,其特征在于,所述進水彎管伸入到所述緩沖箱內的長度為25~30cm。
6.根據權利要求1所述的一體化污水提升泵站防沉降系統,其特征在于,所述護罩內設有拉筋。
7.根據權利要求1所述的一體化污水提升泵站防沉降系統,其特征在于,所述彈簧支架包括彈簧、底板、支撐板、活動板及頂板,所述支撐板固定設置在所述底板上,所述活動板與所述支撐板滑動連接,所述頂板與所述活動板通過螺栓連接,所述螺栓的底端設有壓板,所述彈簧一端與所述底板連接,另一端與所述壓板的底部連接。
說明書
一體化污水提升泵站防沉降系統
技術領域
本發明涉及一種一體化污水提升泵站防沉降系統,屬于污水提升排放技術領域。
背景技術
隨著社會經濟的快速發展,來自生活和生產的污水排放越來越多,一旦這些污水隨意排放,就會造成整個環境的嚴重污染,為了匯集處理這些污水,污水提升泵站也就應運而生,且其使用也越來越廣泛。
現有的大多數污水提升泵站包括安裝在基座上的筒體、進水管、出水管、水泵20、服務平臺19等主要部件,污水提升泵站的筒體直徑一般0.8~3.8m,高度一般3~20m,重量大,一般埋設在地下,筒體的頂部會與地面平齊,保持與周圍綠整齊、美觀的效果,同時也方便施工人員及時找到泵站位置下到泵站的筒體內進行維護;但是當污水提升泵站建造在軟質土壤的基坑內時,長時間使用地基難免發生沉降,由于污水提升泵站的進水管,一般DN200以上,會直接與現場出水管對接連接,當基座出現沉降時筒體、出水管等皆會隨著基座下沉,而與出水管連接的現場出水管就會受到泵站出水管的拉扯,拉扯過程就會導致泵站進水管的損壞,導致容易出現漏水事故。
現有的泵站出水口處的出水管為水平方向設置,出水管的外端與市政污水管網的地下排污管道直接對接,經過污水提升泵站提升后的污水會直接進入到市政污水管網的排污管道中,隨著基座的下降,泵站沉降會向下拉伸出水管,容易造成出水管、泵站筒體、甚至是市政污水管網的損壞,導致漏水事故,泵站無法正常工作。
發明內容
本發明針對上述現有技術存在的不足,提供一種一體化污水提升泵站防沉降系統,其解決了現有的泵站出水口、與現場出水管連接的泵站進水管在泵站出現沉降時拉伸損壞泵站出水管、泵站進水管、泵站筒體及現場出水管導致漏水的現象。
本發明解決上述技術問題的技術方案如下:一種一體化污水提升泵站防沉降系統,包括筒體、防沉降進水機構及防沉降出水機構,所述筒體固定在底部基座上,所述筒體上設有進水管和出水管;
所述防沉降進水機構包括進水彎管、緩沖箱及護罩,所述緩沖箱上設有箱體進水孔及箱體出水管,所述箱體進水孔設置在所述緩沖箱的頂部,所述箱體出水管與所述進水管通過法蘭連接,所述緩沖箱的底部呈V型結構,所述緩沖箱的底部沿所述箱體出水管的軸向傾斜設置,且最低點在所述箱體出水管的底部,所述護罩設置在所述緩沖箱的外側,所述護罩緊貼所述筒體的一側具有與所述筒體相配合的圓弧結構,所述護罩的頂部設有用于所述進水彎管穿過的通孔,所述護罩的底部與基座固定連接,所述護罩內灌裝有混凝土,所述進水彎管的一端穿過所述通孔插入到所述箱體進水孔內,另一端與現場出水管連接;
所述防沉降出水機構包括出水管、用于支撐出水管的彈簧支架及設置在基坑一側的排水沉井,所述出水管包括通過彎管依次連接的第一直管、第二直管及第三直管,所述第二直管水平設置,所述第一直管、第三直管垂直連接在所述第二直管的兩端,所述第一直管豎直設置在筒體內,所述第一直管一端與水泵的出水口連接,另一端穿過筒體的頂蓋通過彎管與所述第二直管的一端連接,所述第二直管的另一端通過彎管與所述第三直管的一端連接,所述第三直管的另一端伸向所述排水沉井,所述彈簧支架支撐在所述第二直管的底部,所述排水沉井上設有井蓋,所述井蓋上設有用于所述第三直管穿過的井蓋孔。彈簧支架可以采用現有的彈簧支架,只要能在承擔出水管重量的同時還可以吸收出水管隨著泵站沉降的垂直位移量即可。
緩沖箱一般較大,采用內部灌裝有混凝土的護罩,不但可以對緩沖箱起到穩定的支撐作用,而且護罩內側的圓弧結構與泵站筒體緊密貼合,使得緩沖箱、護罩與泵站形成一個整體,保證緩沖箱與泵站同步沉降,這樣就不會拉伸泵站的進水管,此外護罩內灌裝混凝土還可以防止護罩內積水;緩沖箱的底部采用V型結構,也可以說是向外拱狀結構,為了便于污水及污泥向緩沖箱底部中間位置匯聚;而緩沖箱底部朝向箱體出水管向下傾斜,便于污水及污泥皆能快速流入泵站內,避免污泥沉積在緩沖箱內影響污水提升及輸送效果;
將泵站出水口處的出水管由水平直接外接地面以下市政排污管道修改為與水泵出水口直接連接的豎直向上的第一直管,然后第一直管通過彎管連接水平設置的第二直管,然后再通過彎管連接豎直向下的第三直管,實現經過水泵出水口的水豎直向上穿過泵站頂蓋后然后水平方向流動最后垂直向下旋轉180°進入到排水沉井中,排水沉井與出水管采用活動連接,當泵站沉降時,出水管會隨著泵站整體向下運動,由于出水管與排水沉井連接處是豎直方向直管,故不會在出現拉扯出水管的現象,防止對泵站及污水排水管道的損壞;此外排水沉井的設計使得排水沉井內的污水可以靠自身重力自然流入到市政污水管網的地下排污管道內,節約能源。
本發明的有益效果是:在泵站沉降過程,泵站、緩沖箱及護罩同步沉降,而與現場出水管連接的進水彎管保持不動,緩沖箱與進水彎管相對滑動,變相延長進水彎管的長度來防止泵站沉降時進水管處受到拉扯或拉伸,伸入緩沖箱內的進水彎管會隨著泵站沉降露出,進水彎管伸入緩沖箱內的長度大于泵站允許的沉降量,故進水彎管不會脫離緩沖箱;出水管垂直方向由筒體的頂蓋伸出,在泵站出現沉降時出水管與排水沉井可在豎直方向上相對滑動。總之,本發明結構簡單,維護成本低,通過進水彎管與緩沖箱、出水管與排水沉降豎直方向上的相對滑動防止泵站沉降時進水管、出水管處受到拉扯或拉伸,保證泵站在一定沉降量范圍內仍能正常工作。
在上述技術方案的基礎上,本發明還可以做如下改進。
進一步的,所述進水彎管的外側套裝有軟連接橡膠護套,所述進水彎管的上部設有法蘭盤,所述軟連接橡膠護套的上端與所述法蘭盤連接。
采用上述進一步方案的有益效果是,當泵站沉降緩沖箱與進水彎管的相對滑動時,軟連接橡膠護套可隨著進水彎管的伸長而被線性拉長,始終保證軟連接橡膠護套的內部形成封閉空間,防止污水從緩沖箱上部泄漏污染地下水。
進一步的,所述箱體進水孔上設有墊圈,所述墊圈包括由環形橡膠軟墊連接的內圈和外圈,所述內圈與外圈同軸設置,所述軟連接橡膠護套的底部與所述內圈連接,所述內圈與所述進水彎管之間通過第一密封圈連接,所述外圈與所述箱體進水孔的邊沿連接。
采用上述進一步方案的有益效果是,墊圈采用橡膠軟墊連接的內外圈制作而成,具有一定的撓性,當泵站不均勻沉降時如泵站向一邊傾斜沉降時,在一定傾角內仍能允許進水彎管沿進水彎管的軸向上、下移動而不被卡死,而第一密封圈可以采用橡膠材質制作而成,密封圈的彈性收縮可夾緊進水彎管,防止進入到緩沖箱內的污水由緩沖箱的頂部溢出泄露。
進一步的,所述第三直管與所述井蓋孔之間通過第二密封圈連接。
采用上述進一步方案的有益效果是,第二密封圈也可采用橡膠材質制作而成,密封圈的彈性收縮會夾住出水管的第三直管,不但可以防止污水從排水沉井中泄露出來污染環境,而且還可以避免污水產生臭氣溢出污染環境。
進一步的,所述進水彎管伸入到所述緩沖箱內的長度為25~30cm。
采用上述進一步方案的有益效果是,泵站在一定沉降量范圍內無需對泵站進行大規模的維修和維護,而一定沉降量是指泵站沉降量在20cm以內,若泵站沉降量超出20cm,就需要泵站停止運行,進水彎管與緩沖箱相對滑動的長度大于泵站沉降量,進水彎管在緩沖箱內的長度與泵站允許沉降量相配合,確保防沉降進水系統正常工作。
進一步的,所述護罩內設有拉筋。
采用上述進一步方案的有益效果是,不但可以增加護罩的強度,固定其形狀,而且在護罩灌裝混凝土時防止護罩受力變形。
進一步的,所述彈簧支架包括彈簧、底板、支撐板、活動板及頂板,所述支撐板固定設置在所述底板上,所述活動板與所述支撐板滑動連接,所述頂板與所述活動板通過螺栓連接,所述螺栓的底端設有壓板,所述彈簧一端與所述底板連接,另一端與所述壓板的底部連接。
采用上述進一步方案的有益效果是,彈簧支架用于支撐泵站出水管的第二直管,在泵站沉降時會被泵站出水管的第二直管壓縮,可根據彈簧支架被壓縮的位置來判斷泵站沉降量,通過設置在彈簧支架旁邊的刻度尺進行數據讀取,若彈簧支架被壓縮到預設位置時,沉降嚴重,就需要人為進行處理,以便保證泵站的正常運行。



