申請日2016.05.05
公開(公告)日2016.09.14
IPC分類號C02F1/72; C02F1/76
摘要
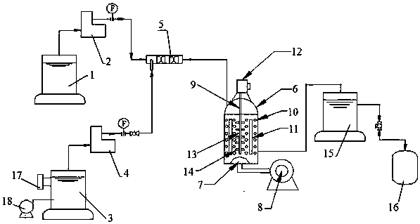
本實用新型公開了一種用于廢水處理的催化氧化設備,其包括廢水池、二氧化氯發生器、混合器、催化氧化塔、沉淀池和回收池,所述廢水池和二氧化氯發生器分別通過提升泵和計量泵連接至混合器的進水口,混合器的出水口連接所述催化氧化塔的進水口,催化氧化塔的出水口依次連接沉淀池和回收池,所述催化氧化塔內設有催化劑床層、攪拌裝置和曝氣裝置,所述曝氣裝置位于催化氧化塔的底部,且其通過管道連接羅茨風機。本實用新型催化氧化能力強,污水處理效果好,曝氣與反應共存,在提高氧化效果的同時進行脫氯,實現裝置的安全運行,使經過該裝置處理后的廢水的可生化性得以增強。
權利要求書
1.一種用于廢水處理的催化氧化設備,其特征在于:包括廢水池(1)、二氧化氯發生器(3)、混合器(5)、催化氧化塔(6)、沉淀池(15)和回收池(16),所述廢水池(1)和二氧化氯發生器(3)分別通過提升泵(2)和計量泵(4)連接至混合器(5)的進水口,混合器(5)的出水口連接所述催化氧化塔(6)的進水口,催化氧化塔(6)的出水口依次連接沉淀池(15)和回收池(16),所述催化氧化塔(6)內設有催化劑床層(10)、攪拌裝置(9)和曝氣裝置(7),所述曝氣裝置(7)位于催化氧化塔(6)的底部,且其通過管道連接羅茨風機(8)。
2.根據權利要求1所述的一種用于廢水處理的催化氧化設備,其特征在于:所述攪拌裝置(9)包括電機(12)、攪拌軸(13)和攪拌槳葉(14),所述電機(12)位于催化氧化塔(6)的頂部,攪拌軸(13)與電機(12)的輸出軸相連,攪拌槳葉(14)依次設置在攪拌軸(13)上。
3.根據權利要求1所述的一種用于廢水處理的催化氧化設備,其特征在于:所述催化劑床層(10)的周圍均勻分布有紫外線光源(11)。
4.根據權利要求1所述的一種用于廢水處理的催化氧化設備,其特征在于:所述二氧化氯發生器(3)上設有原料計量控制器(17)和加料泵(18),所述原料計量控制器(17)用于控制加料泵(18)的投放量。
5.根據權利要求1所述的一種用于廢水處理的催化氧化設備,其特征在于:所述提升泵(2)和計量泵(4)與混合器(5)連接的管路上均分別設有可控閥門。
說明書
一種用于廢水處理的催化氧化設備
技術領域
本實用新型涉及一種廢水處理設備,具體涉及一種用于廢水處理的催化氧化設備。
背景技術
目前,高濃度、難降解工業廢水的可生化性,使后續生化處理具有很大的壓力,高濃度難降解工業廢水若處理不當,會引發水體環境安全事故,特別是在水資源日益緊張的今天,將嚴重威脅人類身體健康和生存環境。因此,高濃度、難降解工業廢水的處理越來越引發大家的關注,特別是新環保法的實施,使得企業對于上述工業廢水處理越來越重視。對于高濃度難降解的廢水,現行主要氧化工藝有芬頓氧化、臭氧氧化等,但存在設備運行費用高、投資成本大等缺點,制約了其在工業廢水處理中的應用。二氧化氯作為高效的強氧化劑,其氧化能力是氯氣的2.63倍,具有高效的氧化能力,為高濃度、難降解廢水的處理提供了一條新的途徑。
實用新型內容
本實用新型的目的在于提高高濃度難降解廢水的可生化性,減輕后續生化處理的壓力,而提供了一種新型、高效的用于廢水處理的催化氧化設備。
本實用新型采取的技術方案是:一種用于廢水處理的催化氧化設備,其包括廢水池、二氧化氯發生器、混合器、催化氧化塔、沉淀池和回收池,所述廢水池和二氧化氯發生器分別通過提升泵和計量泵連接至混合器的進水口,混合器的出水口連接所述催化氧化塔的進水口,催化氧化塔的出水口依次連接沉淀池和回收池,所述催化氧化塔內設有催化劑床層、攪拌裝置和曝氣裝置,所述曝氣裝置位于催化氧化塔的底部,且其通過管道連接羅茨風機。
進一步的,所述攪拌裝置包括電機、攪拌軸和攪拌槳葉,所述電機位于催化氧化塔的頂部,攪拌軸與電機的輸出軸相連,攪拌槳葉依次設置在攪拌軸上。
進一步的,所述催化劑床層的周圍均勻分布有紫外線光源。
進一步的,所述二氧化氯發生器上設有原料計量控制器和加料泵,所述原料計量控制器用于控制加料泵的投放量。
進一步的,所述提升泵和計量泵與混合器連接的管路上均分別設有可控閥門。
本實用新型的有益效果是:該設備催化氧化能力強,污水處理效果好,其中的催化劑可增強二氧化氯的催化氧化效果,混合器、攪拌裝置、曝氣裝置可提高二氧化氯與廢水的接觸效率,且曝氣與反應共存,在提高氧化效果的同時進行脫氯,實現裝置的安全運行,使經過該裝置處理后的廢水的可生化性得以增強。另外,在二氧化氯發生器上分設有原料計量控制器,用于控制加料泵的投放量,不但增強了可控性,而且還節約原料,反應高效。



