申請日2016.05.06
公開(公告)日2017.11.14
IPC分類號C02F1/30
摘要
本發明公開了一種低溫等離子處理高濃度污水的工藝和方法,高濃度污水經過濾后送入污水存儲池,高濃度污水經加壓后送入霧化噴嘴由混合氣霧化后噴入電極的放電區域,高壓脈沖發生器發生的高壓脈沖電壓在電極處放電,使電子加速,形成無需屏蔽的高能自由電子,高能自由電子使高濃度污水中的水分子發生激發裂解和電離,生成羧基自由基·OH、O3、H2O2,羧基自由基·OH、O3、H2O2 轟擊高濃度污水中有機物的C‑C鍵和不飽和鍵,使高濃度污水中的有機物斷鍵和開環,使高濃度污水中有機物的大分子變成小分子,實現高濃度污水的凈化。本發明工藝方法先進,具有處理效率高、結構簡單、能耗低的優點,能夠提高企業的經濟效益。
權利要求書
1.一種低溫等離子處理高濃度污水的工藝和方法,具體包括以下步驟:
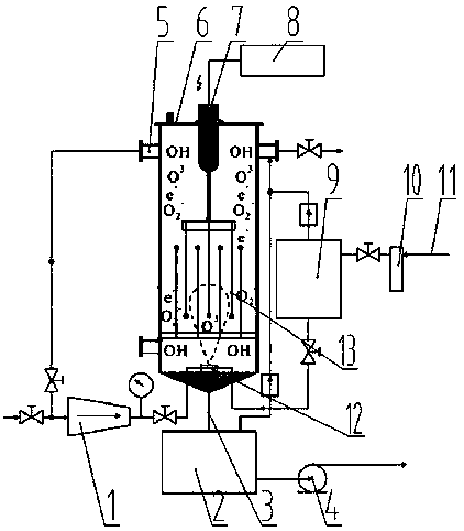
步驟一:高濃度污水經進水管進入過濾器,高濃度污水經過濾器過濾后送入污水存儲池,存儲在污水存儲池中的高濃度污水經加壓后送入霧化噴嘴,混合氣經空壓機加壓后進入霧化噴嘴將高濃度污水進行霧化后噴入電極的放電區域;
步驟二:高壓脈沖發生器發生前沿陡峭、脈沖窄的高壓脈沖電壓,高壓脈沖電壓在電極處放電,使電子加速,形成無需屏蔽的高能自由電子,高能自由電子碰撞霧化后高濃度污水中的水分子,使水分子發生激發裂解和電離,生成氧化性極強的羧基自由基·OH、O3、H2O2 ,羧基自由基·OH、O3、H2O2 轟擊高濃度污水中有機物的C-C鍵和不飽和鍵,使高濃度污水中的有機物斷鍵和開環,使高濃度污水中有機物的大分子變成小分子,實現高濃度污水的凈化;
步驟三:經過凈化后的污水由反應器上部噴入水混合自反應器的底部經排水管流入出水池,流入到出水池中的水經出水泵輸送至后續的處理工藝處理或送入生產水箱回用。
2. 如權利要求1所述的一種低溫等離子處理高濃度污水的工藝和方法,其特征在于:所述步驟三中從反應器上部噴入水為儲存在出水池的水和儲存在污水存儲池中的高濃度污水的混合水。
3.如權利要求1所述的一種低溫等離子處理高濃度污水的工藝和方法,其特征在于:所述步驟一中混合氣為空氣和反應器排出的氣體混合物。
說明書
一種低溫等離子處理高濃度污水的工藝和方法
技術領域
本發明屬于高濃度污水處理技術領域,具體涉及一種低溫等離子處理高濃度污水的工藝和方法。
背景技術
清潔的水資源對人們日常生活和工業經濟有著至關重要的作用。隨著工業化的發展,環境和水污染已成為一個全球關注的問題。發達國家在經濟發展的同時,十分重視環境問題。對于我國這樣一個經濟快速發展中的國家,這個問題特別突出,如果不能很好的解決污染問題,將嚴重地影響到我國國民經濟可持續發展。目前,來源于各行各業如化工、印染、農藥等工業廢水種類繁多,排放量日益增多,成分非常復雜,其中含有許多難降解有機物,如氯苯酚、多氯聯苯等。其中有些有機物具有致癌、致畸、 致突變等作用,對環境和人類有巨大的危害。這些污水往往難以用傳統的處理方法去除,因此處理這類難以生物降解的有機廢水成為我們面臨的嚴峻挑戰。
目前,國內外對難降解有機物廢水常規的處理方法主要有生物法、物化法和氧化法等,但這些方法處理對有毒、有害的高分子有機物效果不佳,或者處理周期很長,處理成本高。因此研究高效的污水處理方法具有重要的社會意義和經濟意義。
近20多年來國內外研究發現表明,高級氧化技術可以比較有效地處理大部分難降解有機廢水,是以產生羥基自由基·O H 為標志。 高級氧化技術在氧化有機物時產生一種氧化能力極強的羥基自由基· O H,使大多數難降解的有機污染物氧化降解為低毒或無毒的小分子物質,羥基自由基·O H 是一種極強的氧化劑,是處理難降解的有機廢水理想的氧化劑,F有的高級氧化技術包括紫外( U V )、臭氧( O 3 )、雙氧水( H2 O2 ) 以及它們混合使用等方法,這些氧化技術存在運行費用過高、氧化劑消耗量大等缺點,使其普遍推廣應用受到限制。
發明內容
本發明的目的在于克服上述現有技術的不足,提供一種處理效率高、結構簡單、能耗低的低溫等離子處理高濃度污水的工藝和方法。
一種低溫等離子處理高濃度污水的工藝和方法,具體包括以下步驟:
步驟一:高濃度污水經進水管進入過濾器,高濃度污水經過濾器過濾后送入污水存儲池,存儲在污水存儲池中的高濃度污水經加壓后送入霧化噴嘴,混合氣經空壓機加壓后進入霧化噴嘴將高濃度污水進行霧化后噴入電極的放電區域。
步驟二:高壓脈沖發生器發生前沿陡峭、脈沖窄的高壓脈沖電壓,高壓脈沖電壓在電極處放電,使電子加速,形成無需屏蔽的高能自由電子,高能自由電子碰撞霧化后高濃度污水中的水分子,使水分子發生激發裂解和電離,生成氧化性極強的羧基自由基·OH、O3、H2O2 ,羧基自由基·OH、O3、H2O2 轟擊高濃度污水中有機物的C-C鍵和不飽和鍵,使高濃度污水中的有機物斷鍵和開環,使高濃度污水中有機物的大分子變成小分子,實現高濃度污水的凈化。
步驟三:經過凈化后的污水由反應器上部噴入水混合自反應器的底部經排水管流入出水池,流入到出水池中的水經出水泵輸送至后續的處理工藝處理或送入生產水箱回用。
作為上述技術方案的進一步描述,所述步驟三中從反應器上部噴入水為儲存在出水池的水和儲存在污水存儲池中的高濃度污水的混合水。
作為上述技術方案的進一步描述,所述步驟一中混合氣為空氣和反應器排出的氣體混合物。
本發明的優點:
1 ) 多種物理效應協同“先進氧化處理”作用?烀}沖放電等離子體直接與污水大面積接觸,在水體中產生超強紫外光、 臭氧和高能電子多種物理效應,直接產生活性極強的自由基,對污水進行高級氧化作用,具有不可替代的綜合優勢;
2 ) 工藝結構簡單?呻S時處理,不存在氧化劑生產和存儲問題,也不存在二次污染的問題;
3 ) 處理效率高,耗能低?烀}沖放電等離子體具有作用效果強,電能利用效率高,大部分能量用于有機物分解電離,而不是變成熱量,具有能耗低的獨特優勢,因而使得該技術具有普遍推廣應用價值;
4 ) 具有殺菌滅毒效果。由于放電產生超強紫外光、 臭氧作用,對污水具有明顯的滅菌、消毒作用效果



