申請日2016.05.05
公開(公告)日2016.09.07
IPC分類號B01D35/04; B01D29/58; B01D29/88; B01D29/96; F16K11/00; F16K17/00
摘要
本實用新型旨在提供一種結構簡單、能有效排出污水、保證濾芯使用壽命且節能環保的凈化水龍頭。本實用新型包括座體(1)和配合設置在所述座體(1)上的凈水器(2),在所述座體(1)上設置有第一進水口(11)和從所述第一進水口(11)連通至所述凈水器(2)的凈化水進水水路(12),在所述凈化水進水水路(12)上設置有凈化水開關(13),在所述座體(1)上還設置有排污口,所述排污口設置在所述凈化水開關(13)與所述凈水器(2)之間的所述凈化水進水水路區段上。本實用新型可應用于水龍頭領域。
權利要求書
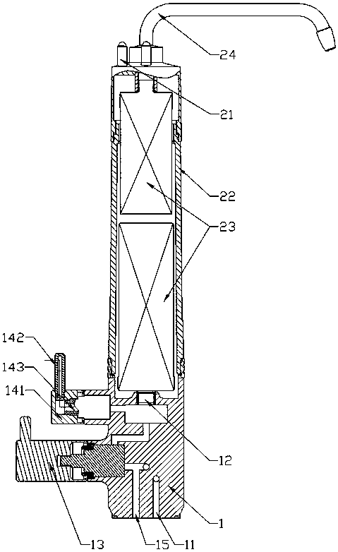
1.一種可排放過濾腔污水的凈化水龍頭,包括座體(1)和配合設置在所述座體(1)上的凈水器(2),在所述座體(1)上設置有第一進水口(11)和從所述第一進水口(11)連通至所述凈水器(2)的凈化水進水水路(12),在所述凈化水進水水路(12)上設置有凈化水開關(13),其特征在于:在所述座體(1)上還設置有排污口,所述排污口設置在所述凈化水開關(13)與所述凈水器(2)之間的所述凈化水進水水路區段上。
2.根據權利要求1所述的一種可排放過濾腔污水的凈化水龍頭,其特征在于:所述排污口處連接有排污閥(14),所述排污閥(14)包括與所述凈化水進水水路相連通的污水引出段(141)、與所述污水引出段(141)相連通的污水導流段(142)和設置在所述污水引出段(141)內的污水閥芯(143),所述污水導流段(142)與所述座體(1)之間轉動配合,在所述凈水器(2)上設置有泄壓閥(21)。
3.根據權利要求2所述的一種可排放過濾腔污水的凈化水龍頭,其特征在于:所述凈水器(2)包括過濾腔(22)、設置在所述過濾腔(22)內的若干個濾芯(23)以及轉動設置在所述過濾腔(22)上部的凈水出水管(24)。
4.根據權利要求1所述的一種可排放過濾腔污水的凈化水龍頭,其特征在于:在所述座體(1)上還設置有第二進水口(15)、自來水開關(16)、自來水進水水路(17)及轉動配合在所述自來水進水水路(17)出口處的自來水排水管(18),在所述第一進水口(11)處還設置有引渡水路(19),所述引渡水路(19)連接至所述自來水開關(16)。
5.根據權利要求3所述的一種可排放過濾腔污水的凈化水龍頭,其特征在于:所述濾芯(23)的數目為兩個。
6.根據權利要求4所述的一種可排放過濾腔污水的凈化水龍頭,其特征在于:所述第一進水口(11)為熱水進水口,所述第二進水口(15)為冷水進水口。
說明書
一種可排放過濾腔污水的凈化水龍頭
技術領域
本實用新型涉及一種水龍頭,尤其涉及一種可排放過濾腔污水的凈化水龍頭。
背景技術
隨著生活水平的不斷提高,人們對自身的健康關注程度越來越高。在飲用水方面,直接在水龍頭處安裝凈水器成為一種趨勢,F有技術中,一般是將凈水器設置在進水管中,經過凈化器凈化的水可以直接飲用。其中的過濾部分在使用一段時間后,需要定期更換。但在更換濾芯的過程中,會有一部分污水遺留在凈化器內。如需排出污水,則需要將整個凈化器從進水管上拆下,排出污水后再安裝回進水管中;如不排出污水,污水會隨著進入到凈化器的水一起再次經過濾芯,即濾芯在第一次使用過程中便被污染,這對后續的使用會造成影響,并縮短濾芯的使用壽命。此外,遺留有污水的凈水器在更換濾芯后的第一次凈化水時,很可能需要先凈化一段時間(水會白白流失),才能接水使用。這在一定程度上造成了水資源浪費。
實用新型內容
本實用新型所要解決的技術問題是克服現有技術的不足,提供一種結構簡單、能有效排出污水、保證濾芯使用壽命且節能環保的凈化水龍頭。
本實用新型所采用的技術方案是:本實用新型包括座體和配合設置在所述座體上的凈水器,在所述座體上設置有第一進水口和從所述第一進水口連通至所述凈水器的凈化水進水水路,在所述凈化水進水水路上設置有凈化水開關,在所述座體上還設置有排污口,所述排污口設置在所述凈化水開關與所述凈水器之間的所述凈化水進水水路區段上。
上述方案可見,通過從凈化水進水水路上引出排污口,在凈化器內積存有污水時,可直接通過該排污口排出凈化器內的污水,避免了原有的需要將整個凈化器從水管或水龍頭上取下的現象,其結構十分簡單,清潔效率高,清潔效果好,也無需進行凈化過渡,可直接使用凈化水,節約了成本,也避免了水資源浪費;濾芯在更換后不會受到積存的污水污染,保證了其使用壽命足夠長。
進一步優選的方案是,所述排污口處連接有排污閥,所述排污閥包括與所述凈化水進水水路相連通的污水引出段、與所述污水引出段相連通的污水導流段和設置在所述污水引出段內的污水閥芯,所述污水導流段與所述座體之間轉動配合,在所述凈水器上設置有泄壓閥。
上述方案可見,通過所述排污閥上的污水閥芯可打開或關閉所述排污口,通過污水導流段的轉動作用,可使得污水被排放到水龍頭之外,不會對水龍頭表面污染進而發生二次污染;另外,通過污水導流段與座體之間的轉動配合,其起到開啟或關閉排污口的效果,使得排污結構非常簡單,操作方便。
作為更進一步優選的方案是,所述凈水器包括過濾腔、設置在所述過濾腔內的若干個濾芯以及轉動設置在所述過濾腔上部的凈水出水管;所述濾芯的數目為兩個。
上述方案可見,凈水器通過設置兩級過濾,其過濾效果好,結構合理,凈水出水管可轉動,大大地增加了使用便捷性。
進一步優選的方案是,在所述座體上還設置有第二進水口、自來水開關、自來水進水水路及轉動配合在所述自來水進水水路出口處的自來水排水管,在所述第一進水口處還設置有引渡水路,所述引渡水路連接至所述自來水開關。
上述方案可見,通過第二進水口、自來水開關、自來水進水水路的設置,增加了自來水功能,為滿足用戶的不同用水要求提供了保證;引渡水路的設置,能夠將第一進水口的進水引到第二進水口進水,滿足進水混合的要求。
作為更進一步優選的方案是,所述第一進水口為熱水進水口,所述第二進水口為冷水進水口。
上述方案可見,冷水和熱水的同時設置,能滿足人們對用水的不同要求,同時,在自來水開關處進行冷熱水混合,能夠提供溫度適中的自來水熱水,提高了人們的生活質量。



