申請日2016.05.05
公開(公告)日2016.09.21
IPC分類號C02F9/08
摘要
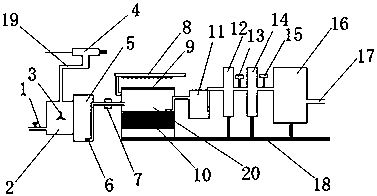
本實用新型公開了一種小區生活污水處理設備,包括進水口、污水蓄水池、調節水池、除雜裝置和中間蓄水池,所述污水蓄水池上方設有臭氣收集管道,所述臭氣收集管道上方設有除臭裝置,所述調節水池底部設有抽水泵,所述除雜裝置內部設有填料包,所述中間蓄水池一側設有石英細砂過濾裝置,所述石英細砂過濾裝置一側設有臭氧發生裝置,所述臭氧發生裝置一側設有活性炭過濾裝置,所述活性炭過濾裝置一側設有二氧化氯發生裝置,所述二氧化氯發生裝置一側設有二次消毒池,所述二次消毒池一側設有出水口管,所述除雜裝置下方設有排污泥管,該小區污水處理設備通過設有紫外線滅菌燈和透光板可以有效的滅殺污水中的細菌,使其在日常雜用中更安全。
權利要求書
1.一種小區生活污水處理設備,包括進水口(1)、污水蓄水池(2)、調節水池(5)、除雜裝置(20)和中間蓄水池(11),其特征在于:所述污水蓄水池(2)上方設有臭氣收集管道(19),所述臭氣收集管道(19)上方設有除臭裝置(4),所述調節水池(5)底部設有抽水泵(6),所述除雜裝置(20)內部設有填料包(10),所述中間蓄水池(11)一側設有石英細砂過濾裝置(12),所述石英細砂過濾裝置(12)一側設有臭氧發生裝置(13),所述臭氧發生裝置(13)一側設有活性炭過濾裝置(14),所述活性炭過濾裝置(14)一側設有二氧化氯發生裝置(15),所述二氧化氯發生裝置(15)一側設有二次消毒池(16),所述二次消毒池(16)一側設有出水口管(17),所述除雜裝置(20)下方設有排污泥管(18)。
2. 根據權利要求1所述的一種小區污水處理設備,其特征在于:所述污水蓄水池(2)內部設有攪拌輪(3)。
3.根據權利要求1所述的一種小區污水處理設備,其特征在于:所述抽水泵(6)上設有水流調節器(7)。
4. 根據權利要求1所述的一種小區污水處理設備,其特征在于:所述除雜裝置(20)頂部設有紫外線滅菌燈(8),所述紫外線滅菌燈(8)下方設有透光板(9),所述紫外線滅菌燈(8)頂部設有燈絲(23),所述燈絲(23)下方設有燈頭(21), 所述燈頭(21)下方設有紫外線燈管(22),所述紫外線燈管(22)下方設有燈管固定絲(24)。
說明書
一種小區生活污水處理設備
技術領域
本實用新型屬于環保污水處理設備技術領域,具體涉及一種小區生活污水處理設備。
背景技術
我國是一個嚴重缺水的國家,人均水資源占有量只有世界平均水平的四分之一。隨著我國工業化的飛速發展和城市化發展,許多城市水資源嚴重缺乏,許多城市中的小區,居住著大量的人口,每天產生大量的生活污水,若是污水隨意排放會污染周圍的環境,導致地下水質惡化。另外許多小區提倡綠化,也導致水資源的不夠用,許多城市的水資源供應不足,造成我國水資源危機日益嚴重。為了解決這些問題,許多小區設有生活污水處理設備,將生活污水處理后繼續回用于小區的日常雜用水。可是現有的許多生活污水處理設備,處理不夠徹底,效率不高,導致許多處理過后的水任然污染環境。
實用新型內容
本實用新型的目的在于提供一種小區污水處理設備,以解決上述背景技術中提出的問題。
為實現上述目的,本實用新型提供如下技術方案:一種小區生活污水處理設備,包括進水口、污水蓄水池、調節水池、除雜裝置和中間蓄水池,所述污水蓄水池上方設有臭氣收集管道,所述臭氣收集管道上方設有除臭裝置,所述調節水池底部設有抽水泵,所述除雜裝置內部設有填料包,所述中間蓄水池一側設有石英細砂過濾裝置,所述石英細砂過濾裝置一側設有臭氧發生裝置,所述臭氧發生裝置一側設有活性炭過濾裝置,所述活性炭過濾裝置一側設有二氧化氯發生裝置,所述二氧化氯發生裝置一側設有二次消毒池,所述二次消毒池一側設有出水口管,所述除雜裝置下方設有排污泥管。
優選的,所述污水蓄水池內部設有攪拌輪。
優選的,所述抽水泵上設有水流調節器。
優選的,所述除雜裝置頂部設有紫外線滅菌燈,所述紫外線滅菌燈下方設有透光板,所述紫外線滅菌燈頂部設有燈絲,所述燈絲下方設有燈頭, 所述燈頭下方設有紫外線燈管,所述紫外線燈管下方設有燈管固定絲。
本實用新型的技術效果和優點:該小區污水處理設備通過設有在污水蓄水池中設有攪拌輪,可以使使污水中的臭氣徹底清除和使污水更有效的過濾,通過設有水流調節器可以調節污水流速按照合適的速度來進行處理,避免過快導致處理不徹底,該小區污水處理設備通過設有紫外線滅菌燈和透光板可以有效的滅殺污水中的細菌,使得處理過得污水不攜帶病菌,在日常雜用中更安全。



