申請日2016.05.28
公開(公告)日2016.12.07
IPC分類號E04H1/00; E03B3/02; E04D13/00; H02S20/23
摘要
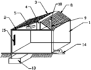
本實用新型公開了一種帶有雨水處理裝置的綠色建筑,包括房屋本體,平臺的頂端設置有太陽能光伏電板,支撐板的一側設置有控制箱,控制箱的內部設置有控制器,控制器的一側設置有蓄電池,平臺的頂端的一側設置有若干圓形種植槽,圓形種植槽的一側設置有支撐管,支撐管的一端連接有噴頭,平臺的頂端的四周設置有集水槽,集水槽的一端設置有圓形出水孔,房屋本體的底部設置的儲水池,房屋本體底端的一側設置的水泵,房屋本體的內壁的一側設置有溫度傳感器。本實用新型的有益效果:可以節約一定的電能,同時便于對雨水的收集和儲存,以及便于把儲水池中的雨水通過支撐管從噴頭中噴出,進而便于對房屋進行降溫,節能環保。
摘要附圖
權利要求書
1.一種帶有雨水處理裝置的綠色建筑,包括房屋本體(1),其特征在于,所述房屋本體(1)的頂端設置有平臺(2),所述平臺(2)的頂端設置有太陽能光伏電板(3),所述平臺(2)與所述太陽能光伏電板(3)之間通過支撐板(4)連接,所述支撐板(4)的一側設置有控制箱(5),所述控制箱(5)的內部設置有控制器(6),所述控制器(6)的一側設置有蓄電池(7),所述平臺(2)的頂端的一側設置有若干圓形種植槽(8),所述圓形種植槽(8)的一側設置有支撐管(9),所述支撐管(9)的一端連接有噴頭(10),所述平臺(2)的頂端的四周設置有集水槽(11),所述集水槽(11)的一端設置有圓形出水孔(12),所述房屋本體(1)的底部設置的儲水池(13),所述房屋本體(1)底端的一側設置的水泵(14),所述房屋本體(1)的內壁的一側設置有溫度傳感器(15)。
2.根據權利要求1所述的一種帶有雨水處理裝置的綠色建筑,其特征在于,所述溫度傳感器(15)電性連接所述控制器(6),所述控制器(6)電性連接所述水泵(14),所述太陽能光伏電板(3)電性連接所述蓄電池(7)。
3.根據權利要求1所述的一種帶有雨水處理裝置的綠色建筑,其特征在于,所述圓形出水孔(12)的頂端設置有過濾網。
4.根據權利要求1所述的一種帶有雨水處理裝置的綠色建筑,其特征在于,所述所述述圓形出水孔(12)通過水管連接所述儲水池(13),所述儲水池(13)通過水管連接所述水泵(14),所述水泵通過水管連接所述支撐管(9)。
5.根據權利要求1所述的一種帶有雨水處理裝置的綠色建筑,其特征在于,所述控制箱(5)外側設置有散熱條,所述平臺(2)與所述控制箱(5)之間通過支撐桿連接。
說明書
一種帶有雨水處理裝置的綠色建筑
技術領域
本實用新型涉及綠色建筑領域,具體為一種帶有雨水處理裝置的綠色建筑。
背景技術
綠色建筑是以人、建筑和自然環境的協調發展為目標,在利用天然條件和人工手段創造良好、健康的居住環境的同時,盡可能地控制和減少對自然環境的使用和破壞,充分體現向大自然的索取和回報之間的平衡。但是傳統的房屋顯然沒有達到目標,尤其是在節約電能,和對雨水的收集、儲存和利用方面,這些都是需要解決的問題。
實用新型內容
本實用新型提供一種帶有雨水處理裝置的綠色建筑,可以有效解決在實際應用中傳統的房屋在節約電能,和對雨水的收集、儲存和利用方面的問題。
本實用新型公開了一種帶有雨水處理裝置的綠色建筑,包括房屋本體,所述房本體的頂端設置有平臺,所述平臺的頂端設置有太陽能光伏電板,所述平臺與所述太陽能光伏電板之間通過支撐板連接,所述支撐板的一側設置有控制箱,所述控制箱的內部設置有控制器,所述控制器的一側設置有蓄電池,所述平臺的頂端的一側設置有若干圓形種植槽,所述圓形種植槽的一側設置有支撐管,所述支撐管的一端連接有噴頭,所述平臺的頂端的四周設置有集水槽,所述集水槽的一端設置有圓形出水孔,所述房屋本體的底部設置的儲水池,所述房屋本體底端的一側設置的水泵,所述房屋本體的內壁的一側設置有溫度傳感器。
作為本實用新型的一種優選技術方案,所述溫度傳感器電性連接所述控制器,所述控制器電性連接所述水泵,所述太陽能光伏電板電性連接所述蓄電池。
作為本實用新型的一種優選技術方案,所述圓形出水孔的頂端設置有過濾網。
作為本實用新型的一種優選技術方案,所述所述述圓形出水孔通過水管連接所述儲水池,所述儲水池通過水管連接所述水泵,所述水泵通過水管連接所述支撐管。
作為本實用新型的一種優選技術方案,所述控制箱外側設置有散熱條,所述平臺與所述控制箱之間通過支撐桿連接。
與現有技術相比,本實用新型的有益效果:可以節約一定的電能,同時便于對雨水的收集和儲存,以及便于把儲水池中的雨水通過支撐管從噴頭中噴出,進而便于對房屋進行降溫,節能環保。


