申請日2016.05.05
公開(公告)日2016.11.23
IPC分類號E03B1/04; E03C1/122; C02F1/40
摘要
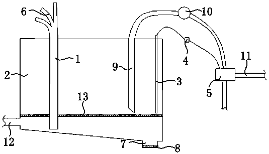
本實用新型屬于移動廁所領域,具體涉及一種家庭廁所污水二次利用系統,包括污水收集總管、水箱、液位傳感器、注水控制器和注水控制閥,所述液位傳感器、注水控制器和注水控制閥依次連接,所述液位傳感器置于所述水箱內;所述污水收集總管的上面設有若干個污水收集管接頭,所述水箱的底部從左往右傾斜向下,且所述水箱的底部最右端設有排污管,所述排污管的底部設有可拆卸的堵頭;所述水箱內還設有抽水管,所述抽水管通過水泵與注水控制閥相連,所述注水控制閥的另一側連接有自來水供水管,本實用新型可以實現多種污水的自動收集,污水中固體雜質和沉淀容易清理不變臭,可自動加水沖廁,安全環保,大大節約水資源,實現了家庭用水的二次使用。
權利要求書
1.家庭廁所污水二次利用系統,包括污水收集總管、水箱、液位傳感器、注水控制器和注水控制閥,所述液位傳感器、注水控制器和注水控制閥依次連接,所述液位傳感器置于所述水箱內;其特征在于:所述污水收集總管的上面設有若干個污水收集管接頭,所述水箱的底部從左往右傾斜向下,且所述水箱的底部最右端設有排污管,所述排污管的底部設有可拆卸的堵頭;所述水箱內還設有抽水管,所述抽水管通過水泵與注水控制閥相連,所述注水控制閥的另一側連接有自來水供水管。
2.根據權利要求1所述的家庭廁所污水二次利用系統,其特征在于:所述污水收集管接頭為1-3個。
3.根據權利要求1所述的家庭廁所污水二次利用系統,其特征在于:所述污水收集管接頭為2個。
4.根據權利要求1所述的家庭廁所污水二次利用系統,其特征在于:所述水箱的左側一端設有沖污管。
5.根據權利要求4所述的家庭廁所污水二次利用系統,其特征在于:所述水箱內于所述沖污管的上方設有過濾網,所述污水收集總管插入水箱內并開口于所述過濾網的下方。
6.根據權利要求5所述的家庭廁所污水二次利用系統,其特征在于:所述過濾網為50-100目。
說明書
家庭廁所污水二次利用系統
技術領域
本實用新型屬于移動廁所領域,具體涉及一種家庭廁所污水二次利用系統。
背景技術
家庭當中,每天都會使用大量水資源,如洗菜、洗衣、洗手等等,這些水直接排出到下水道將會造成極大的浪費。如果可以將這些水收集起來,用來沖廁所而進行二次利用,這將極大地節省了水資源。但是直接用水盆接了存在水桶里,用的時候人工用缸子舀起來沖費時費力,并且水中這些水含有較多的固體雜質和沉淀不易清理,經過幾天容易變臭,這些都影響著污水的二次使用。
實用新型內容
本實用新型提供了一種家庭廁所污水二次利用系統,解決了污水的自動收集,污水固體雜質和沉淀不易清理和自動加水的技術問題。
家庭廁所污水二次利用系統,包括污水收集總管、水箱、液位傳感器、注水控制器和注水控制閥,所述液位傳感器、注水控制器和注水控制閥依次連接,所述液位傳感器置于所述水箱內;所述污水收集總管的上面設有若干個污水收集管接頭,所述水箱的底部從左往右傾斜向下,且所述水箱的底部最右端設有排污管,所述排污管的底部設有可拆卸的堵頭;所述水箱內還設有抽水管,所述抽水管通過水泵與注水控制閥相連,所述注水控制閥的另一側連接有自來水供水管。
所述污水收集管接頭為1-3個。
所述污水收集管接頭為2個。
所述水箱的左側一端設有沖污管。
所屬水箱內于所述沖污管的上方設有過濾網,所述污水收集總管插入水箱內并開口于所述過濾網的下方。
所述過濾網為50-100目。
本實用新型的有益技術效果:本實用新型包括可存水的水箱、液位傳感器和注水控制閥等,因此可以通過檢測水箱內存水多少而自動選擇用二次利用水還是自來水進行沖廁所;本實用新型的污水收集總管上面設有若干個污水收集管接頭,因此可以選擇連接洗衣機、洗菜池、洗手池中的一個或多個,將生活用水收集起來,以備沖廁所用;本實用新型的水箱底部從左往右傾斜向下,且底部的最右端設有排污管即整個水箱最往下的地方設有排污管,并且排污管底部設有可拆卸的堵頭,因此,生活用水收集之后,其中的固體雜質或者沉淀將會往右側堆積,使用一段時間之后,將堵頭卸下,水流將沖刷固體雜質或者沉淀沖排污管排出從而達到清理的效果;在清理固體雜質或者沉淀時,沖污管的設計,可以提供清潔的水流清洗水箱底部,將沖污管設計到最左側的側面,即傾斜坡的上方一側,能夠使水箱底部的清理效果更好并且清理更簡便;而將過濾網設在沖污管和污水收集總管底部開口的上方,首先保證了不影響沖污管的使用,并且污水中的固體雜質或者沉積物不能漂流島過濾網上方而引起沖廁不干凈甚至堵塞。因此,本實用新型可以實現多種污水的自動收集,污水中固體雜質和沉淀容易清理不變臭,可自動加水沖廁,安全環保,大大節約水資源,對環境友善,實現了家庭用水的二次使用。



