申請日2016.04.29
公開(公告)日2016.09.14
IPC分類號C02F9/04; C02F101/20
摘要
本實用新型公開了一種重金屬廢水集成化處理裝置。該裝置包括順序連通的1#反應器、2#反應器、絮凝反應器、泥水分離槽及反滲透裝置。該1#反應器的進水口連接污水泵,1#反應器內設置反應攪拌機、ORP計、PH計;絮凝反應器內設置絮凝攪拌機;泥水分離槽內設置磁盤,泥水分離槽上設置出水口,一鏟泥板設置于磁盤的一側;1#反應器、2#反應器及絮凝反應器一側分別設置加藥計量泵,各加藥計量泵設置加藥箱,且各加藥計量泵的加藥管分別伸入1#反應器、2#反應器或絮凝反應器內;ORP計、PH計連接一PLC控制器的輸入端,各加藥計量泵、反應攪拌機、絮凝攪拌器、磁盤驅動電機連接于PLC控制器的輸出端。
權利要求書
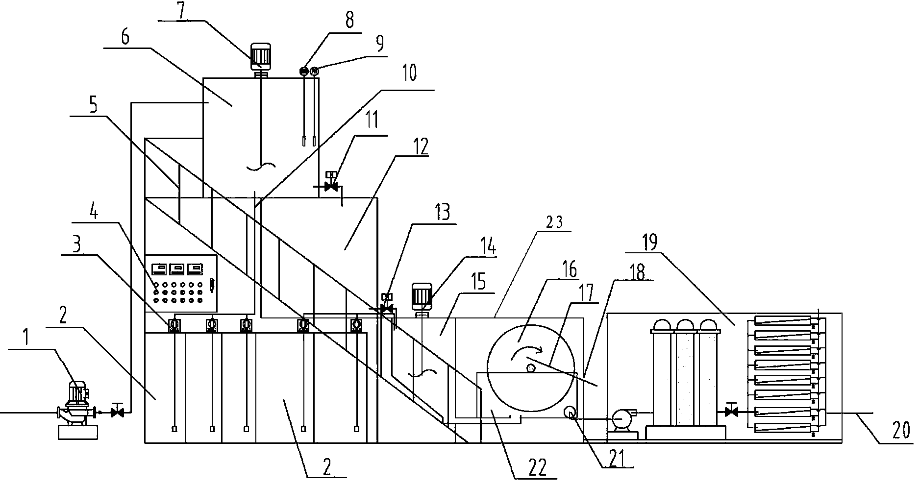
1.一種重金屬廢水集成化處理裝置,其特征在于包括順序連通的1#反應器(6)、2#反應器(12)、絮凝反應器(15)、泥水分離槽(22)及反滲透裝置(19),該1#反應器的進水口連接污水泵(1),1#反應器內設置反應攪拌機(7),且1#反應器上設置ORP計(8)、PH計(9);絮凝反應器內設置絮凝攪拌機(14);泥水分離槽設置于水箱(23)內,且泥水分離槽內設置磁盤(16),泥水分離槽上設置泥水分離槽出水口(21),水箱的一側設置出泥口(18),一鏟泥板(17)經出泥口、泥水分離槽設置于磁盤的一側;該水箱的下部連通帶反滲透出水口(20)的反滲透裝置;1#反應器(6)、2#反應器(12)及絮凝反應器(15)的一側分別設置加藥計量泵(3),各加藥計量泵分別設置對應的加藥箱(2),且各加藥計量泵的加藥管(10)分別對應伸入1#反應器(6)、2#反應器(12)或絮凝反應器(15)內,1#反應器對應的加藥箱內裝設有氧化還原劑和堿液,2#反應器對應的加藥箱內裝設有重金屬離子去除劑,絮凝反應器對應的加藥箱內裝設磁種和高分子絮凝劑;ORP計(8)、PH計(9)連接一PLC控制器(4)的輸入端,各加藥計量泵(3)、反應攪拌機(7)、絮凝攪拌機(14)、磁盤(16)的驅動電機連接于PLC控制器(4)的輸出端。
2.根據權利要求1所述的重金屬廢水集成化處理裝置,其特征在于,所述1#反應器經電磁閥(11)連通2#反應器,2#反應器經恒流電磁閥(13)連通絮凝反應器,且電磁閥(11)、恒流電磁閥(13)連接于PLC控制器(4)的輸出端。
3.根據權利要求1所述的重金屬廢水集成化處理裝置,其特征在于,所述重金屬離子去除劑中含有三嗪類組分。
4.根據權利要求1所述的重金屬廢水集成化處理裝置,其特征在于,所述1#反應器(6)、2#反應器(12)及絮凝反應器(15)的一側設置扶梯。
說明書
重金屬廢水集成化處理裝置
技術領域
本實用新型涉及一種適應于重金屬廢水集成化處理與回用的裝置。
背景技術
目前,公知的重金屬廢水處理有化學法、物理法和生物法等,化學沉淀法是使廢水中呈溶解狀態的重金屬轉變為不溶于水的重金屬化合物的方法,包括化學氧化還原、中和沉淀法和硫化物沉淀法等。物理法是在不改變其金屬離子本身狀態的同時把其分離出來,包括溶劑萃取分離、吸附法、膜分離法、離子交換處理法等。生物法是利用耐重金屬毒性微生物的特性處理重金屬廢水,根據生物去除重金屬離子的機理不同可分為生物絮凝法、生物吸附法、生物化學法以及植物修復法。但是,上述各種方法都存在某方面的局限性,操作流程繁瑣,過程難以控制,使用費用較大,在中小企業中使用存在推廣難度大,消耗資源大的問題。
污泥處理的傳統方法仍然是通過沉淀和氣浮等設備,處理過程中要占用大量的土建設施和設備,污水提升次數過多,能源消耗大,用于處置污泥的沉淀池、壓濾機等設備占用面積較大,污泥干化難度大。在污水處理固液分離中有一種方法是磁分離法,就是在泥水分離過程中植入磁種,再通過磁性材料分離出磁種及污泥。這種方法可簡化泥水分離過程,減小能耗。
實用新型內容
為了簡化傳統重金屬廢水處理繁瑣的處理流程,簡化廢水處理的操練過程,本實用新型把重金屬污水處理過程中的檢測,加藥反應,泥水分離(磁分離),澄清,反滲透,多個過程集成在一個設備里,把間歇式反應、連續出水出泥相結合形成了一種重金屬廢水集成化處理裝置。
本實用新型解決其技術問題所采用的技術方案是:一種重金屬廢水集成化處理裝置,其包括順序連通的1#反應器、2#反應器、絮凝反應器、泥水分離槽及反滲透裝置,該1#反應器的進水口連接污水泵,1#反應器內設置反應攪拌機,且1#反應器上設置ORP計、PH計;絮凝反應器內設置絮凝攪拌器;泥水分離槽設置于水箱內,且泥水分離槽內設置磁盤,泥水分離槽上設置泥水分離槽出水口,水箱的一側設置出泥口,一鏟泥板經出泥口、泥水分離槽設置于磁盤的一側;該水箱的下部連通帶出水口的反滲透裝置;1#反應器、2#反應器及絮凝反應器的一側分別設置加藥計量泵,各加藥計量泵分別設置對應的加藥箱,且各加藥計量泵的加藥管分別對應伸入1#反應器、2#反應器或絮凝反應器內,1#反應器對應的加藥箱內裝設有氧化還原劑和堿液,2#反應器對應的加藥箱內裝設有重金屬離子去除劑,絮凝反應器對應的加藥箱內裝設磁種和高分子絮凝劑;ORP計、PH計連接一PLC控制器的輸入端,各加藥計量泵、反應攪拌機、絮凝攪拌器、磁盤的驅動電機連接于PLC控制器的輸出端。
所述1#反應器經電磁閥連通2#反應器,2#反應器經恒流電磁閥連通絮凝反應器,且電磁閥、恒流電磁閥連接于PLC控制器的輸出端。
所述重金屬離子去除劑中含有三嗪類組分。
所述1#反應器、2#反應器及絮凝反應器的一側設置扶梯。
本實用新型還提供了一種利用上述裝置進行重金屬廢水集成化處理方法,其包括步驟為:
1)污水泵入1#反應器,在1#反應器內加入堿液,并使藥水與污水充分反應,污水PH值調整至2-3;
2)在1#反應器內加入氧化還原劑將污水的ORP值調整至設定值后,繼續加入堿液將污水的PH值調整至9;
3)污水進入2#反應器,加入定量的重金屬離子去除劑反應;
4)污水經2#反應器處理后進入絮凝反應器,絮凝反應器中加入磁種和高分子絮凝劑,經過混合反應后,金屬離子沉淀物、磁種、高分子絮凝劑形成包裹磁種在內的大絮凝團;
5)污水繼續泥水分離槽,含磁種的絮凝團被磁盤捕獲并擠出水分形成泥團附著在磁盤上帶出水面,泥團經鏟泥板鏟下,從出泥口排出,直接打包外運;
6)去除絮凝團的清水進入反滲透裝置,去除污染因子后從反滲透出水口排出,直接回用。
本實用新型的有益效果是,使得整個重金屬污水處理過程簡單化,把多種處理方法集為一體,采用PLC控制器,便于操作,且對水質的控制(如PH值、ORP值、重金屬離子)更加方便,出水可以直接回用,機器直接排泥,使整個生產過程完全做到零排放。



