申請日2016.04.29
公開(公告)日2016.09.28
IPC分類號C02F9/04; C02F101/22; C02F103/14
摘要
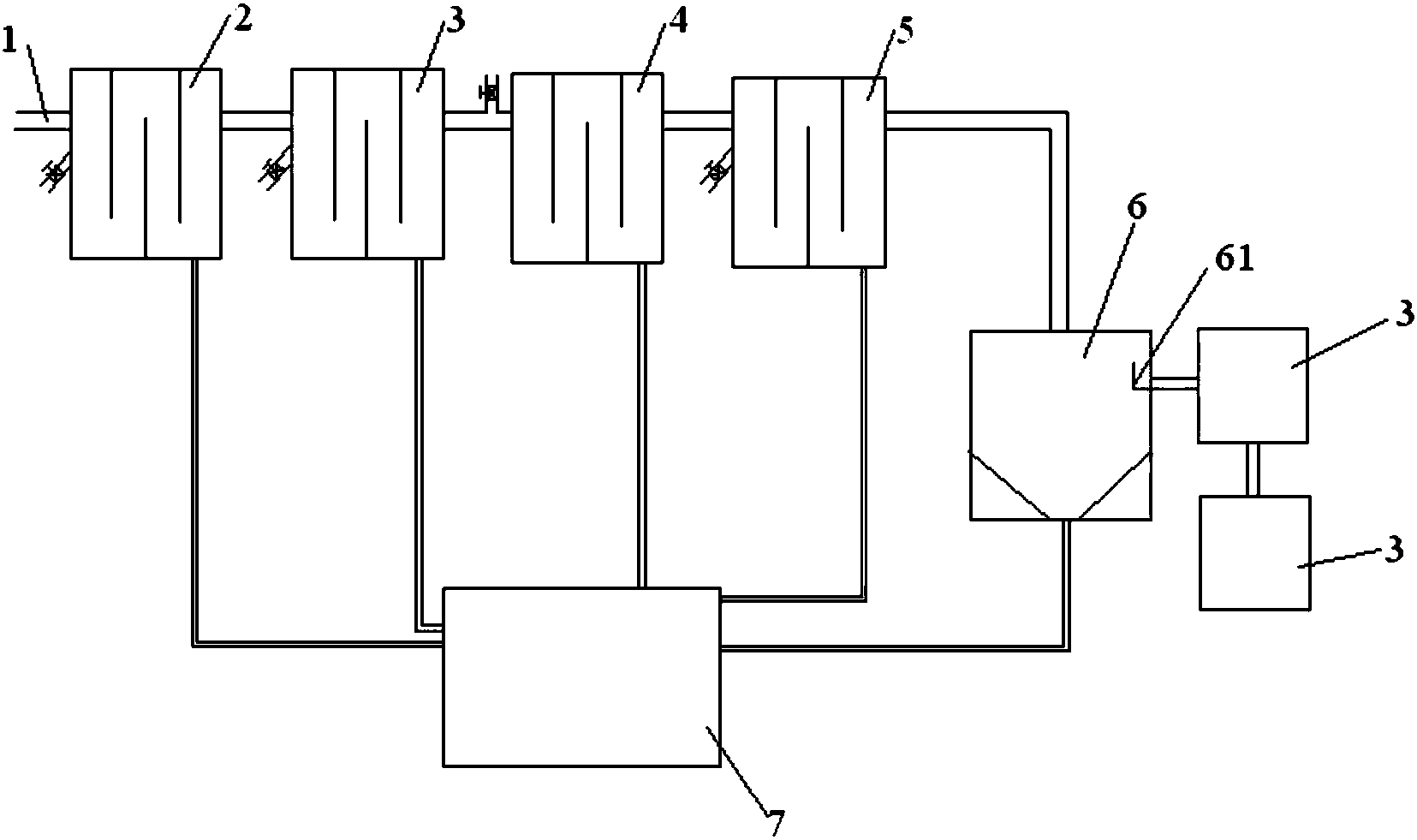
本實用新型涉及一種用于半無機涂層生產的廢水處理系統,包括廢水進口、一級還原池、二級還原池、中和池、絮凝池、斜板沉淀池及污泥處理系統;斜板沉淀池包括清水室和沉淀室;沉淀室設置有多個斜坡狀梯形臺,沉淀室下設置有一排泥管;清水室設有溢流堰,溢流堰連接一清水池;一級還原池、二級還原池、中和池和絮凝池內部均設置有水流擋板;一級還原池、二級還原池、中和池和絮凝池底部均設置有排泥管。本實用型的用于半無機涂層生產的廢水處理系統通過水流擋板引導廢水在各反應池中流動,充分接觸藥劑進行反應,減少藥劑的用量,提高了反應效率,以達到徹底處理廢水、減少環境污染的效果。
權利要求書
1.一種用于半無機涂層生產的廢水處理系統,其特征在于,包括廢水進口、一級還原池、二級還原池、中和池、絮凝池、斜板沉淀池及污泥處理系統;
所述廢水進口、所述一級還原池、所述二級還原池、所述中和池、所述絮凝池和所述斜板沉淀池順次連接;
所述斜板沉淀池包括清水室和沉淀室,所述清水室設置于所述沉淀室上方;所述沉淀室設置有多個斜坡狀梯形臺,所述沉淀室下設置有一排泥管,所述排泥管與所述污泥處理系統連接;所述清水室設有溢流堰,所述溢流堰連接一清水池;
所述一級還原池、所述二級還原池、所述中和池和所述絮凝池內部均設置有水流擋板;
所述一級還原池、所述二級還原池、所述中和池和所述絮凝池底部均設置有排泥管,所述排泥管均與所述污泥處理系統連接。
2.如權利要求1所述的一種用于半無機涂層生產的廢水處理系統,其特征在于:所述一級還原池、所述二級還原池、所述中和池和所述絮凝池內部的水流擋板均設置有三塊,三塊所述水流擋板分別交錯固定于所述一級還原池、所述二級還原池、所述中和池和所述絮凝池內部的上下兩側,并豎直平行設立。
3.如權利要求1或2所述的一種用于半無機涂層生產的廢水處理系統,其特征在于:所述一級還原池的進水口處設置有硫酸進料管和第一還原劑進料管。
4.如權利要求1或2所述的一種用于半無機涂層生產的廢水處理系統,其特征在于:所述二級還原池的進水口處設置有第二還原劑進料管。
5.如權利要求1或2所述的一種用于半無機涂層生產的廢水處理系統,其特征在于:所述中和池與所述二級還原池的連接管道上設置有堿液進料口。
6.如權利要求1或2所述的一種用于半無機涂層生產的廢水處理系統,其特征在于:所述絮凝池的進水口處設置有絮凝劑進料口。
7.如權利要求1或2所述的一種用于半無機涂層生產的廢水處理系統,其特征在于:所述污泥處理系統包括濃縮池和壓濾池,所述濃縮池和所述壓濾池的連接管道上設置有污泥泵。
說明書
一種用于半無機涂層生產的廢水處理系統
技術領域
本實用新型涉及一種廢水處理系統,尤其涉及一種用于半無機涂層生產的廢水處理系統。
背景技術
半無機涂層中大多含有鉻酸鹽,因此在涂層廢水中也會包含Cr6+。由于Cr6+具有高毒性和高致癌性,因此廢水必須嚴格控制,妥善處理。現有技術中,涂層廢水處理過程很難達標,難以達到排放標準,對操作人員身體健康造成一定的損害的同時,還會造成環境污染。
因此有必要設計一種用于半無機涂層生產的廢水處理系統,以克服上述問題。
實用新型內容
本實用新型的目的在于克服現有技術之缺陷,提供了一種能徹底處理廢水、減少環境污染的用于半無機涂層生產的廢水處理系統。
本實用新型是這樣實現的:
本實用新型提供一種用于半無機涂層生產的廢水處理系統,包括廢水進口、一級還原池、二級還原池、中和池、絮凝池、斜板沉淀池及污泥處理系統;廢水進口、一級還原池、二級還原池、中和池、絮凝池和斜板沉淀池順次連接;斜板沉淀池包括清水室和沉淀室,清水室設置于沉淀室上方;沉淀室設置有多個斜坡狀梯形臺,沉淀室下設置有一排泥管,排泥管與污泥處理系統連接;清水室設有溢流堰,溢流堰連接一清水池;一級還原池、二級還原池、中和池和絮凝池內部均設置有水流擋板;一級還原池、二級還原池、中和池和絮凝池底部均設置有排泥管,排泥管均與污泥處理系統連接。
其中,一級還原池、二級還原池、中和池和絮凝池內部的水流擋板均設置有三塊,三塊水流擋板分別交錯固定于一級還原池、二級還原池、中和池和絮凝池內部的上下兩側,并豎直平行設立。
其中,一級還原池的進水口處設置有硫酸進料管和第一還原劑進料管。
其中,二級還原池的進水口處設置有第二還原劑進料管。
其中,中和池與二級還原池的連接管道上設置有堿液進料口。
其中,絮凝池的進水口處設置有絮凝劑進料口。
其中,污泥處理系統包括濃縮池和壓濾池,濃縮池和壓濾池的連接管道上設置有污泥泵。
本實用新型具有以下有益效果:
本實用型的用于半無機涂層生產的廢水處理系統通過水流擋板引導廢水在各反應池中流動,充分接觸藥劑進行反應,減少藥劑的用量,提高了反應效率,以達到徹底處理廢水、減少環境污染的效果。



