申請日2015.06.11
公開(公告)日2015.08.26
IPC分類號C02F11/02; C02F11/00
摘要
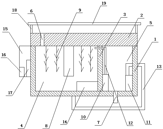
本發明公開一種環保型生物式污泥處理裝置,包括箱體和與之匹配的箱蓋,所述箱體頂部通過支架連接有太陽能電池板,箱體內部被豎直的隔板隔成消化區和沉淀區兩個獨立的腔體,箱蓋上表面與消化區對應的位置開有進泥口,箱體下表面與沉淀區對應的位置開有出水口,箱體內底面與消化區對應的位置設有曝氣管,所述箱體下表面設有與曝氣管連通的曝氣機,箱蓋下表面與沉淀區對應的位置均勻設有生物載體,所述沉淀區內底面設有污泥回流泵和進泥泵,所述污泥回流泵和進泥泵分別通過回流管和出泥管與消化區連通。本發明效率高、運行成本低,并且能夠智能的控制污泥的消化時間和沉淀時間。
摘要附圖
權利要求書
1.一種環保型生物式污泥處理裝置,其特征在于:包括箱體(1)和與之匹配的箱蓋(2),所述箱體(1)頂部通過支架(18)連接有太陽能電池板(19),箱體(1)內部被豎直的隔板(3)隔成消化區(4)和沉淀區(5)兩個獨立的腔體,箱蓋(2)上表面與消化區(4)對應的位置開有進泥口(6),箱體(1)下表面與沉淀區(5)對應的位置開有出水口(7),箱體(1)內底面與消化區(4)對應的位置設有曝氣管,所述箱體(1)下表面設有與曝氣管連通的曝氣機(8),箱蓋(2)下表面與沉淀區(5)對應的位置均勻設有生物載體(9),所述沉淀區(5)內底面設有污泥回流泵(10)和進泥泵(11),所述污泥回流泵(10)和進泥泵(11)分別通過回流管(12)和出泥管(13)與消化區(4)連通,所述消化區(4)內底面設有污泥成分檢測裝置(14),所述箱體(1)其中一側面設有控制柜(15),所述控制柜(15)內設有單片機(16)和蓄電池(17),所述污泥成分檢測裝置(14)的信號輸出端與單片機(16)的信號輸入端連接,所述太陽能電池板(19)的電源輸出端與蓄電池(17)的電源輸入端連接,所述蓄電池(17)的電源輸出端與單片機(16)的電源輸入端連接,所述單片機(16)的電源輸出端與曝氣機(8)、污泥回流泵(10)和進泥泵(11)的電源輸入端連接。
2.根據權利要求1所述的環保型生物式污泥處理裝置,其特征在于:所述支架(18)為伸縮結構。
3.根據權利要求1或2所述的環保型生物式污泥處理裝置,其特征在于:所述生物載體(9)為豎直設置的軟性條狀。
4.根據權利要求1或2所述的環保型生物式污泥處理裝置,其特征在于:所述污泥回流泵(10)和進泥泵(11)均通過安裝板設置于沉淀區(5)內底面。
5.根據權利要求1或2所述的環保型生物式污泥處理裝置,其特征在于:所述控制柜(15)與箱體(1)焊接。
說明書
環保型生物式污泥處理裝置
技術領域
本發明屬于環保領域,具體涉及一種環保型生物式污泥處理裝置。
背景技術
在污泥處理中,一般采用生化處理。生化處理凈化污泥的同時,微生物的新陳代謝會產生大量的污泥,這些污泥需要進行進一步的處理。壓濾填埋和焚燒是常用的處理方法,這種方式成本太高,而且容易造成二次污染。
目前,常用的污泥處理裝置中的曝氣和回流是用曝氣機和回流泵來完成的,它們在工作的過程中都會消耗大量的電力。另外,污泥的處理過程中,污泥何時進行排放都是人工根據經驗來判斷的,不能智能的進行。
發明內容
本發明所要解決的技術問題便是針對上述現有技術的不足,提供一種環保型生物式污泥處理裝置,效率高、運行成本低,并且能夠智能的控制污泥的消化時間和沉淀時間。
本發明所采用的技術方案是:一種環保型生物式污泥處理裝置,包括箱體和與之匹配的箱蓋,所述箱體頂部通過支架連接有太陽能電池板,箱體內部被豎直的隔板隔成消化區和沉淀區兩個獨立的腔體,箱蓋上表面與消化區對應的位置開有進泥口,箱體下表面與沉淀區對應的位置開有出水口,箱體內底面與消化區對應的位置設有曝氣管,所述箱體下表面設有與曝氣管連通的曝氣機,箱蓋下表面與沉淀區對應的位置均勻設有生物載體,所述沉淀區內底面設有污泥回流泵和進泥泵,所述污泥回流泵和進泥泵分別通過回流管和出泥管與消化區連通,所述消化區內底面設有污泥成分檢測裝置,所述箱體其中一側面設有控制柜,所述控制柜內設有單片機和蓄電池,所述污泥成分檢測裝置的信號輸出端與單片機的信號輸入端連接,所述太陽能電池板的電源輸出端與蓄電池的電源輸入端連接,所述蓄電池的電源輸出端與單片機的電源輸入端連接,所述單片機的電源輸出端與曝氣機、污泥回流泵和進泥泵的電源輸入端連接。
作為優選,所述支架為伸縮結構。
作為優選,所述生物載體為豎直設置的軟性條狀。
作為優選,所述污泥回流泵和進泥泵均通過安裝板設置于沉淀區內底面。
作為優選,所述控制柜與箱體焊接。
本發明的有益效果在于:進泥口可方便的朝箱體內注入污泥。消化區用于對污泥進行消化。曝氣機可在生物載體表面形成薄膜。進泥泵用于將經過處理的污泥抽入沉淀區。污泥回流泵可將沉淀區的污泥回流回箱體。污泥成分檢測裝置檢測污泥的成分,以控制真個系統的運行。太陽能電池板為整個處理裝置提供電力。單片機作為整個處理裝置的總控制,控制污泥消化、沉淀的順利進行。






