申請日2015.06.11
公開(公告)日2015.09.09
IPC分類號C02F3/30; C02F3/12
摘要
一種高效脫氮好氧顆粒污泥反應器及污水處理方法,屬于污水處理技術領域。包括用于接種好氧顆粒污泥的反應器主體,反應器主體底部設置進水口、頂部設置液位計,反應器主體中部設置出水口,反應器主體腔體內設置曝氣裝置,反應器主體底部設置環狀導流槽,曝氣裝置與鼓風機連接,進水口與進水泵連接,進水泵與污水配水池連接;還包括控制器,控制器與進水泵、鼓風機、液位計控制連接。該污水處理方法采用序批式運行方式,運行周期包括進水、曝氣、沉降、出水四個階段,裝置內所有進水、曝氣、出水均由控制器自動化控制。上述一種高效脫氮好氧顆粒污泥反應器及污水處理方法,具有污染物去除效率高、工藝成本低、占地面積小、產泥量低、易于大規模的應用等特點。
摘要附圖
權利要求書
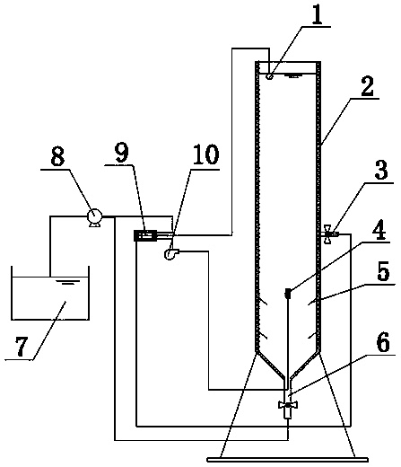
1.一種高效脫氮好氧顆粒污泥反應器,其特征在于包括用于接種好氧顆粒污泥的反應器主體(2),反應器主體(2)底部設置進水口(6)、頂部設置液位計(1),反應器主體(2)中部設置出水口(3),反應器主體(2)腔體內設置曝氣裝置(4),曝氣裝置(4)設置在反應器主體(2)總高度1/3-1/4位置,反應器主體(2)底部與曝氣裝置(4)之間每隔反應器主體(2)總高度1/8-1/10位置設置一個環狀導流槽(5),環狀導流槽(5)固定在反應器主體(2)內壁上,曝氣裝置(4)通過進氣管與鼓風機(10)連接,進水口(6)通過進水管與進水泵(8)連接,進水泵(8)與污水配水池(7)連接;還包括控制器(9),控制器(9)與進水泵(8)、鼓風機(10)、液位計(1)控制連接。
2.如權利要求1所述的一種高效脫氮好氧顆粒污泥反應器,其特征在于反應器主體(2)的高度和內徑的比值為5-7:1。
3.如權利要求1所述的一種高效脫氮好氧顆粒污泥反應器,其特征在于曝氣裝置(4)設置在反應器主體(2)總高度1/3-1/4位置,使得反應器主體(2)腔體上部成為好氧區,腔體下部成為缺氧區。
4.如權利要求1所述的一種高效脫氮好氧顆粒污泥反應器,其特征在于所述的環狀導流槽(5)向反應器主體(2)腔體內傾斜設置,環狀導流槽(5)與水平面的夾角為40-50度,環狀導流槽(5)的寬度為反應器主體(2)內徑的1/9-1/11。
5.采用權利要求1所述的一種高效脫氮好氧顆粒污泥反應器的污水處理方法,其特征在于該污水處理方法采用序批式運行方式,運行周期包括進水、曝氣、沉降、出水四個階段,裝置內所有進水、曝氣、出水均由控制器(9)自動化控制;
1)進水:在反應器主體(2)中接種好氧顆粒污泥,接種泥量3000-5000mg/L,將待處理的市政污水先接入污水配水池(7),通過進水泵(8)將污水從反應器主體(2)底部的進水口(6)送入反應器主體(2)腔體內,進水時間為5-15min,通過反應器主體(2)頂部的液位計(1)控制進水上液面;
2)曝氣:通過鼓風機(10)給曝氣裝置(4)進氣,采用空氣曝氣,表面氣速0.5-1.5cm/s,曝氣裝置(4)設置在反應器主體(2)總高度1/3-1/4位置,使得反應器主體(2)腔體上部成為好氧區,腔體下部成為缺氧區;此時好氧區與缺氧區的體積為3-5:1;曝氣裝置(4)產生的氣泡帶動水流及顆粒污泥在中心區域向上運動,顆粒污泥到達反應器主體(2)頂部后,在水流的作用下沿反應器主體(2)壁面向下運動至反應器主體(2)底部;在底部環狀導流槽(5)的作用下,部分污泥在反應器主體(2)腔體底部缺氧區循環,部分污泥向反應器主體(2)腔體中心匯集并再次被曝氣產生氣泡帶入上行水流,曝氣時間為150-250min;
3)沉降:停止曝氣后進行5-15min的靜置,使反應器中顆粒污泥沉降并與水分離;
4)出水:泥水分離完全后,通過反應器的出水口(3)將處理后污水排出,出水時間5-15min。
6.如權利要求5所述的采用權利要求1的一種高效脫氮好氧顆粒污泥反應器的污水處理方法,其特征在于所述污水配水池(7)中的市政污水,COD濃度300-500mg/L,氨氮50-100mg/L,容積負荷0.9-1.5 kg/COD·m3·d。
7.如權利要求5所述的采用權利要求1的一種高效脫氮好氧顆粒污泥反應器的污水處理方法,其特征在于所述的好氧顆粒污泥采用污水處理二沉池回流污泥。
8.如權利要求5所述的采用權利要求1的一種高效脫氮好氧顆粒污泥反應器的污水處理方法,其特征在于步驟1)中:接種泥量3500-4500mg/L,優選4500 mg/L。
9.如權利要求5所述的采用權利要求1的一種高效脫氮好氧顆粒污泥反應器的污水處理方法,其特征在于步驟2)中:表面氣速0.8-1.2cm/s,優選1cm/s;曝氣時間為180-220min,優選200min。
說明書
一種高效脫氮好氧顆粒污泥反應器及污水處理方法
技術領域
本發明屬于污水處理技術領域,具體為一種高效脫氮好氧顆粒污泥反應器及污水處理方法。
背景技術
近年來,隨著城鎮化發展,我國水體污染已由COD為代表的“有機物污染”向氮素污染的“富營養化污染”轉化。水體環境中氮素污染嚴重,氮素超標所導致的湖泊藻類爆發及沿海“赤潮”頻頻發生,但我國目前較多的傳統活性污泥法污水處理廠工藝仍不具有高效的脫氮能力,污水處理廠尾水達標排放成為迫切需要解決的問題。傳統活性污泥工藝對總氮去除效率較低,為提高脫氮效果,在傳統活性污泥工藝的基礎上開發了強化脫氮工藝(如厭氧-缺氧-好氧工藝),通過設置具有不同溶解氧含率的反應單元來實現微生物功能分區,進而實現反硝化脫氮。由于需要建設獨立反應單元及污泥回流,強化脫氮工藝增加了建設及運行費用。另一方面,市政污水尤其是小城鎮生活污水具有COD低氨氮高的特點,往往需要在反硝化過程中投加碳源,從而增加了脫氮的成本。
好氧顆粒污泥具有致密的結構,良好的沉降性能,抗沖擊能力及良好的污染物處理能力。其內部由于傳質阻力對溶解氧的限制,具有由外向內形成好氧區-缺氧區結構,為脫氮微生物群落提供了合適的生存環境,顆粒內部存在同步硝化反硝化作用,使好氧顆粒污泥具有良好的脫氮效果,且無須額外設置反硝化池及外碳源投加。由于好氧顆粒污泥工藝無需獨立設置二沉池及反硝化池,其減少了75%的占地面積及50%的能耗。
目前好氧顆粒污泥法主要應用于屠宰,釀造等高強度廢水處理(容積負荷3 kg/COD·m3·d以上),具有良好的污染物脫除效果。但在低強度進水條件(容積負荷1.5 kg/COD·m3·d以下)下,好氧顆粒污泥存在總氮去除效果處理差的問題。目前,我國大多數市政污水處理廠進水濃度及負荷均較低(進水COD小于500mg/L,容積負荷小于1.5 kg/COD·m3·d),對好氧顆粒污泥工藝的應用造成了制約。高強度進水條件下,好氧顆粒污泥生長速率快,從而形成粒徑較大的致密顆粒(平均粒徑可達1cm以上)。傳質阻力的限制使溶解氧無法滲透入顆粒內部,在顆粒結構中形成了由外向內的好氧-缺氧區,為脫氮微生物群落提供了合適的生存環境,從而具有良好同步脫氮效果。而在低強度進水條件下,好氧顆粒污泥生長變慢,形成的顆粒粒徑小(平均粒徑小于0.5mm),傳質阻力低,使溶解氧能滲透進入顆粒內部。同時,低強度進水條件下COD及氨氮被迅速氧化,使反應器中溶解氧含量迅速回升,進一步促進了溶解氧在顆粒內部的傳質,抑制了同步硝化反硝化作用。通過降低曝氣強度能降低溶解氧含量,但同時降低了水力剪切。研究表明高水力剪切有利于胞外聚合物的產生,其作用是提高了好氧顆粒污泥的疏水性,降低了表面吉布斯自由能,增強了污泥親和力,進而促進顆粒化。當水力剪切降低時,好氧顆粒污泥的穩定性迅速下降,容易導致顆粒污泥失穩解體。因此在低COD高氨氮的低強度進水條件下,如何提升好氧顆粒污泥脫氮效果成為主要研究問題。
發明內容
針對現有技術中存在的上述問題,本發明的目的在于設計提供一種高效脫氮好氧顆粒污泥反應器及污水處理方法的技術方案,其通過降低反應器底部溶解氧產生缺氧分區,限制溶解氧在顆粒內部的滲透從而形成好氧-缺氧區,強化低強度進水條件下同步脫氮及總氮去除效果。
所述的一種高效脫氮好氧顆粒污泥反應器,其特征在于包括用于接種好氧顆粒污泥的反應器主體,反應器主體底部設置進水口、頂部設置液位計,反應器主體中部設置出水口,反應器主體腔體內設置曝氣裝置,曝氣裝置設置在反應器主體總高度1/3-1/4位置,反應器主體底部與曝氣裝置之間每隔反應器主體總高度1/8-1/10位置設置一個環狀導流槽,環狀導流槽固定在反應器主體內壁上,曝氣裝置通過進氣管與鼓風機連接,進水口通過進水管與進水泵連接,進水泵與污水配水池連接;還包括控制器,控制器與進水泵、鼓風機、液位計控制連接。
所述的一種高效脫氮好氧顆粒污泥反應器,其特征在于反應器主體的高度和內徑的比值為5-7:1。
所述的一種高效脫氮好氧顆粒污泥反應器,其特征在于曝氣裝置設置在反應器主體總高度1/3-1/4位置,使得反應器主體腔體上部成為好氧區,腔體下部成為缺氧區。
所述的一種高效脫氮好氧顆粒污泥反應器,其特征在于所述的環狀導流槽向反應器主體腔體內傾斜設置,環狀導流槽與水平面的夾角為40-50度,環狀導流槽的寬度為反應器主體內徑的1/9-1/11。
所述的一種高效脫氮好氧顆粒污泥反應器的污水處理方法,其特征在于該污水處理方法采用序批式運行方式,運行周期包括進水、曝氣、沉降、出水四個階段,裝置內所有進水、曝氣、出水均由控制器自動化控制;
1)進水:在反應器主體中接種好氧顆粒污泥,接種泥量3000-5000mg/L,將待處理的市政污水先接入污水配水池,通過進水泵將污水從反應器主體底部的進水口送入反應器主體腔體內,進水時間為5-15min,通過反應器主體頂部的液位計控制進水上液面;
2)曝氣:通過鼓風機給曝氣裝置進氣,采用空氣曝氣,表面氣速0.5-1.5cm/s,曝氣裝置設置在反應器主體總高度1/3-1/4位置,使得反應器主體腔體上部成為好氧區,腔體下部成為缺氧區;此時好氧區與缺氧區的體積為3-5:1;曝氣裝置產生的氣泡帶動水流及顆粒污泥在中心區域向上運動,顆粒污泥到達反應器主體頂部后,在水流的作用下沿反應器主體壁面向下運動至反應器主體底部;在底部環狀導流槽的作用下,部分污泥在反應器主體腔體底部缺氧區循環,部分污泥向反應器主體腔體中心匯集并再次被曝氣產生氣泡帶入上行水流,曝氣時間為150-250min;
3)沉降:停止曝氣后進行5-15min的靜置,使反應器中顆粒污泥沉降并與水分離;
4)出水:泥水分離完全后,通過反應器的出水口將處理后污水排出,出水時間5-15min。
所述的一種高效脫氮好氧顆粒污泥反應器的污水處理方法,其特征在于所述污水配水池中的市政污水,COD濃度300-500mg/L,氨氮50-100mg/L,容積負荷0.9-1.5 kg/COD·m3·d。
所述的一種高效脫氮好氧顆粒污泥反應器的污水處理方法,其特征在于所述的好氧顆粒污泥采用污水處理二沉池回流污泥。
所述的一種高效脫氮好氧顆粒污泥反應器的污水處理方法,其特征在于步驟1)中:接種泥量3500-4500mg/L,優選4500 mg/L。
所述的一種高效脫氮好氧顆粒污泥反應器的污水處理方法,其特征在于步驟2)中:表面氣速0.8-1.2cm/s,優選1cm/s;曝氣時間為180-220min,優選200min。
上述一種高效脫氮好氧顆粒污泥反應器及污水處理方法,通過調節曝氣裝置高度,降低反應器底部溶解氧,產生缺氧分區強化低COD高氨氮進水條件下的污染物去除效果;使出水COD及氨氮去除率達90%以上,總氮去除率達80%以上;同時,提高曝氣裝置高度降低了好氧區體積,使曝氣所需能耗降低了25%-35%;本發明具有污染物去除效率高、工藝成本低、占地面積小、產泥量低、易于大規模的應用等特點。






