申請日2015.06.11
公開(公告)日2015.09.09
IPC分類號C02F9/02
摘要
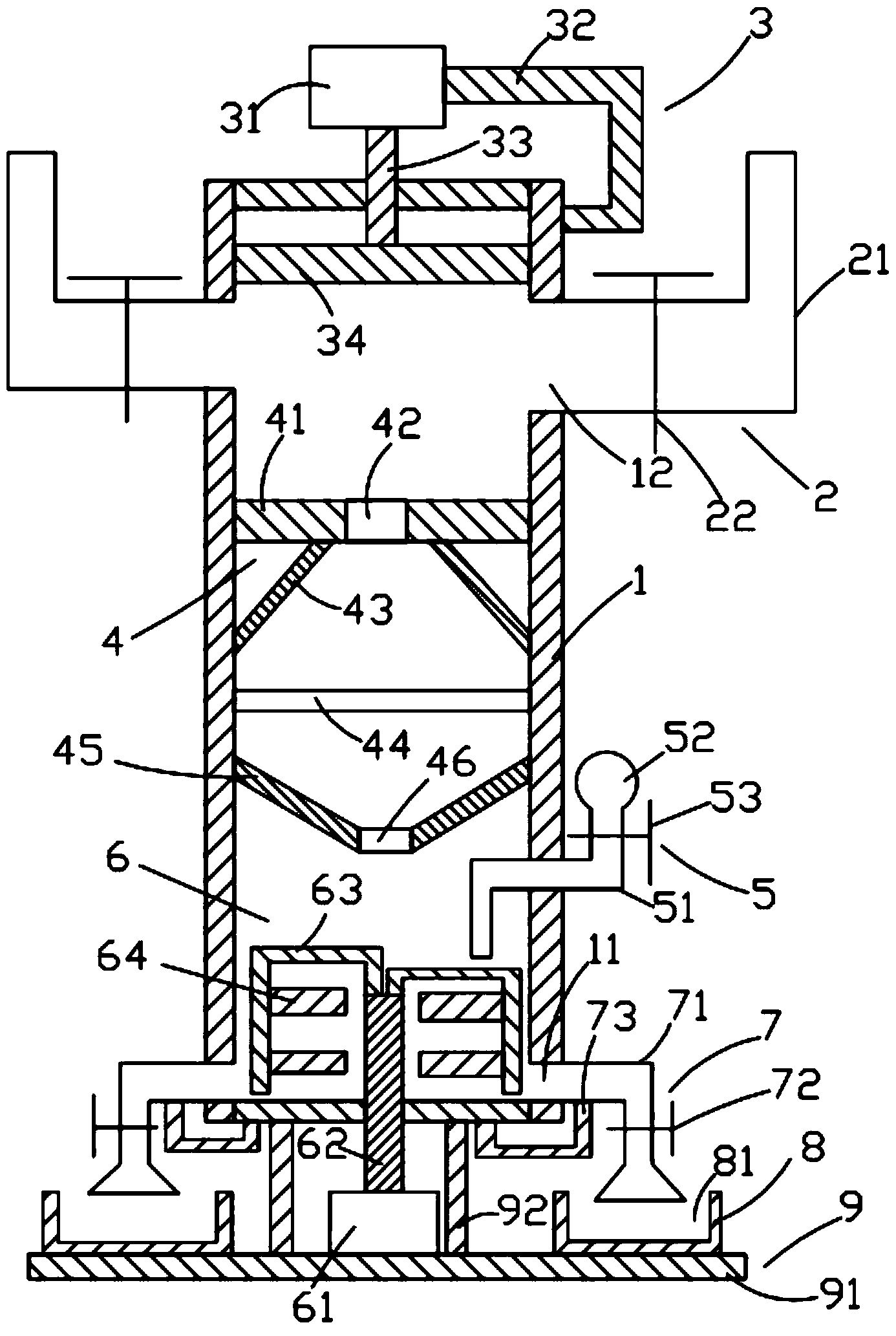
一種生活污水快速凈化裝置,包括框體、進水裝置、壓縮裝置、第一過濾裝置、氣囊裝置、攪拌裝置、出水裝置、收水箱及支撐裝置,框體上設有第一通孔及第二通孔,進水裝置包括進水管及第一閥門,壓縮裝置包括氣缸、第一支架、第一推動桿及第一壓縮板,第一過濾裝置包括第一擋板、第一斜板、第一過濾網及第二斜板,氣囊裝置包括氣囊、管道及第二閥門,攪拌裝置包括電機、轉軸、第一攪拌桿及第二攪拌桿,出水裝置包括出水管、第三閥門及第二支架,收水箱的上表面向下凹陷形成第一收容腔。本發明能夠對生活污水進行有效的凈化,凈化效果好,并且凈化效率高,能夠快速對生活污水進行凈化,節約時間,并且減少了環境污染,保護了環境。
摘要附圖
權利要求書
1.一種生活污水快速凈化裝置,其特征在于:所述生活污水快 速凈化裝置包括框體、位于所述框體左右兩側的進水裝置、設置于所 述框體上的壓縮裝置、位于所述壓縮裝置下方的第一過濾裝置、設置 于所述框體上的氣囊裝置、位于所述第一過濾裝置下方的攪拌裝置、 位于所述攪拌裝置左右兩側的出水裝置、位于所述出水裝置下方的收 水箱及位于所述框體下方的支撐裝置,所述框體上設有位于左右表面 上的第一通孔及位于所述第一通孔上方的第二通孔,所述進水裝置包 括進水管及設置于所述進水管上的第一閥門,所述壓縮裝置包括氣 缸、位于所述氣缸右側的第一支架、位于所述氣缸下方的第一推動桿 及位于所述第一推動桿下方的第一壓縮板,所述第一過濾裝置包括第 一擋板、位于所述第一擋板下方的第一斜板、位于所述第一斜板下方 的第一過濾網及位于所述第一過濾網下方的第二斜板,所述氣囊裝置 包括氣囊、位于所述氣囊下方的管道及設置于所述管道上的第二閥 門,所述攪拌裝置包括電機、位于所述電機上方的轉軸、設置于所述 轉軸上的第一攪拌桿及設置于所述第一攪拌桿上的第二攪拌桿,所述 出水裝置包括出水管、設置于所述出水管上的第三閥門及位于所述出 水管上的第二支架,所述收水箱的上表面向下凹陷形成第一收容腔, 所述支撐裝置包括底座及位于所述底座上方的支撐柱,所述第一壓縮 板呈長方體,所述第一壓縮板的側面與所述框體的內表面緊密接觸。
2.根據權利要求1所述的生活污水快速凈化裝置,其特征在于: 所述第一擋板呈長方體,所述第一擋板的側面與所述框體的內表面固 定連接,所述第一擋板上設有貫穿其上下表面的第一通孔。
3.根據權利要求2所述的生活污水快速凈化裝置,其特征在于: 所述第一過濾網呈長方體,所述第一過濾網水平放置,所述第一過濾 網的側面與所述框體的內表面固定連接,所述第二斜板的一端與所述 框體的內表面固定連接。
4.根據權利要求3所述的生活污水快速凈化裝置,其特征在于: 所述轉軸的上端貫穿所述框體的下表面延伸至所述框體的內部且與 所述框體滑動連接。
5.根據權利要求4所述的生活污水快速凈化裝置,其特征在于: 所述第一攪拌桿呈凹字型,所述第一攪拌桿的一端與所述轉軸的上表 面固定連接,所述第一攪拌桿的另一端豎直向下,所述第二攪拌桿呈 長方體,所述第二攪拌桿與所述第一攪拌桿固定連接。
6.根據權利要求5所述的生活污水快速凈化裝置,其特征在于: 所述進水管呈L型,所述進水管的一端對準所述第二通孔且與所述框 體的側面固定連接。
7.根據權利要求6所述的生活污水快速凈化裝置,其特征在于: 所述第一推動桿呈圓柱體,所述第一推動桿的上端與所述氣缸連接, 所述第一推動桿的下端貫穿所述框體的上表面延伸至所述框體的內 部。
8.根據權利要求7所述的生活污水快速凈化裝置,其特征在于: 所述出水管呈L型,所述出水管的一端對準所述第一通孔且與所述框 體的側面固定連接。
說明書
一種生活污水快速凈化裝置
技術領域
本發明涉及環保技術領域,尤其涉及一種生活污水快速凈化裝 置。
背景技術
隨著社會的發展,生活產生的污水也越來越多,直接排到環境中 無疑造成環境的污染,因此,需要對其凈化以后才能排放到環境中。
因此,需要提供一種新的技術方案解決上述技術問題。
發明內容
本發明的目的是提供一種可有效解決上述技術問題的生活污水快 速凈化裝置。
為了解決上述技術問題,本發明采用如下技術方案:
一種生活污水快速凈化裝置,所述生活污水快速凈化裝置包括框 體、位于所述框體左右兩側的進水裝置、設置于所述框體上的壓縮裝 置、位于所述壓縮裝置下方的第一過濾裝置、設置于所述框體上的氣 囊裝置、位于所述第一過濾裝置下方的攪拌裝置、位于所述攪拌裝置 左右兩側的出水裝置、位于所述出水裝置下方的收水箱及位于所述框 體下方的支撐裝置,所述框體上設有位于左右表面上的第一通孔及位 于所述第一通孔上方的第二通孔,所述進水裝置包括進水管及設置于 所述進水管上的第一閥門,所述壓縮裝置包括氣缸、位于所述氣缸右 側的第一支架、位于所述氣缸下方的第一推動桿及位于所述第一推動 桿下方的第一壓縮板,所述第一過濾裝置包括第一擋板、位于所述第 一擋板下方的第一斜板、位于所述第一斜板下方的第一過濾網及位于 所述第一過濾網下方的第二斜板,所述氣囊裝置包括氣囊、位于所述 氣囊下方的管道及設置于所述管道上的第二閥門,所述攪拌裝置包括 電機、位于所述電機上方的轉軸、設置于所述轉軸上的第一攪拌桿及 設置于所述第一攪拌桿上的第二攪拌桿,所述出水裝置包括出水管、 設置于所述出水管上的第三閥門及位于所述出水管上的第二支架,所 述收水箱的上表面向下凹陷形成第一收容腔,所述支撐裝置包括底座 及位于所述底座上方的支撐柱,所述第一壓縮板呈長方體,所述第一 壓縮板的側面與所述框體的內表面緊密接觸。
所述第一擋板呈長方體,所述第一擋板的側面與所述框體的內表 面固定連接,所述第一擋板上設有貫穿其上下表面的第一通孔。
所述第一過濾網呈長方體,所述第一過濾網水平放置,所述第一 過濾網的側面與所述框體的內表面固定連接,所述第二斜板的一端與 所述框體的內表面固定連接。
所述轉軸的上端貫穿所述框體的下表面延伸至所述框體的內部 且與所述框體滑動連接。
所述第一攪拌桿呈凹字型,所述第一攪拌桿的一端與所述轉軸的 上表面固定連接,所述第一攪拌桿的另一端豎直向下,所述第二攪拌 桿呈長方體,所述第二攪拌桿與所述第一攪拌桿固定連接。
所述進水管呈L型,所述進水管的一端對準所述第二通孔且與所 述框體的側面固定連接。
所述第一推動桿呈圓柱體,所述第一推動桿的上端與所述氣缸連 接,所述第一推動桿的下端貫穿所述框體的上表面延伸至所述框體的 內部。
所述出水管呈L型,所述出水管的一端對準所述第一通孔且與所 述框體的側面固定連接。
采用上述技術方案后,本發明具有如下優點:
本發明生活污水快速凈化裝置結構簡單,使用方便,能夠對生活 污水進行有效的凈化,凈化效果好,并且凈化效率高,能夠快速對生 活污水進行凈化,節約時間,并且減少了環境污染,保護了環境。






