申請日2015.07.13
公開(公告)日2015.12.09
IPC分類號C02F9/04
摘要
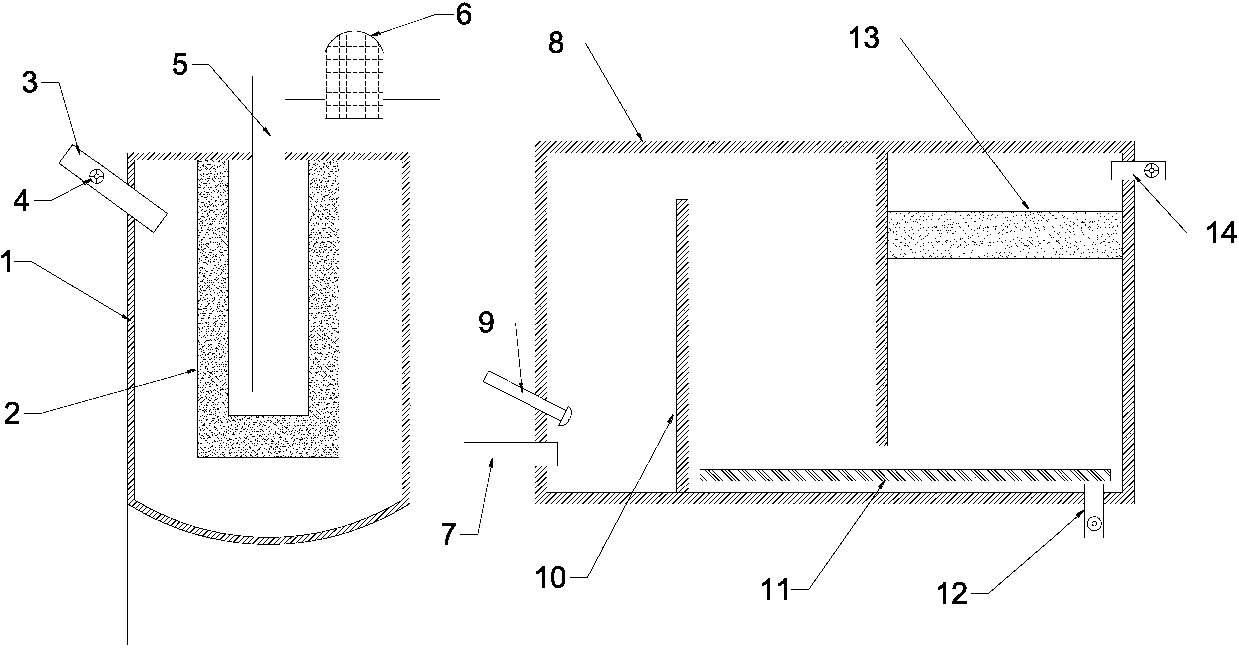
本實用新型涉及工業廢水處理技術領域,尤其是一種機加工廢水處理裝置,包括預處理池、磁性海泡石濾層、廢水管、出水管、加壓水泵、混凝管、混凝沉淀池、整流板、石英砂濾層、混凝沉淀板、排渣管、溢流管,所述預處理池設有廢水管,預處理池內設有磁性海泡石濾層,磁性海泡石濾層內設有出水管,出水管連接加壓水泵、加壓水泵連接沉淀池進水管,沉淀池進水管連接混凝沉淀池,混凝沉淀池左側設有混凝管,混凝沉淀池內設有整流板及混凝沉淀板,混凝沉淀池內設有石英砂濾層。本實用新型結構設計合理,使用方便,投入成本低,對富含金屬離子的機加工廢水處理效率高,極大地減少了廢水對環境的污染。
權利要求書
1.一種機加工廢水處理裝置,包括預處理池、磁性海泡石濾層、廢水管、出水管、加壓 水泵、混凝管、混凝沉淀池、整流板、石英砂濾層、混凝沉淀板、排渣管、溢流管,其特征 在于:所述預處理池設有廢水管,預處理池內設有磁性海泡石濾層,磁性海泡石濾層內設有 出水管,出水管連接加壓水泵、加壓水泵連接沉淀池進水管,沉淀池進水管連接混凝沉淀池, 混凝沉淀池左側設有混凝管,混凝沉淀池內設有整流板及混凝沉淀板,混凝沉淀池內設有石 英砂濾層。
2.根據權利要求1所述的一種機加工廢水處理裝置,其特征在于:所述磁性海泡石濾層 排布為圓柱結構,出水管伸到其圓桶空間底部。
3.根據權利要求1所述的一種機加工廢水處理裝置,其特征在于:所述廢水管斜伸入預 處理池,沉淀池進水管位于混凝沉淀池底部,溢流管位于混凝沉淀池頂部,混凝沉淀板下連 通有排渣管,廢水管、排渣管及溢流管均設有閥門。
說明書
一種機加工廢水處理裝置
技術領域
本實用新型涉及工業廢水處理技術領域,尤其是一種機加工廢水處理裝置。
背景技術
機械加工各種金屬制品所排出的廢液和沖洗廢水,還含有各種金屬離子如鉻、鋅以及氰 化物等,他們都是劇毒性的。尤其是電鍍廢水的涉及面很廣,且污染性大,是重點控制的工 業廢水之一。但目前很多小型機加工廠無法承擔太大的廢水處理成本,通常進行簡單的過濾 或消毒后直接排放,造成了極大地環境污染,因此需要一種設計簡單,成本低廉且能對機加 工廢水進行有效處理的環保裝置,以減少此類小型機加工廠的環境污染。
實用新型內容
本實用新型的目的是為了克服上述技術缺點提供一種機加工廢水處理裝置。
本實用新型解決技術問題采用的技術方案為:一種機加工廢水處理裝置,包括預處理池、 磁性海泡石濾層、廢水管、出水管、加壓水泵、混凝管、混凝沉淀池、整流板、石英砂濾層、 混凝沉淀板、排渣管、溢流管,所述預處理池設有廢水管,預處理池內設有磁性海泡石濾層, 磁性海泡石濾層內設有出水管,出水管連接加壓水泵、加壓水泵連接沉淀池進水管,沉淀池 進水管連接混凝沉淀池,混凝沉淀池左側設有混凝管,混凝沉淀池內設有整流板及混凝沉淀 板,混凝沉淀池內設有石英砂濾層。磁性海泡石作為吸附劑可與金屬離子進行交換反應及吸 附,石英砂濾層可進行二次過濾以得到干凈的水質。
所述磁性海泡石濾層排布為圓柱結構,出水管伸到其圓桶空間底部。加壓水泵可增加水 體流動速度,使水體在磁性海泡石濾層外形成旋轉渦流。
所述廢水管斜伸入預處理池,沉淀池進水管位于混凝沉淀池底部,溢流管位于混凝沉淀 池頂部,混凝沉淀板下連通有排渣管,廢水管、排渣管及溢流管均設有閥門。可根據廢水處 理狀況通過閥門進行控制。
本實用新型所具有的有益效果是:結構設計合理,使用方便,利用磁性海泡石作為吸附 劑,通過與水體中的重金屬離子進行交換反應及吸附作用去除水體中的溶解性污染物,吸附 劑可重生,濾料無流失,投入成本低,對富含金屬離子的機加工廢水處理效率高,極大地減 少了廢水對環境的污染。







