申請日2015.07.24
公開(公告)日2015.10.28
IPC分類號B23K20/22; B23K20/12
摘要
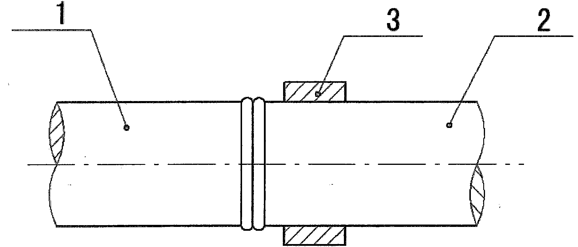
本發明公開了一種污水泵電機軸摩擦焊接方法。圓鋼0Cr18Ni9Ti、42CrMo,鋸床鋸切成段,0Cr18Ni9Ti圓鋼(1)夾持在摩擦焊機的旋轉夾具中;42CrMo圓鋼(2)外圓上裝一個拘束套(3)并夾持在摩擦焊機的移動夾具中;以轉速1100rpm,起始摩擦壓力80~90MPa,摩擦焊接1.2~2.0秒,工進速度1.5mm/s;以轉速1450rpm,工進速度3.5mm/s,二級摩擦壓力160~180MPa,摩擦焊接5~7秒;以轉速1300rpm,工進速度3.5mm/s,三級摩擦壓力100~120MPa,摩擦焊接7~8秒后剎車制動;同時加以240~270MPa頂鍛壓力,并保持頂鍛壓力6~8秒。
權利要求書
1.污水泵電機軸摩擦焊接方法,其特征是:將材料是不銹鋼OCr18Ni9Ti 的圓鋼夾持在摩擦焊機的旋轉夾具中,將材料是合金結構鋼42CrMo的圓鋼夾持 在摩擦焊機的移動夾具中;以轉速1100rpm,起始摩擦壓力80~90MPa,摩擦焊 接1.2~2.0秒,工進速度1.5mm/s,實現初始摩擦;再以轉速1450rpm,工進 速度3.5mm/s,二級摩擦壓力160~180MPa,摩擦焊接5~7秒;以轉速1300rpm, 工進速度3.5mm/s,三級摩擦壓力100~120MPa,進行穩定摩擦焊接7~8秒后 剎車制動;剎車制動的同時加以240~270MPa的頂鍛壓力,并保持頂鍛壓力6~ 8秒。
2.根據權利要求1所述的污水泵電機軸摩擦焊接方法,其特征是:不銹鋼 OCr18Ni9Ti和合金結構鋼42CrMo的圓鋼,通過鋸床鋸切成段不需要對焊接面進 行進行機械加工,焊接端面與圓鋼的外圓垂直度、平面度在2mm以內。
3.根據權利要求1所述的污水泵電機軸摩擦焊接方法,其特征是:在合金 結構鋼42CrMo圓鋼的外圓上、焊接端面附近裝一個拘束套。
4.根據權利要求1所述的污水泵電機軸摩擦焊接方法,其特征是:采用三 級摩擦,摩擦過程分為初始摩擦、二級摩擦、三級摩擦。
說明書
污水泵電機軸摩擦焊接方法
技術領域
本發明涉及一種污水泵電機軸在連續驅動摩擦焊機上的摩擦焊接方法。
背景技術
隨著社會的進步,生活水平的不斷提高和環保意識的加強,工業廢水、生 活污水都必須經過有效的廢物處理,才能排放或循環再利用,以實現可持續發 展。污水泵電機軸延伸到污水泵中,成為污水泵泵軸,污水泵電機軸和污水泵 泵軸是同一根軸,污水泵中充滿各種腐蝕性物質,使得在污水泵中的電機軸必 須耐腐蝕,通常選用不銹鋼0Cr18Ni9Ti,為了降低產品成本污水泵電機內部的電 機軸通常選用合金結構鋼42CrMo,將兩種材料焊接在一起制成污水泵電機軸。 目前通常是將鋸床鋸切下來的不銹鋼0Cr18Ni9Ti與合金結構鋼42CrMo的焊接 端面加工平整、加工出焊接坡口,采用二氧化碳氣體保護焊,將不銹鋼 0Cr18Ni9Ti與合金結構鋼42CrMo焊接在一起,制成污水泵電機軸;由于二氧化 碳氣體保護焊是熔化焊,焊縫內部存在氣孔、夾渣、晶粒粗大、容易出現晶間 腐蝕,污水泵電機軸焊縫強度低,容易從焊縫處斷裂,導致污水泵電機軸批量 報廢;焊接前需要將焊絲烘干,以去除焊絲中的水份,避免焊接時產生氫脆現 象導致焊縫強度差,這樣增加了輔助工作時間,降低了生產效率,提高了生產 成本;鋸床鋸切下來的不銹鋼0Cr18Ni9Ti與合金結構鋼42CrMo不能直接焊接, 需要將焊接端面加工平整、加工出焊接坡口,這些工作的完成需要增加機械加 工設備、安排加工工序、增加焊件轉運環節,導致制造時間長、生產成本大、 企業效益低。
發明內容
為了解決鋸床鋸切下來的不銹鋼0Cr18Ni9Ti與合金結構鋼42CrMo不能直 接焊接,需要將焊接端面加工平整、加工出焊接坡口,采用二氧化碳氣體保護 焊將兩種材料焊接成一體制成污水泵電機軸,焊接前焊絲需要烘干,增加了輔 助工作時間,降低了生產效率,提高了生產成本;需要增加機械加工設備、安 排加工工序、增加焊件轉運環節,導致制造時間長、生產成本大、企業效益低; 以及焊縫內部存在氣孔、夾渣、晶粒粗大、容易出現晶間腐蝕,污水泵電機軸 焊縫強度低,容易從焊縫處斷裂,污水泵電機軸批量報廢的問題。本發明提供 一種污水泵電機軸在連續驅動摩擦焊機上的摩擦焊接方法。
解決其技術問題所采用的方案是:將材料分別是不銹鋼0Cr18Ni9Ti和合金 結構鋼42CrMo的圓鋼,通過鋸床鋸切成段焊接面不需要進行進行機械加工,焊 接端面與圓鋼的外圓垂直度、平面度控制在2mm以內,將材料是不銹鋼 0Cr18Ni9Ti的圓鋼夾持在摩擦焊機的旋轉夾具中,將材料是合金結構鋼42CrMo 的圓鋼夾持在摩擦焊機的移動夾具中;在合金結構鋼42CrMo圓鋼的外圓上、焊 接端面附近裝一個拘束套,以減少摩擦焊接時42CrMo發熱快容易產生塑性變形 的現象,將焊接熱量集中在焊接面上,使得0Cr18Ni9Ti和42CrMo都產生塑性 變形;以轉速1100rpm,起始摩擦壓力80~90MPa,摩擦焊接1.2~2.0秒,工 進速度1.5mm/s,實現初始摩擦,實現焊接面溫度上升;再以轉速1450rpm,工 進速度3.5mm/s,二級摩擦壓力160~180MPa,摩擦焊接5~7秒;以轉速1300rpm, 工進速度3.5mm/s,三級摩擦壓力100~120MPa,進行穩定摩擦焊接7~8秒后 剎車制動;剎車制動的同時加以240~270MPa的頂鍛壓力,并保持頂鍛壓力6~ 8秒。采用三級摩擦的焊接方法,摩擦過程分為初始摩擦、二級摩擦、三級摩擦, 初始摩擦使凹凸不平的焊接端面溫度升高、材料軟化;二級摩擦在大壓力作用 下焊接端面溫度進一步升高,焊接材料端面的塑性增強、強度下降,焊接材料 凹凸不平的焊接端面被磨損、消耗掉,光滑、平整、未受污染的材料相互接觸、 摩擦、加劇分子熱擴散作用,外觀表現為材料被不斷從焊接面處擠出;在三級 摩擦壓力作用時,摩擦焊接沒有了因為焊接面凹凸不平引起的振動現象,焊接 面處于一種穩定的摩擦狀態,焊接面的溫度場穩定、持續、高效,使得兩個被 焊材料焊接面上熱擴散作用進一步加強,材料摩擦變形充分,在頂鍛壓力的作 用,焊縫處金屬為鍛造組織,焊縫晶粒細化、組織致密、質量高、性能好。
本發明的有益效果是:通過這種摩擦焊接方法制造的污水泵電機軸,解決 了鋸床鋸切下來,材料分別是不銹鋼0Cr18Ni9Ti和合金結構鋼42CrMo的圓鋼, 無法直接焊接,需要將焊接面加工平整后再焊接,導致的導致制造時間長、生 產成本大、企業效益低的問題,生產效率提高了5~7倍;摩擦焊接的焊縫處金 屬為鍛造組織,焊縫晶粒細化、組織致密、質量高、性能好,焊接處沒有做為 填充金屬的焊絲或焊條,焊接時母材也沒有熔化,焊縫處沒有氣孔、夾渣等焊 接缺陷;焊縫處的抗拉強度σb≥680MPa、延伸率δ≥25%,超過了國家標準要 求,產品合格率提高到99.98%。
下面結合實施例對本發明作進一步說明







