申請日2015.06.11
公開(公告)日2015.10.21
IPC分類號F04B53/10; F04B15/04
摘要
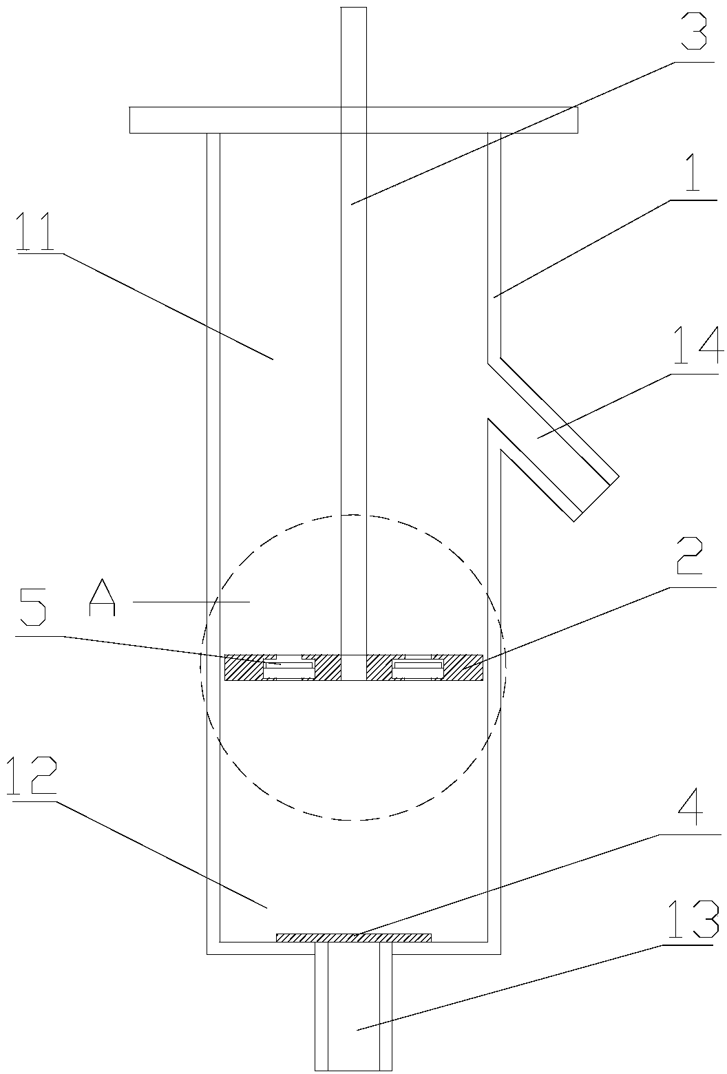
本實用新型公開了一種DDNP起爆藥生產廢水專用抽水泵,包括動力輸出機構、抽水缸體(1)和活塞(2),所述活塞(2)設于抽水缸體(1)內,將抽水缸體(1)分成A腔室(11)和B腔室(12),其中,A腔室(11)底面設有進水管(13),B腔室(12)的側面設有出水管(14),進水管(13)管口設有一單向止水底閥(4),活塞(2)上設有若干通道(21),各通道(21)上設有單向止水閥片(5)。與現有技術相比,本實用新型的DDNP起爆藥生產廢水專用抽水泵的抽水缸體與動力輸出機構分開,有效防止腐蝕性廢水對泵動力源的侵蝕,延長了抽水泵的使用壽命,大大降低了維修成本和維修難度。
摘要附圖
權利要求書
1.一種DDNP起爆藥生產廢水專用抽水泵,其特征在于,包括動力輸出機 構、抽水缸體(1)和活塞(2),其中:
所述活塞(2)設于抽水缸體(1)內,將抽水缸體(1)分成上、下兩個腔 室,依次為A腔室(11)和B腔室(12),所述活塞(2)通過一連桿(3)與動 力輸出機構連接,在抽水缸體(1)內做直線往復運動;
所述A腔室(11)底面設有進水管(13),所述B腔室(12)的側面設有出 水管(14),所述進水管(13)與外部DDNP起爆藥生產廢水的低位水池連通, 所述出水管(14)與外部DDNP起爆藥生產廢水的高位水池連通;
所述進水管(13)管口處設有一單向止水底閥(4),所述單向止水底閥(4) 控制廢水僅從低位水池流向B腔室(12);所述活塞(2)上設有若干連通A腔 室(11)和B腔室(12)的通道(21),各通道(21)上設有單向止水閥片(5), 所述單向止水閥片(5)控制廢水僅從B腔室(12)流向A腔室(11)。
2.根據權利要求1所述的一種DDNP起爆藥生產廢水專用抽水泵,其特征 在于,所述通道(21)的外口徑小于內口徑,所述單向止水閥片(5)活動設于 通道(21)內,其大小小于通道(21)內口徑,大于通道(21)外口徑,在通 道(21)的中部側面還設有限位閥(6),限制單向止水閥片(5)堵塞通道(21) 上口徑。
3.根據權利要求1所述的一種DDNP起爆藥生產廢水專用抽水泵,其特征 在于,所述活塞(2)上的通道(21)均勻分布在活塞(2)上。
4.根據權利要求1所述的一種DDNP起爆藥生產廢水專用抽水泵,其特征 在于,所述抽水缸體(1)壁厚8mm。
說明書
一種DDNP起爆藥生產廢水專用抽水泵
技術領域
本實用新型涉及起爆材料生產的技術領域,尤其涉及的是一種DDNP起爆藥 生產廢水專用抽水泵。
背景技術
雷管作為一種起爆器材已經被廣泛使用,其主要結構是在金屬管殼內依次 裝填猛炸藥、起爆藥、延期體和藥頭,藥頭連接腳線引出金屬管殼,其中起爆 藥、延期藥和藥頭作為起爆裝置,猛炸藥為雷管的引爆藥。使用時,通過腳線 通電點燃藥頭,藥頭點燃延期藥,延期藥點燃起爆藥,起爆藥由燃燒轉為爆轟 產生爆轟波進而引爆猛炸藥,從而使雷管爆炸。
在工業雷管中常用的起爆藥為重氮二硝基苯酚,簡稱DDNP,在生產DDNP的 過程中,會產生了有腐蝕性作用的廢水,呈現較強酸性,在處理過程中,需要 將廢水提升到某一高位,這時就要用到吸水泵,雖然用耐腐蝕泵的壽命比普通 水泵的壽命要長一些,但依然存在壽命太短,維修費用較高,且維修難度大等 諸多問題,給DDNP生產廢水的處理帶來不便。
實用新型內容
本實用新型的目的在于克服現有技術的不足,提供了一種DDNP起爆藥生產 廢水專用抽水泵,以解決在處理DDNP起爆藥生產廢水過程中,各種耐腐蝕泵的 使用壽命低、維修費用高的技術問題。
本實用新型是通過以下技術方案實現的:
一種DDNP起爆藥生產廢水專用抽水泵,包括動力輸出機構、抽水缸體(1) 和活塞(2),其中:
所述活塞(2)設于抽水缸體(1)內,將抽水缸體(1)分成上、下兩個腔 室,依次為A腔室(11)和B腔室(12),所述活塞(2)通過一連桿(3)與動 力輸出機構連接,在抽水缸體(1)內做直線往復運動;
所述A腔室(11)底面設有進水管(13),所述B腔室(12)的側面設有出 水管(14),所述進水管(13)與外部DDNP起爆藥生產廢水的低位水池連通, 所述出水管(14)與外部DDNP起爆藥生產廢水的高位水池連通;
所述進水管(13)管口處設有一單向止水底閥(4),所述單向止水底閥(4) 控制廢水僅從低位水池流向B腔室(12);所述活塞(2)上設有若干連通A腔 室(11)和B腔室(12)的通道(21),各通道(21)上設有單向止水閥片(5), 所述單向止水閥片(5)控制廢水僅從B腔室(12)流向A腔室(11)。
優選地,所述通道(21)的外口徑小于內口徑,所述單向止水閥片(5)活 動設于通道(21)內,其大小小于通道(21)內口徑,大于通道(21)外口徑, 在通道(21)的中部側面還設有限位閥(6),限制單向止水閥片(5)堵塞通道 (21)上口徑。
優選地,所述活塞(2)上的通道(21)均勻分布在活塞(2)上。
優選地,所述抽水缸體(1)壁厚8mm。
本實用新型相比現有技術具有以下優點:本實用新型提供了一種DDNP起爆 藥生產廢水專用抽水泵,該抽水泵的抽水缸體與動力輸出機構(動力源)分開, 有效防止腐蝕性廢水對泵動力源的侵蝕,延長了抽水泵的使用壽命,大大降低 了維修成本和維修難度。






