申請日2014.10.24
公開(公告)日2017.01.04
IPC分類號C02F9/14; C02F103/28
摘要
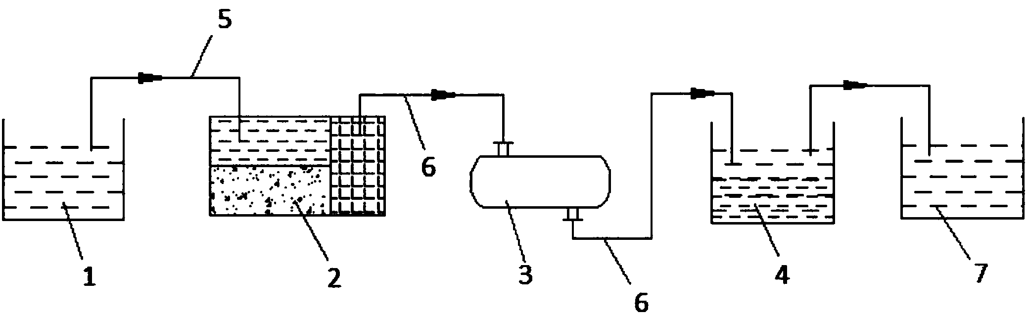
本發明涉及一種造紙廢水的多級沉降處理系統的工作方法,包括廢水池、一個以上生物沉降池、一個以上圓盤式過濾器、絮凝降解池,所述廢水池通過廢水管道與一個生物沉降池連接,生物沉降池排出水管連接到圓盤式過濾器,圓盤式過濾器的排出水管連接到絮凝沉降池,絮凝沉降池的排出水管連接到回用水池。本發明中,廢水經過一次以上生物沉降或纖維過濾,最后經過一道絮凝沉降后,達到回用水標準,可以輸送到車間的作為回用水使用。
權利要求書
1.造紙廢水的多級沉降處理系統的工作方法,該系統包括廢水池、一個以上生物沉降池、一個以上圓盤式過濾器、絮凝降解池,其特征是,所述廢水池通過廢水管道與一個生物沉降池連接,生物沉降池排出水管連接到圓盤式過濾器,圓盤式過濾器的排出水管連接到絮凝沉降池,絮凝沉降池的排出水管連接到回用水池;
所述生物沉降池有兩個,分別為第一生物沉降池和第二生物沉降池,圓盤式過濾器有兩個,分別為第一圓盤式過濾器和第二圓盤式過濾器;
所述第一生物沉降池連接來自廢水池的廢水,第一生物沉降池凈化處理后的水輸送到第一圓盤式過濾器,第一圓盤式過濾器的排出水輸送到第二生物沉降池,經過第二生物沉降池的凈化處理后的水輸送到第二圓盤式過濾器,第二圓盤式過濾器的排出水輸送到絮凝沉降池,經過絮凝沉降池凈化處理后的水輸送到回用水池;
所述生物沉降池包括曝光反應池和厭氧反應池,曝光反應池內的細菌為兼氧菌,來自廢水池的廢水經過廢水管道連接到曝光反應池,廢水從曝光反應池中排出后直接輸送到厭氧反應池;
所述曝光反應池的底部設有污泥沉淀池;
所述的工作方法,包括:進入生物沉降池中的水首先被曝光處理,去除廢水的氮,然后進入厭氧反應池,在完全厭氧化境中,廢水中的沒有在曝光反應池反應的有機大份子分解成小分子量成分,實現磷的去除。
說明書
造紙廢水的多級沉降處理系統的工作方法
技術領域
本發明涉及造紙廢水的多級沉降處理系統的工作方法,屬于廢水處理領域。
背景技術
水是生命之源,世界性的水匱乏問題越來越嚴重,節約用水一直被提倡,作為用水大戶的工業生產行業,更應該做好工業用水的減排,提高水的循環利用率,避免工業用水的浪費。
同時,環境污染問題也日趨嚴重,提高環保意識,減少污染物,尤其是工業生產的污水或廢水的排放,是造成環境污染的重要原因之一,如何處理工業污水或廢水的排放成為減少環境污染的一個重要措施。
造紙行業是一個污染水源排放嚴重的行業,造紙過程需要使用大量的水,傳統的造紙廠排放大量污染水源,對水質和土壤都會產生污染,還有產生大量的難聞的氣味。造紙廠排放的廢水中含有造紙過程中殘留在廢水中的造紙纖維,造成造紙纖維的流失和浪費;造紙廠的廢水中還含有造紙添加劑,大部分的造紙添加劑是不可揮發的,會殘留在土壤或污水中,排放在環境中會造成長時間無法消除的污染。
制漿造紙工業的整個生產過程需要大量的水,這些水在生產過程中匯集了大量的工業有害物質,既無法直接利用,直接排放又會污染環境,因此,對制漿造紙過程各階段產生的廢水進行回收再利用,有著顯著的經濟和社會價值,決定著造紙企業的生存和發展。
在造紙行業中,通常使用化學沉淀、氣浮處理以及生物氧化等等處方法對污水或廢水處理。
目前造紙環保一級處理傳統工藝為初沉淀或物化絮凝沉淀,絮凝工藝去除效率高,尤其是可以去除大量高分子難降解的郵寄污染物,這為下一步進行生化處理奠定了基礎,然而,這樣的處理僅適用于負荷較低的廢水。歐洲國家在物化處理上最為先進,基本已淘汰平流沉淀池,采用奶沖澄清池、懸浮澄清池等先進沉淀技術。
近年來生物膜超過濾技術、反滲透、電透析、離子交換處理手段不斷出現。在造紙行業中,一方面由于處理成本太高,另一方面由于造紙廢水的成分復雜,處理難度大,因此,至今尚沒有工業化的成熟處理技術可用。
發明人經過檢索發現專利號為2009100012690,專利名稱為造紙廢水的處理方法的發明專利公開了通過過濾、沉砂、絮凝沉淀,以及分離回用步驟的造紙廢水處理方法,其發明點在于在絮凝劑添加至待處理中水中進行絮凝沉淀前,對占總用量70—90%重量的絮凝劑進行脫鹽處理,達到目的是以較低的成本處理高鹽分含量的造紙廢水,而且能達到令人滿意的結果。本發明的針對點小,在工業應用上,存在應用領域狹小,不能適用于較寬范圍的造紙廢水的處理。本發明沒有涉及到充分利用絮凝沉降的絮凝沉淀物的分離角度來提高絮凝沉降的效果。
發明人還檢索到一篇專利號為2009100012703,專利名稱為造紙廢水的處理方法的發明專利,該專利公開了利用過濾、絮凝沉淀、QA2O處理,以及深度處理,該專利的發明點在于使用QA2O處理處理工藝代替常規的生化處理方法,達到節約成本,處理效果好,工藝簡單的有益效果。但是這樣的工藝需要使用大量的化學藥劑,殘留在處理后的廢水中,沒有考慮到可以通過串聯多個絮凝沉降的方法來實現廢水的高效、簡單處理。
發明內容
為了解決上述存在的問題,本發明公開了一種造紙廢水的多級沉降處理系統的工作方法,本多級沉降處理系統能夠多次將廢水中的造紙纖維回收,提高造紙纖維的回收率,減少造紙纖維的浪費,同時廢水經過多次生物降解,提高廢水的清潔程度,最后絮凝處理,去除廢水中的有害藥劑,最終達到回用水的標準,能夠將處理后的水作用回用水,再次進入車間用來制漿和造紙。
造紙廢水的多級沉降處理系統,包括廢水池、一個以上生物沉降池、一個以上圓盤式過濾器、絮凝降解池,其特征是所述廢水池通過廢水管道與一個生物沉降池連接,生物沉降池排出水管連接到圓盤式過濾器,圓盤式過濾器的排出水管連接到絮凝沉降池,絮凝沉降池的排出水管連接到回用水池。
所述生物沉降池有兩個,分別為第一生物沉降池和第二生物沉降池,圓盤式過濾器有兩個,分別為第一圓盤式過濾器和第二圓盤式過濾器,所述造紙廢水的多級沉降處理系統的工作方法,包括:所述第一生物沉降池連接來自廢水池的廢水,第一生物沉降池凈化處理后的水輸送到第一圓盤式過濾器,第一圓盤式過濾器的排出水輸送到第二生物沉降池,經過第二生物沉降池的凈化處理后的水輸送到第二圓盤式過濾器,第二圓盤式過濾器的排出水輸送到絮凝沉降池,經過絮凝沉降池凈化處理后的水輸送到回用水池。
所述生物沉降池和圓盤式過濾器均有三個以上,且生物沉降池和圓盤式過濾器的數量一致,生物沉降池的出水端通過管道輸送給鄰近的圓盤式過濾器,一個生物沉降池和連接在該生物沉降池出水端的圓盤式過濾器組成一個過濾單元,三個以上的生物沉降池和圓盤式過濾器分別組成三個以上的過濾單元,三個以上的過濾單元依次順序串聯連接,廢水依次經過每個過濾單元,經過所有過濾單元的廢水排放到絮凝沉降池中。
所述生物沉降池包括曝光反應池和厭氧反應池,曝光反應池內的細菌為兼氧菌,來自廢水池的廢水經過廢水管道連接到曝光反應池,廢水從曝光反應池中排出后直接輸送到厭氧反應池。
所述曝光反應池的底部設有污泥沉淀池。
本發明,由于生物沉降池和圓盤式過濾器的多級組合,在設備投入,以及設備的運行技術要求比較單一,在造紙廠的實際運行中,有很大的優勢,減少廢水處理設備的種類,避免不同設備的檢修,需要不同的檢修工藝,對于造紙廠需要儲備不同肌膚范圍的技術人員,需要耗費大量的人員雇傭資金,不同的設備的檢修周期和檢修時間不同,就會延長在一個完整的處理系統中的其他設備的閑置,不利于充分利用設備。







