申請日2013.07.30
公開(公告)日2013.12.11
IPC分類號C02F11/12; C02F9/14
摘要
本發明涉及污水處理技術領域,尤其涉及一種池窯污水處理系統,包括預處理系統,所述的預處理系統連通反應系統,所述的反應系統連通生化處理系統,所述的生化處理系統連通分離系統。本發明有處理效果好、成本低的優點。
權利要求書
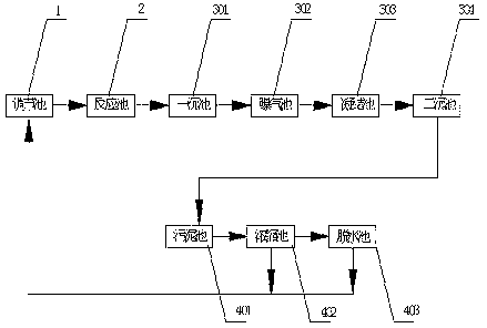
1.一種池窯污水處理系統,包括預處理系統,其特征在于:所述的預處理系統連通反應系統,所述的反應系統連通生化處理系統,所述的生化處理系統連通分離系統。
2. 根據權利要求1所述的池窯污水處理系統,其特征在于:所述的預處理系統為柵格池。
3.根據權利要求1或2所述的池窯污水處理系統,其特征在于:所述的反應系統為反應池,所述的反應池的進水口與柵格池的出水口連通。
4.根據權利要求1或3所述的池窯污水處理系統,其特征在于:所述的生化處理系統包括一沉池、曝氣池、凝結池和二沉池,所述的一沉池的進水口與反應池的出水連通,所述的曝氣池的進水口與一沉池的出水口連通,所述的凝結池的進水口與曝氣池的出水口連通,所述的二沉池的進水口與凝結池的出水口連通。
5.根據權利要求1或4所述的池窯污水處理系統,其特征在于:所述的分離系統包括污泥池、濃縮池和脫水池,所述的二沉池的出水口與污泥池的進口連通,所述的濃縮池的進口連接污泥池的出口,所述的脫水池的進口連接濃縮池的出口。
6.根據權利要求2所述的池窯污水處理系統,其特征在于:所述的柵格池里面安裝有格柵機。
說明書
一種池窯污水處理系統
技術領域
本發明涉及污水處理技術領域,尤其涉及一種池窯污水處理系統。
背景技術
池窯拉絲工藝流程是塊狀原料進廠,經過破碎、粉碎、篩分成合格粉料,氣力輸送至大料倉,而后經稱量、混合制成配合料,氣力輸送到窯頭料倉,經螺旋投料機將配合料投入單元窯中熔化成玻璃液。熔融好的玻璃液經單元熔窯熔化部流出后即進入主通路進行進一步澄清均化和溫度調理,熔化經過過渡通道和作業通路,流至流液槽內,由多排孔鉑金漏板流出,形成纖維。再經冷卻器冷卻、單絲涂油器涂覆浸潤劑后被告訴旋轉的拉絲機拉制卷繞成原絲餅或直接無捻粗紗紗筒。整個池窯拉絲工藝會產生污水,若不及時處理,不僅會污染環境,對作業人員的身體健康產生危害,同時污水滲入地下,對地下水也將產生危害。現有的污水處理系統,要么處理效果不太理想,要么處理成本太高,從而影響了其使用。
發明內容
本發明的目的在于提供一種處理效果好、成本低的污水處理系統,具體涉及一種池窯污水處理系統。
本發明的目的可以通過以下技術方案實現:
一種池窯污水處理系統,包括預處理系統,所述的預處理系統連通反應系統,所述的反應系統連通生化處理系統,所述的生化處理系統連通分離系統。
所述的預處理系統為柵格池。
所述的反應系統為反應池,所述的反應池的進水口與柵格池的出水口連通。
所述的生化處理系統包括一沉池、曝氣池、凝結池和二沉池,所述的一沉池的進水口與反應池的出水連通,所述的曝氣池的進水口與一沉池的出水口連通,所述的凝結池的進水口與曝氣池的出水口連通,所述的二沉池的進水口與凝結池的出水口連通。
所述的分離系統包括污泥池、濃縮池和脫水池,所述的二沉池的出水口與污泥池的進口連通,所述的濃縮池的進口連接污泥池的出口,所述的脫水池的進口連接濃縮池的出口。
所述的柵格池里面安裝有格柵機。
本發明的有益效果:本發明系統有效將污水和污泥分離,經過沉淀得到的清水可回收利用。







