申請日2013.08.02
公開(公告)日2014.01.29
IPC分類號C02F9/14
摘要
本實用新型涉及一種新型組合式污水處理池,包括池體、進水井和出水井,池體由調節池、SBR池和除磷池組成,進水井的出水口與調節池固定連接,調節池的出水口與SBR池的進水口固定連接,SBR池的出水口與除磷池的進水口固定連接,除磷池的出水口與出水井固定連接。本實用新型的新型組合式污水處理池由調節池、SBR池和除磷池通過高壓鋼絲骨架管相連通組成,從而使處理池防水密封性能好,噪音小,用地緊湊,成本低,建造方便。
權利要求書
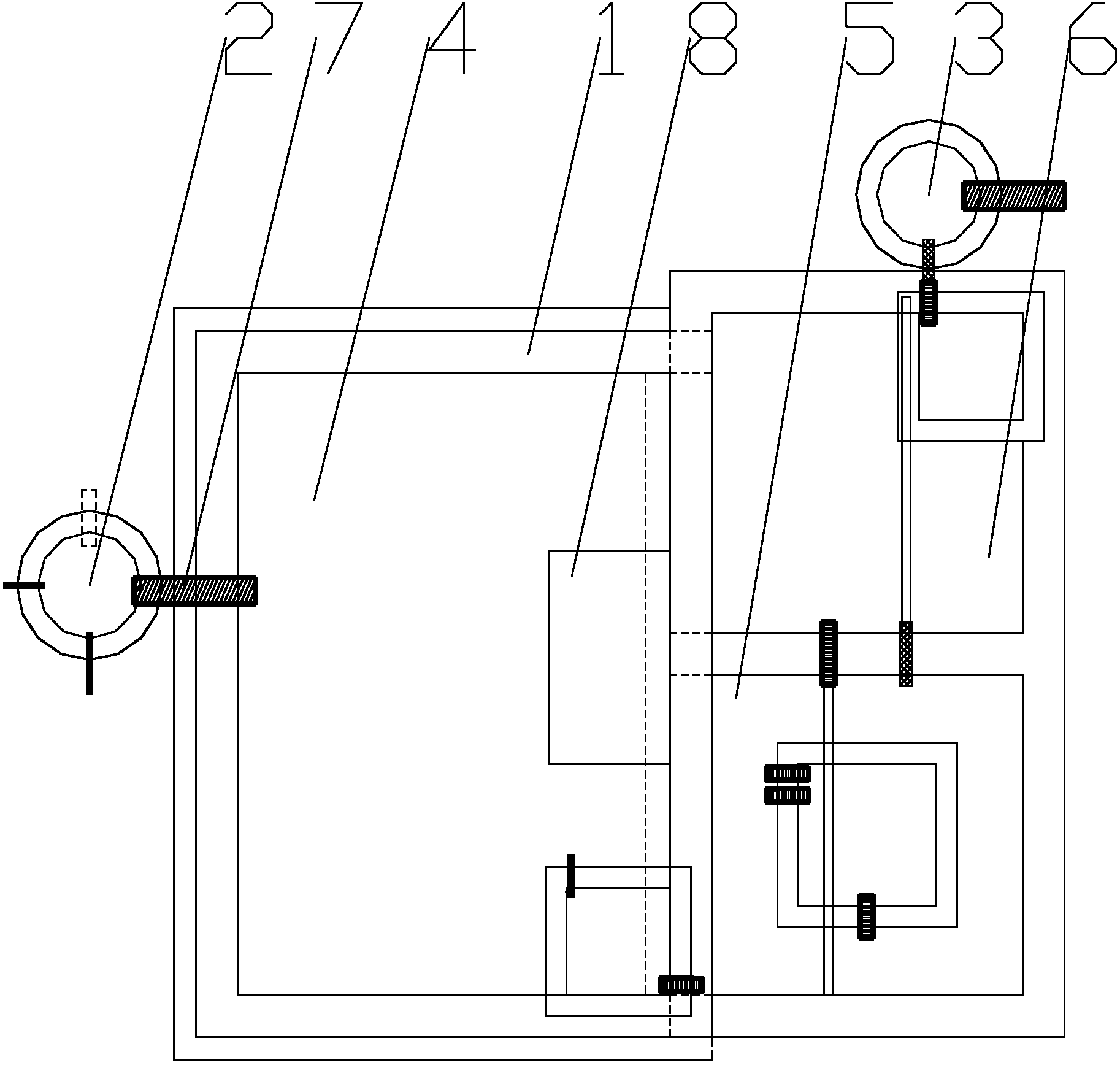
1.一種新型組合式污水處理池,包括池體(1)、進水井(2)和出水井(3), 其特征是:所述的池體(1)由調節池(4)、SBR池(5)和除磷池(6)組成, 進水井(2)的出水口與調節池(4)固定連接,所述的調節池(4)的出水口與 SBR池(5)的進水口固定連接,所述的SBR池(5)的出水口與除磷池(6)的 進水口固定連接,所述的除磷池(6)的出水口與出水井(3)固定連接。
2.根據權利要求1所述的新型組合式污水處理池,其特征是:所述的調節 池(4)、SBR池(5)和除磷池(6)之間通過高壓鋼絲骨架管相連通。
3.根據權利要求1所述的新型組合式污水處理池,其特征是:所述的進水 井(2)內設置有進水格柵(7)。
4.根據權利要求1所述的新型組合式污水處理池,其特征是:所述的調節 池(4)、SBR池(5)和除磷池(6)的排列連接形式有上下式、橫聯式或品子式。
5.根據權利要求1所述的新型組合式污水處理池,其特征是:所述的調節 池(4)、SBR池(5)和除磷池(6)的內表面均設有防水層。
6.根據權利要求1所述的新型組合式污水處理池,其特征是:所述的池體 (1)上設置有控制臺(8)。
說明書
新型組合式污水處理池
技術領域
本實用新型涉及一種新型組合式污水處理池。
背景技術
污水處理池是一種應用于生活污廢水的地埋式處理裝置,但是普通的污水 處理池防水密封性能差,噪音大,用地面積大,成本高,建造困難。
實用新型內容
本實用新型要解決的技術問題是:為解決上述存在的問題,提供一種新型 組合式污水處理池,解決普通污水處理池防水密封性能差,噪音大,用地面積 大,成本高,建造困難的問題。
本實用新型解決其技術問題所采用的技術方案是:一種新型組合式污水處 理池,包括池體、進水井和出水井,池體由調節池、SBR池和除磷池組成,進水 井的出水口與調節池固定連接,調節池的出水口與SBR池的進水口固定連接, SBR池的出水口與除磷池的進水口固定連接,除磷池的出水口與出水井固定連 接。
調節池、SBR池和除磷池之間通過高壓鋼絲骨架管相連通。
進水井內設置有進水格柵。
調節池、SBR池和除磷池的排列連接形式有上下式、橫聯式或品子式。
調節池、SBR池和除磷池的內表面均設有防水層。
為了方便控制整個處理池,池體上設置有控制臺。
本實用新型的有益效果是,本實用新型的新型組合式污水處理池由調節 池、SBR池和除磷池通過高壓鋼絲骨架管相連通組成,從而使處理池防水密封性 能好,噪音小,用地緊湊,成本低,建造方便。







