申請日2013.09.16
公開(公告)日2014.03.12
IPC分類號G01F23/00; E03F1/00
摘要
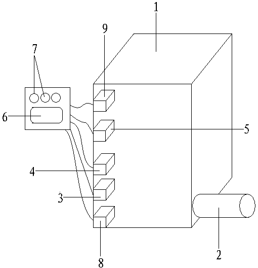
本實用新型公開了一種用于顯影液廢水的收集裝置,包括:中繼箱本體、水位感應裝置、報警裝置、控制裝置和排水器,所述水位感應裝置包括超低水位感應器、低水位感應器、正常水位感應器、高水位感應器和超高水位感應器,所述控制裝置包括排水器控制器和感應器控制器,水位感應裝置設置于所述中繼箱本體內,排水器設置于所述中繼箱本體上,水位感應裝置與所述控制裝置相連接,排水器與所述排水器控制器相連接,所述報警裝置與所述水位感應裝置相連接。本實用新型用于顯影液廢水的收集裝置,不僅可以有效及時的將顯影液生產時產生的廢水收集起來,而且可以根據廢水水位的高低來進行警示或警報,并及時的進行抽水和處理,功能多樣、方便使用。
權利要求書
1.一種用于顯影液廢水的收集裝置,其特征在于,包括:中繼箱本體、水位感應裝置、報警裝置、控制裝置和排水器,所述水位感應裝置包括超低水位感應器、低水位感應器、正常水位感應器、高水位感應器和超高水位感應器,所述控制裝置包括排水器控制器和感應器控制器,所述水位感應裝置設置于所述中繼箱本體內,所述排水器設置于所述中繼箱本體上,所述水位感應裝置分別與所述排水器控制器和所述感應器控制器相連接,所述排水器與所述排水器控制器相連接,所述報警裝置與所述水位感應裝置相連接。
2.根據權利要求1所述的用于顯影液廢水的收集裝置,其特征在于,所述報警裝置包括水位警示燈和警報器。
3.根據權利要求1所述的用于顯影液廢水的收集裝置,其特征在于,所述排水器控制器包括手動控制器和自動控制器。
4.根據權利要求2所述的用于顯影液廢水的收集裝置,其特征在于,所述警報器與所述超高水位感應器、高水位感應器、超低水位感應器和所述低水位感應器相連接。
說明書
用于顯影液廢水的收集裝置
技術領域
本實用新型涉及顯影液加工設備領域,特別是涉及一種用于顯影液廢水的收集裝置。
背景技術
顯影液不僅可以用在影像處理上,也可以用在電子芯片的生產上,而隨著電子產品行業的迅速發展,顯影液的需求量也就越來越大。
但是現在顯影液在生產和加工的過程中,常常會產生一些廢水,這些廢水如果不及時的收集并處理的話,不僅會影響整個生產加工的工作,而且還會危害環境,另外,有些廢水收集裝置只能用于收集顯影液的廢水,使用的范圍比較窄,所以人們需要更加滿足要求的顯影液廢水的收集裝置。
實用新型內容
本實用新型主要解決的技術問題是提供一種用于顯影液廢水的收集裝置,具有功能多樣、便于使用等優點,同時在應用及普及上有著廣泛的市場前景。
為解決上述技術問題,本實用新型采用的一個技術方案是:
提供了一種用于顯影液廢水的收集裝置,其包括:中繼箱本體、水位感應裝置、報警裝置、控制裝置和排水器,所述水位感應裝置包括超低水位感應器、低水位感應器、正常水位感應器、高水位感應器和超高水位感應器,所述控制裝置包括排水器控制器和感應器控制器,所述水位感應裝置設置于所述中繼箱本體內,所述排水器設置于所述中繼箱本體上,所述水位感應裝置分別與所述排水器控制器和所述感應器控制器相連接,所述排水器與所述排水器控制器相連接,所述報警裝置與所述水位感應裝置相連接。
在本實用新型一個較佳實施例中,所述報警裝置包括水位警示燈和警報器。
在本實用新型一個較佳實施例中,所述排水器控制器包括手動控制器和自動控制器。
在本實用新型一個較佳實施例中,所述警報器與所述超高水位感應器、高水位感應器、超低水位感應器和所述低水位感應器相連接。
本實用新型的有益效果是:本實用新型提供了一種用于顯影液廢水的收集裝置,不僅可以有效及時的將顯影液生產時產生的廢水收集起來,而且可以根據廢水水位的高低來進行警示或警報,并及時的進行抽水和處理,功能多樣、方便使用。







