申請日2013.09.16
公開(公告)日2013.12.18
IPC分類號C02F1/467; C02F1/30
摘要
本發明提供了一種微串聯光電催化氧化廢水處理裝置,其特征在于,該裝置由若干組由陰離子選擇性透過膜隔開的陰陽極室組成,陰離子選擇性透過膜位于陰陽極板之間,靠近陰極板處,將裝置內部分為若干順序排列的陰極室和陽極室,每個陽極室內部排列若干根光源,并填充光電催化劑,陽極室為廢水處理主體極室,相鄰陽極室通過陽極連通管連接,從而組成裝置內部所有陽極室的微串聯狀態。陰極室內填充陰極板防垢液,所有的陰極室底部相互連通。本發明微串聯光電催化氧化裝置既能提高光電處理效率,又能有效解決處理高硬度廢水時光源、極板結垢的問題,避免頻繁清洗,保證設備長期穩定運行。
權利要求書
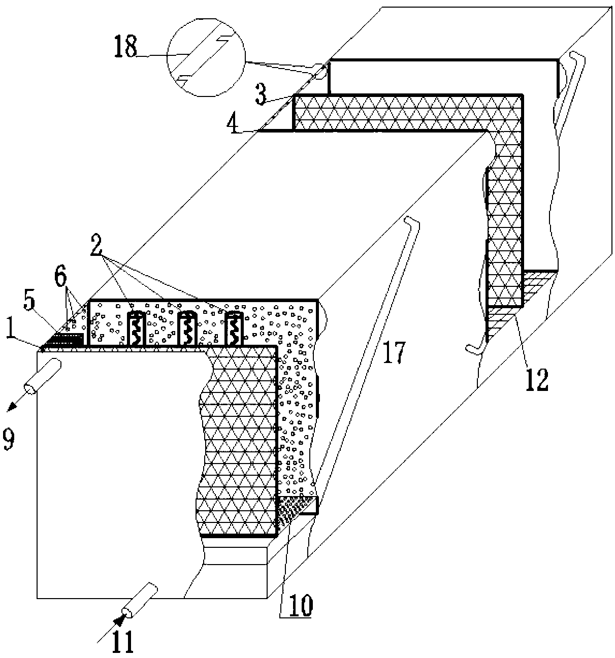
1.一種微串聯光電催化氧化廢水處理裝置,其特征在于:
所述的裝置包含若干組順序排列的陽極室(7)和陰極室(8)組成的陰陽極室組, 所述陽極室(7)與陰極室(8)間通過陰離子選擇性透過膜(4)隔開,每個陽極室 (7)內部設置陽極板(1)、若干根光源(2)并填充油光電催化劑(6),陽極室為廢 水處理主體極室,沿廢水流向的相鄰陽極室間通過陽極連通管(17)連接,使上一個 陽極室(7)的出水口與下一個陽極室的進水口相連,保證廢水從每個陽極室的底部 進入,頂部流出;每個陰極室(8)的內部設有陰極板(3),并填充有陰極板防垢液, 底部設置有承托陰極板(3)的網格狀陰極板承托層(12),所述網格狀陰極板承托層 (12)底部連接有連通層(15),使得所有的陰極室底部相互連通;所述連通層(15) 的一端設有陰極板防垢液進水口(11),另一端設有陰極板防垢液出水口(14);
所述裝置的首端底部設置有廢水進水口(13),尾端頂部設置有處理后廢水出水 口(9),裝置內靠近所述廢水出口(9)處設置有催化劑截留槽(5),所述廢水經裝 置底部廢水進水口進入陽極室后,通過陽極連通管依次進入相鄰陽極室進行光電催化 處理后,最后由流經催化劑截留槽(5)后通過廢水出水口(9)排出。
2.根據權利要求1所述的一種微串聯光電催化氧化廢水處理裝置,其特征在于:所 述陰極板防垢液出水口(14)與陰極板防垢液儲液池(22)相連,陰極板防垢液儲液 池(22)通過循環泵(28)與陰極板防垢液進水口(11)相連,并在循環泵的作用下 以內循環方式在所有陰極室(8)和連通層(15)中流動;
所述陰極板防垢液儲液池(22)內設在線pH計(24)和在線電導儀(23),用以 測量陰極板防垢液pH、電導率,當陰極板防垢液pH值高于8.0時,通過儲酸罐(27) 和計量泵(26)向陰極板防垢液中注入無機酸,調節pH值至7.0-8.0的正常范圍內; 當陰極板防垢液電導率低于廢水電導率時,向陰極板防垢液中補充鈉鹽或鉀鹽溶液, 使防垢液電導率維持在廢水電導率的1-5倍;所述陰極板防垢液中的陽離子主要含有 Na+、K+中的一種或多種物質,不含Ca2+或Mg2+離子,以避免陰極板(3)結垢。
3.根據權利要求1所述的一種微串聯光電催化氧化廢水處理裝置,其特征在于:所 述陽極室(7)底部且位于陽極連通管道(17)進水口的上部設置有廢水布水板(10), 以確保進水均勻。
4.根據權利要求1所述的一種微串聯光電催化氧化廢水處理裝置,其特征在于:所 述裝置外殼的材料為PVC、PE或PPR耐腐蝕性材料,所述外殼的外表面輔以封閉式 不銹鋼板,所述外殼的內表面設有卡槽(18),用于平行固定陰極板、陽極板和陰離 子選擇性透過膜;所述陽極板到陰離子選擇性透過膜之間的距離約為陰極板到陰離子 選擇性透過膜之間的距離的3倍;
所述每個陽極室內部按照平行于陽極板(1)放置若干光源(2),陽極板(1)到 光源(2)的垂直距離約為陰離子選擇性透過膜(4)到光源(2)距離的2~3倍,以 增加光對陽極板的照射強度,提升光電催化氧化的反應速率,同時減少光對陰離子選 擇性透過膜的照射強度,增加膜的使用壽命;
所述光源可采用波長為200~400nm的高壓汞燈、中壓汞燈及紫外燈中的一種或 多種。
5.根據權利要求1所述的一種微串聯光電催化氧化廢水處理裝置,其特征在于:所 述陽極板為采用鈦基材表面固載貴金屬物質制備而成的網狀貴金屬陽極板,貴金屬物 質采用鉑、釕、銥、銣和鋯氧化物中的一種或多種物質構成;所述陰極板為網狀不銹 鋼陰極板;
所述光電催化劑采用α-氧化鋁或二氧化硅中的一種或多種為載體,表面負荷二氧 化鈦、硫化鎘、氧化鐵、二氧化錳中的一種或多種活性物質構成;具有裂化和開環功 能,及孔結構可調特性,并制備成蜂窩多孔結構。
6.根據權利要求1所述的一種微串聯光電催化氧化廢水處理裝置,其特征在于:所 述裝置包含3-10組陰陽極室。
說明書
一種微串聯光電催化氧化廢水處理裝置
技術領域
本發明涉及高鹽廢水處理技術領域,特別是涉及一種微串聯光電催化氧化廢 水處理裝置。
背景技術
近幾年來,國家對環保要求越來越高,對石化企業外排水的排放標準有了明 確規定,要求外排水量進一步減小,甚至做到接近零排放,提高水的回用率成為 當今的研究熱點。越來越多的煉廠采用超濾-反滲透雙膜法來處理煉廠含油廢水 進行回用,以減小外排水量。但超濾-反滲透雙膜法僅能夠產生大約75%左右的 回用凈水,剩余25%的雙膜濃水具有排量小、含鹽高、硬度高、COD高等特點, 決定了常規生化法并不適合處理該類廢水,而常規化學氧化法處理該類廢水時具 有設備易結垢、化學藥劑用量大、殘留藥劑易引起二次水體污染等不足。因此針 對此類廢水的處理需要另尋解決途徑。
而另一方面,光電催化氧化作為一種全新的高級氧化技術已經成功應用在高 鹽廢水處理行業中,但是傳統光電設備并不適用于處理高硬廢水,原因在于光電 催化氧化反應進行時,會在陰極產生大量的OH-,而OH-會和廢水中的Ca2+、Mg2+反應,在陰極板、光源外層結垢,生成的垢體積累到一定程度時,就會導致電流 效率下降和紫外光嚴重衰減,使光電催化氧化的處理效果急劇惡化。目前大多數 廠家采用周期換相脫垢技術來解決結垢問題,但是周期換相技術具有兩點不足: 首先是陰陽兩極要采用相同材料極板,費用較高,其次是周期換相易使極板形成 電容效應,導致電極的壽命下降。因此開發新型反應裝置,解決結垢難題,保持 設備長時間穩定運行,是目前光電催化氧化技術研究的重點和難點。
發明內容
本發明的目的是設計一種新型微串聯光電催化氧化廢水處理裝置,用以解決 傳統光電催化氧化反應裝置在處理高鹽、高硬廢水時極板、光源易結垢的難題, 保證光電催化氧化裝置長時間穩定運行。
本發明是通過以下技術方案予以實現:
一種微串聯光電催化氧化廢水處理裝置,其特征在于:
所述的裝置包含若干組順序排列的陽極室7和陰極室8組成的陰陽極室組, 所述陽極室7與陰極室8間通過陰離子選擇性透過膜4隔開,每個陽極室7內部 設置一塊陽極板1、若干根光源2并填充有光電催化劑6,陽極室為廢水處理主 體極室,沿廢水流向的相鄰陽極室間通過陽極連通管17連接,使上一個陽極室 7的出水口與下一個陽極室的進水口相連,保證廢水從每個陽極室的底部進入, 頂部流出;每個陰極室8的內部設有一塊陰極板3,并填充有陰極板防垢液,底 部設置有承托陰極板3的網格狀陰極板承托層12,所述網格狀陰極板承托層12 底部連接有連通層15,使得所有的陰極室底部相互連通;所述連通層15的一端 設有陰極板防垢液進水口11,另一端設有陰極板防垢液出水口14;
所述裝置的首端底部設置有廢水進水口13,尾端頂部設置有處理后廢水出 水口9,裝置內靠近所述廢水出口9處設置有催化劑截留槽5,所述廢水經裝置 底部廢水進水口進入陽極室后,通過陽極連通管依次進入相鄰陽極室進行光電催 化處理后,最后由流經催化劑截留槽5后通過廢水出水口9排出。
在上述技術方案中,所述陰極板防垢液出水口14優選與陰極板防垢液儲液 池22相連,陰極板防垢液儲液池22通過循環泵28與陰極板防垢液進水口11相 連,并在循環泵的作用下以內循環方式在所有陰極室8和連通層15中流動;
所述陰極板防垢液儲液池22內設在線pH計24和在線電導儀23,用以測量 陰極板防垢液pH、電導率,當陰極板防垢液pH值高于8.0時,通過儲酸罐27和 計量泵26向陰極板防垢液中注入無機酸,調節pH值至7.0-8.0范圍內;當陰極板 防垢液電導率低于廢水電導率時,向陰極板防垢液中補充鈉鹽或鉀鹽溶液,使防 垢液電導率維持在廢水電導率的1-5倍;所述陰極板防垢液中的陽離子主要含有 Na+、K+中的一種或多種物質,不含Ca2+或Mg2+離子,以避免陰極板3結垢。
本發明還進一步包括,在所述陽極室7底部且位于陽極連通管道17進水口 的上部設置有廢水布水板10,以確保進水均勻。
在上述技術方案中,所述裝置外殼的材料為PVC、PE或PPR耐腐蝕性材料, 所述外殼的外表面輔以封閉式不銹鋼板,所述外殼的內表面設有卡槽18,用于 平行固定陰極板、陽極板和陰離子選擇性透過膜;所述陽極板到陰離子選擇性透 過膜之間的距離約為陰極板到陰離子選擇性透過膜之間的距離的3倍;
所述每個陽極室內部按照平行于陽極板1放置若干光源2,陽極板1到光源 2的垂直距離約為陰離子選擇性透過膜4到光源2距離的2~3倍,以增加光對陽 極板的照射強度,提升光電催化氧化的反應速率,同時減少光對陰離子選擇性透 過膜的照射強度,增加膜的使用壽命;
所述光源可采用波長為200~400nm的高壓汞燈、中壓汞燈及紫外燈中的一 種或多種。
在上述技術方案中,所述陽極板優選為采用鈦基材表面固載貴金屬物質制備 而成的網狀貴金屬陽極板,貴金屬物質優選采用鉑、釕、銥、銣和鋯氧化物中的 一種或多種物質構成;所述陰極板優選為網狀不銹鋼陰極板;
所述光電催化劑優選采用α-氧化鋁或二氧化硅中的一種或多種為載體,表面 負荷二氧化鈦、硫化鎘、氧化鐵、二氧化錳中的一種或多種活性物質構成;具有 裂化和開環功能,及孔結構可調特性,并制備成蜂窩多孔結構。
在上述技術方案中,所述裝置優選包含3-10組陰陽極室。
本發明涉及的一種微串聯光電催化氧化廢水處理裝置和傳統設備相比較,具 有以下有益效果:
1、利用陰離子選擇性透過膜將裝置內部分為若干組陰陽極室,可使陰極板 和光源不結垢,避免由于頻繁清洗造成的各類問題。
2、陽極室微串聯狀態,能夠提升光電催化反應降解COD效率,降低噸水 處理能耗。
3、陽極室產生的氧化性氣體能夠充當曝氣氣源,減少能耗的同時,亦能夠 降解廢水中COD物質。
4、陽極室多余尾氣能夠進行無害化處理,保證該裝置有害氣體的零排放。
5、優選方案可實現陰極板防垢液內循環狀態,能夠極大地降低陰極板腐蝕 速率,最大限度延長其使用壽命。







