申請日2013.09.16
公開(公告)日2014.02.26
IPC分類號C02F11/14; C02F11/12
摘要
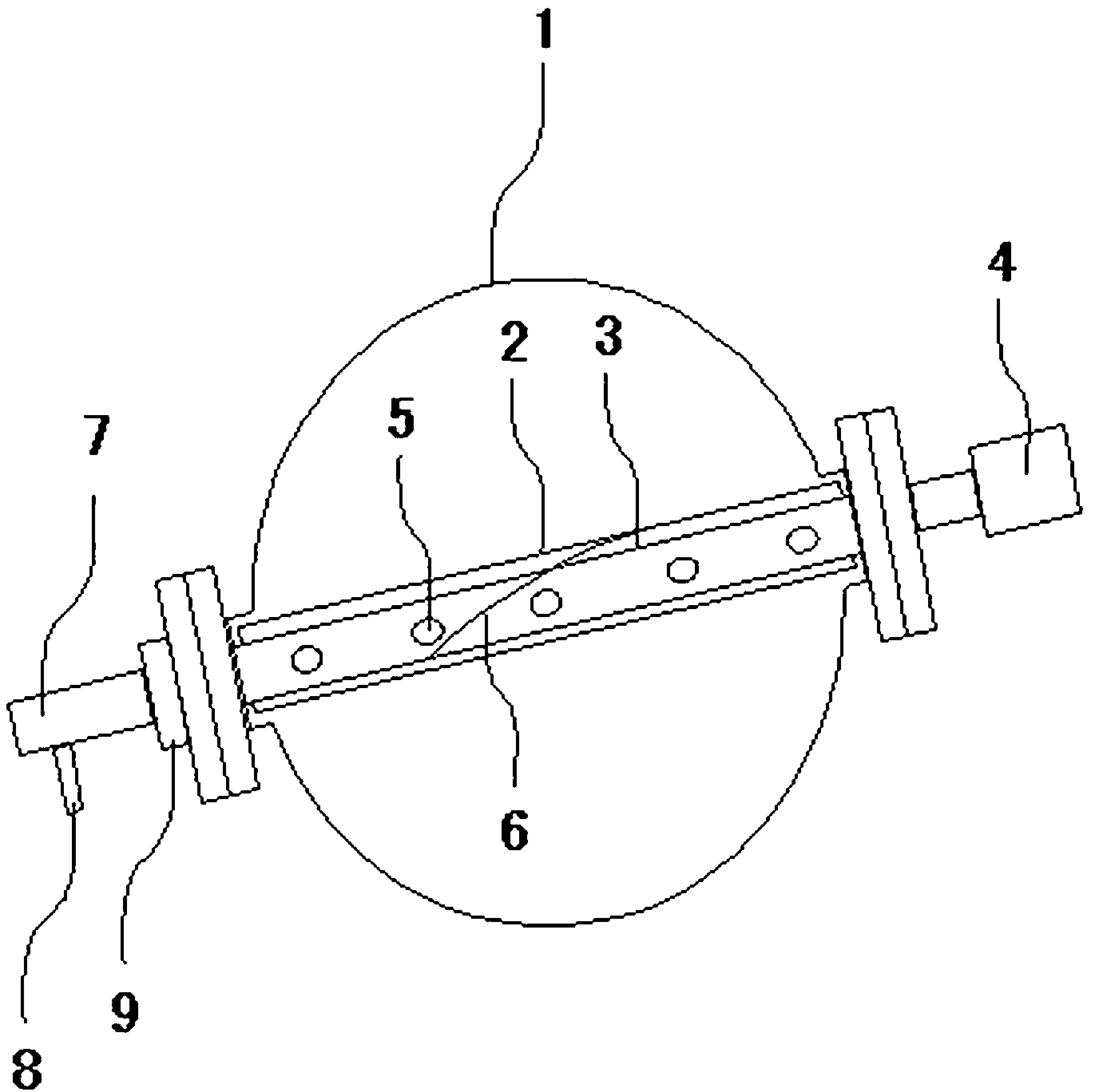
本實用新型屬污泥處理設備領域,尤其涉及一種污泥在線脫水器,包括反應器(1)、過濾網(2)、空心軸(3)及旋轉電機(4);所述空心軸(3)固定設于過濾網(2)內;所述過濾網(2)置于反應器(1)內;所述旋轉電機(4)的動力輸出端與空心軸(3)的一端固定相接;在所述空心軸(3)上設有吸水孔(5);在所述過濾網(2)上固定設有刮泥器(6);在所述空心軸(3)的另一端部固定設有出水口(7)。本實用新型結構簡單,泥水分離效率高,濾出水品質好,污泥處理周期短,維護成本低。
權利要求書
1.污泥在線脫水器,其特征在于,包括反應器(1)、過濾網(2)、空心軸(3)及旋轉電機(4);所述空心軸(3)固定設于過濾網(2)內;所述過濾網(2)置于反應器(1)內;所述旋轉電機(4)的動力輸出端與空心軸(3)的一端固定相接;在所述空心軸(3)上設有吸水孔(5)。
2.根據權利要求1所述的污泥在線脫水器,其特征在于:在所述過濾網(2)上設有刮泥器(6)。
3.根據權利要求2所述的污泥在線脫水器,其特征在于:在所述空心軸(3)的另一端部固定設有出水口(7)。
4.根據權利要求3所述的污泥在線脫水器,其特征在于:在所述出水口(7)處固定設有氣體反沖洗機構入口(8)。
5.根據權利要求4所述的污泥在線脫水器,其特征在于:所述反應器(1)為蠕動式反應器。
6.根據權利要求5所述的污泥在線脫水器,其特征在于:在所述出水口(7)與空心軸(3)的結合處固定設有旋轉軸密封(9)。
7.根據權利要求1~6之任一所述的污泥在線脫水器,其特征在于:所述過濾網(2)為燒結型金屬過濾網,其孔徑為150-400目。
說明書
污泥在線脫水器
技術領域
本實用新型屬污泥處理設備領域,尤其涉及一種污泥在線脫水器。
背景技術
污泥是污水和污水處理過程所產生的固體沉淀物質。未來10年將是我國污水處理市場的黃金時代,將建成上千座污水處理廠。每座污水處理廠每天要排放含水約99.2%的剩余污泥數百乃至上萬噸,這些數量巨大的污泥將成為未來急需處理的難題。污泥處理技術包括了污泥的濃縮、脫水和干燥三方面的技術。目前,污泥脫水設備普遍存在著結構復雜,泥水分離效率低,濾出水品質差,污泥處理周期長,維護成本高等特點。
實用新型內容
本實用新型旨在克服現有技術的不足之處而提供一種結構簡單,泥水分離效率高,濾出水品質好,污泥處理周期短,維護成本低的污泥在線脫水器。
為解決上述技術問題,本實用新型是這樣實現的。
污泥在線脫水器,它包括反應器、過濾網、空心軸及旋轉電機;所述空心軸固定設于過濾網內;所述過濾網置于反應器內;所述旋轉電機的動力輸出端與空心軸的一端固定相接;在所述空心軸上設有吸水孔。
作為一種優選方案,本實用新型在所述過濾網上設有刮泥器。
作為另一種優選方案,本實用新型在所述空心軸的另一端部固定設有出水口。
進一步地,本實用新型在所述出水口處固定設有氣體反沖洗機構入口。
更進一步地,本實用新型所述反應器為蠕動式反應器。
更進一步地,本實用新型在所述出水口與空心軸的結合處固定設有旋轉軸密封。
更進一步地,本實用新型所述過濾網為燒結型金屬過濾網,其孔徑為150-400目。
本實用新型結構簡單,泥水分離效率高,濾出水品質好,污泥處理周期短,維護成本低。







