申請日2013.08.23
公開(公告)日2015.09.23
IPC分類號B01J7/00; C02F1/72; C02F1/50; C02F1/78; C02F1/70
摘要
本發明涉及一種產生用于處理工業污水的氣體的氣體產生裝置,包括用于產生氣體的罐體,固定罐體的底座,以及設置于罐體上的進氣口及出氣口,所述進氣口通過氣泵依次經過負離子發生器及臭氧發生器接入罐體,并在與所述罐體連接部固定有朝向氣流方向打開的單向閥門,所述罐體底部設有曝氣孔,所述曝氣孔連接至進氣口,所述罐體內盛裝有納米級二氧化鈦溶液,并在罐體內設有至少一個紫外光燈管。本發明可產生具有強氧化性、強還原性的水蒸氣,將該水蒸氣從出氣口接入至污水處理池,對污水中的有毒有害物質進行還原、分解成為無毒物質,反應快捷高效,大大降低了企業污水處理成本,避免了企業偷排污水對環境造成的污染。
權利要求書
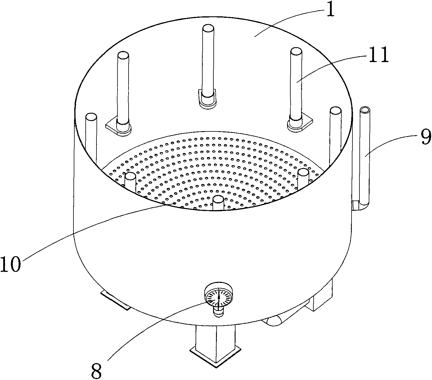
1.一種用于工業污水處理的氣體產生裝置,包括用于產生氣體的罐體(1), 固定罐體(1)的底座(2),以及設置于罐體(1)上的進氣口(3)及出氣口(4), 其特征在于:所述進氣口(3)通過氣泵(5)依次經過負離子發生器(6)及臭 氧發生器(7)接入罐體(1),并在與所述罐體(1)連接部固定有朝向氣流方 向打開的單向閥門,所述罐體(1)底部設有曝氣孔(10),所述曝氣孔(10) 連接至進氣口(3),所述罐體(1)內盛裝有納米級二氧化鈦溶液,并在罐體(1) 內設有至少一個紫外光燈管(11)。
2.根據權利要求1所述的用于工業污水處理的氣體產生裝置,其特征在于: 所述進氣口(3)連接至罐體(1)的底部。
3.根據權利要求1所述的用于工業污水處理的氣體產生裝置,其特征在于: 所述出氣口(4)設于罐體(1)的頂部,其另一端連接至污水處理池。
4.根據權利要求1所述的用于工業污水處理的氣體產生裝置,其特征在于: 所述至少一個紫外光燈管(11)固定于所述罐體(1)內壁上。
5.根據權利要求1所述的用于工業污水處理的氣體產生裝置,其特征在于: 所述罐體(1)外壁上固定有壓力表(8)。
6.根據權利要求1或5所述的用于工業污水處理的氣體產生裝置,其特征 在于:所述罐體(1)外壁上固定有液位桿(9)。
說明書
一種用于工業污水處理的氣體產生裝置
技術領域
本發明屬于污水處理技術領域,具體是指一種產生用于處理工業污水的氣 體的氣體產生裝置。
背景技術
隨著城市人口的增加和工農業生產的發展,工業污水和城市生活用水的排 放量也在日益增加,遠遠超過了環境的自凈能力,使得水體污染日益嚴重,而 且乎遍布全國各地,因此,人們也在努力的消除水污染,各種污水處理方法 和工藝也應運而生。
而污水處理中,尤以工業污水的處理難度最大,因為工業污水的種類繁多、 水量變化大、水質濃度高、成分復雜,特別是里面含有的重金屬成分,如果直 接排放,將對環境造成致命的破壞。
現有的污水處理工藝一般采用自然沉淀和生物曝氣相結合的方式,根據各 步驟的處理工藝不同,需要設置沉淀池、厭氧池、缺氧池、好氧池、脫氮池、 微曝氣濾池等等,污水需要依次流經上述各個池體來對其中的有害物質進行凈 化處理以達到排放標準,繁瑣的處理工藝導致污水處理效率低下,如果加快污 水流速又無法達到有效的處理效果,同時,設置的多個池體需要較高的使用及 維護成本,導致企業生產成本增加,企業為了增加收益就選擇直接偷排沒有經 過任何處理的污水,給環境造成嚴重的破壞。
發明內容
針對上述問題,本發明提供一種用于工業污水處理的氣體產生裝置,以實 現對污水快速、有效的凈化處理。
本發明采取如下技術手段來實現該目的:一種用于工業污水處理的氣體產 生裝置,包括用于產生氣體的罐體,固定罐體的底座,以及設置于罐體上的進 氣口及出氣口,所述進氣口通過氣泵依次經過負離子發生器及臭氧發生器接入 罐體,并在與所述罐體連接部固定有朝向氣流方向打開的單向閥門,所述罐體 底部設有曝氣孔,所述曝氣孔連接至進氣口,所述罐體內盛裝有納米級二氧化 鈦溶液,并在罐體內設有至少一個紫外光燈管。
實現本發明目的的技術方案還進一步包括,所述進氣口連接至罐體的底部。
進一步的,所述出氣口設于罐體的頂部,其另一端連接至污水處理池。
更進一步的,所述至少一個紫外光燈管固定于所述罐體內壁上。
本發明所述一種用于工業污水處理的氣體產生裝置,通過氣泵加壓使罐體 內的溶液變成水蒸氣狀,并在罐體內使納米級的二氧化鈦溶液在紫外光條件下 反應生成羥基自由基,同時該帶有羥基自由基的水蒸氣結合入負離子及臭氧變 成強氧化劑、強還原劑,將該水蒸氣從出氣口接入至污水處理池,對污水中的 有毒有害物質進行還原、分解成為無毒物質,反應快捷高效,大大降低了企業 污水處理成本,避免了企業偷排污水對環境造成的污染。







