申請日2013.08.23
公開(公告)日2015.03.18
IPC分類號C02F3/10; C02F1/24; C02F1/00; C02F1/74; C02F1/52; C02F1/72
摘要
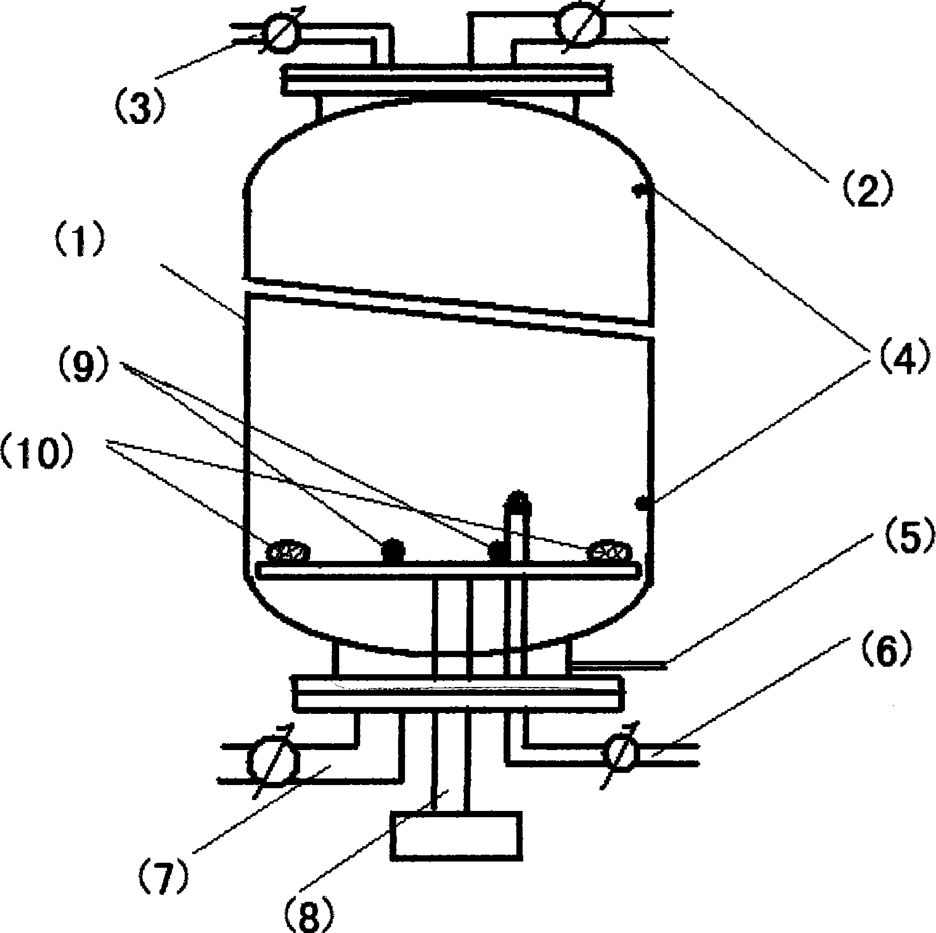
間歇式玻璃鋼綜合污水處理塔是屬于污水處理領域,由玻璃鋼塔罐(1)、污水引入管(2)、排氣控制管(3)、水位傳感器(4)、傳感器線路引出管(5)、清水引出管(6)、污泥引出管(7)、綜合控制管(8)、曝氣裝置(9)、氣浮裝置(10)等組成如圖1。間歇式玻璃鋼綜合污水處理塔主要解決,生物天然氣生產配套設備;1生物天然氣生產所生產污水、生活污水處理。2采用計算機控制,完成污水處理過程。本發明間歇式玻璃鋼綜合污水處理塔工藝,是生物天然氣生產配套設備,解決生物天然氣燃氣生產所生產污水、生活污水。適合我國各地新農村環保需求。可實現工業化、大生產。
權利要求書
1.間歇式玻璃鋼綜合污水處理塔,其整體特征在于,由型玻璃鋼塔罐為主 體包括塔罐頂部玻璃鋼法蘭及金屬法蘭盤蓋,盤蓋上設置污水引入管、排氣控 制管。塔罐其內壁位置設置污水位傳感器、排出水位傳感器、傳感器線路引出 管。塔罐底部玻璃鋼法蘭及金屬法蘭盤蓋,盤蓋上設置清水引出管、污泥引出 管、綜合控制管。塔罐其內底部相應位置設置曝氣裝置、氣浮裝置。
2.間歇式玻璃鋼綜合污水處理塔,其特征在于,型玻璃鋼塔罐為主體,由 不飽和樹脂和玻璃纖維層,纖維布層,若干鋼絲網,若干尼龍網經數個環向纏 繞、交叉纏繞和軸向纏繞構成。
3.間歇式玻璃鋼綜合污水處理塔,其特征在于,塔罐頂部玻璃鋼法蘭及金 屬法蘭盤蓋,盤蓋上設置污水引入管。
4.間歇式玻璃鋼綜合污水處理塔,其特征在于,塔罐頂部玻璃鋼法蘭及金 屬法蘭盤蓋,盤蓋上設置排氣控制管。
5.間歇式玻璃鋼綜合污水處理塔,其特征在于,塔罐其內壁位置設置污水 位傳感器、排出水位傳感器。
6.間歇式玻璃鋼綜合污水處理塔,其特征在于,塔罐其內壁位置設置傳 感器線路引出管。
7.間歇式玻璃鋼綜合污水處理塔,其特征在于,塔罐底部玻璃鋼法蘭及金 屬法蘭盤蓋,盤蓋上設置清水引出管。
8.間歇式玻璃鋼綜合污水處理塔,其特征在于,塔罐底部玻璃鋼法蘭及金 屬法蘭盤蓋,盤蓋上設置污泥引出管。
9.間歇式玻璃鋼綜合污水處理塔,其特征在于,塔罐底部玻璃鋼法蘭及金 屬法蘭盤蓋,盤蓋上設置綜合控制管。
10.間歇式玻璃鋼綜合污水處理塔,其特征在于,塔罐其內底部相應位置 設置曝氣裝置。
11.間歇式玻璃鋼綜合污水處理塔,其特征在于,塔罐其內底部相應位置 設置氣浮裝置。
說明書
間歇式玻璃鋼綜合污水處理塔
技術領域:涉及一種污水處理裝置。
背景技術:現實污水處理設備,基本上由過濾池、調節池、水解池、接觸 氧化池、氣浮池、集水池、曝氣生物濾池,達標水排放等管道組成,雖然能有 效進行污水處理,但占地面積大,設備使用量大、能耗高。采用間歇式玻璃鋼 綜合污水處理塔正是真對傳統污水處理存在諸多不利因素,開發出來綜合污水 處理設備及應用方法,多種功能為一體。占地面積少,設備投入少,設備使用 率高等特點。
發明內容:本發明間歇式玻璃鋼綜合污水處理塔,是一種玻璃鋼塔罐為主 體,采用分解,浮化、氧化、氣浮、曝氣、絮凝工作,運用計算機操作,控制 開啟閥門,完成各種工序,實現污水處理過程。
為實現上述目的,本發明提供了一種間歇式玻璃鋼綜合污水處理塔技術;
所述間歇式玻璃鋼綜合污水處理塔,塔罐是由不飽和樹脂和若干、玻璃纖 維層、纖維布層、鋼絲網、尼龍網,由數個環向纏繞、交叉纏繞和軸向纏繞構 成。
所述間歇式玻璃鋼綜合污水處理塔,塔罐頂部設置玻璃鋼法蘭及金屬法蘭 盤蓋,盤蓋上設置污水管、排氣控制管。
所述間歇式玻璃鋼綜合污水處理塔,塔罐其內壁位置設置污水位傳感器、 排出水位傳感器以及傳感器線路引出管。
所述間歇式玻璃鋼綜合污水處理塔,塔罐底部設置玻璃鋼法蘭及金屬法蘭 盤蓋,盤蓋上設置污泥排出控制管、清水排出控制管、綜合控制管。
所述間歇式玻璃鋼綜合污水處理塔,塔罐其內底部相應位置設置曝氣裝置、 氣浮裝置







