申請日2014.10.16
公開(公告)日2015.03.25
IPC分類號C02F1/40; F16L41/02
摘要
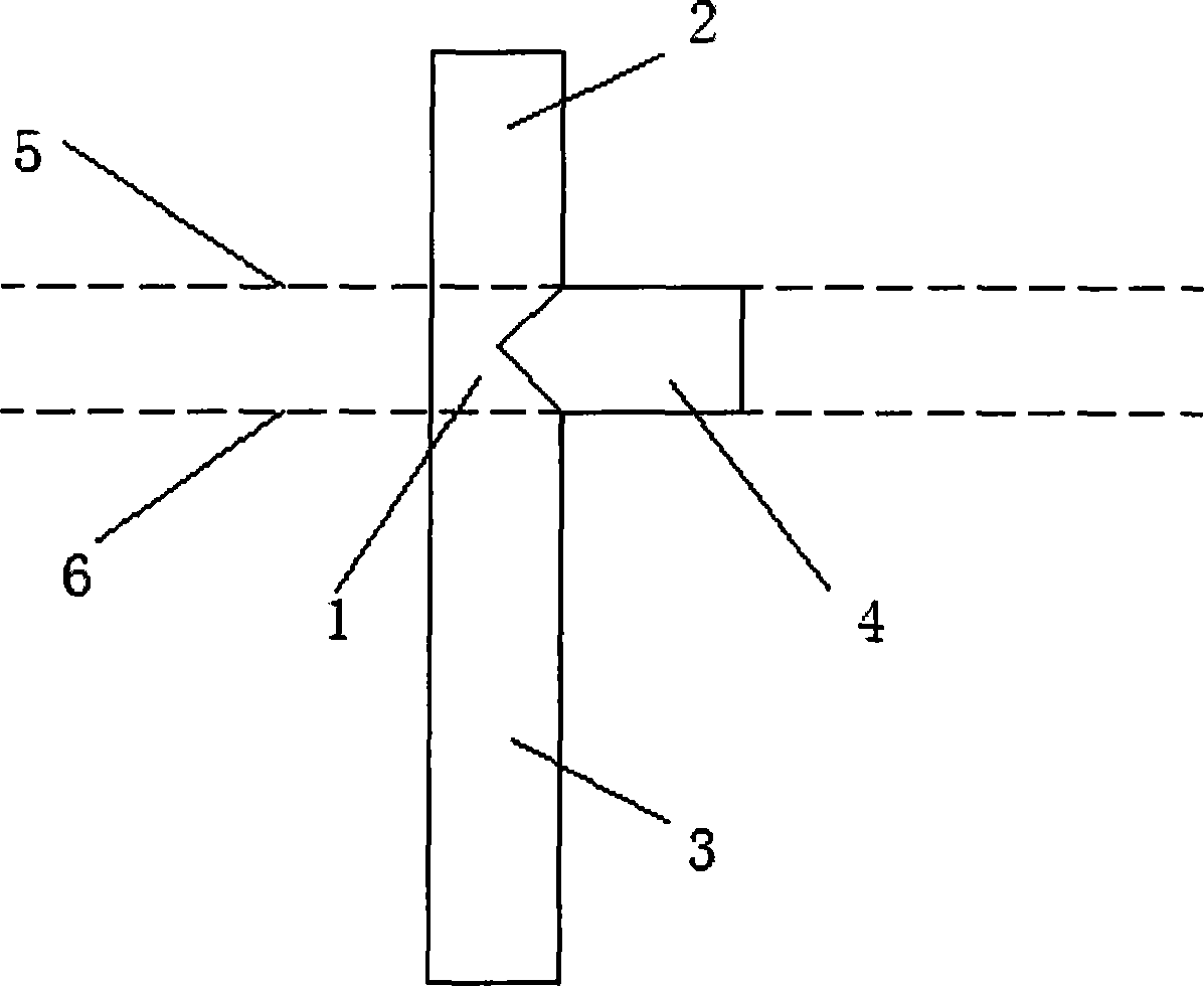
本實用新型公開了一種餐飲含油廢水排放油水分離三通管,包括三通管本體、上支管、下支管和水平支管,所述三通管本體上設置有上支管、下支管、水平支管,所述上支管、下支管、水平支管外包裹有過濾網,所述過濾網兩端設有固定框,所述固定框為空心立方體,所述兩固定框通過兩固定條相連,所述固定條通過一弧形擋片相連,所述三通管本體設置在隔油箱內,且水平支管頂部與隔油箱上水位線齊平,水平支管的底部與隔油箱下水位線齊平。本實用新型能大大減少水中的含油量,同時清理方便,可循環使用,使排到市政管網的水質達到排入城鎮下水道水質標準。
權利要求書
1.餐飲含油廢水排放油水分離三通管,其特征在于,包括三通管本 體(1)、上支管(2)、下支管(3)和水平支管(4),其特征在于,所述 三通管本體(1)上設置有上支管(2)、下支管(3)、水平支管(4),所 述上支管(2)、下支管(3)、水平支管(4)外包裹有過濾網(8),所述 過濾網(8)兩端設有固定框(7),所述固定框(7)為空心立方體,所 述兩固定框(7)通過兩固定條(9)相連,所述固定條(9)通過一弧形 擋片(10)相連,所述三通管本體(1)設置在隔油箱內,且水平支管(4) 頂部與隔油箱上水位線(5)齊平,水平支管(4)的底部與隔油箱下水 位線(6)齊平。
2.根據權利要求1所述的餐飲含油廢水排放油水分離三通管,其特 征在于,所述的固定框(7)與所述過濾網(8)一體成型。
3.根據權利要求1所述的餐飲含油廢水排放油水分離三通管,其特 征在于,所述的兩固定條(9)與所述弧形擋片(10)一體成型。
說明書
餐飲含油廢水排放油水分離三通管
技術領域
本實用新型涉及的是一種三通管,具體涉及一種餐飲含油廢水排放 油水分離三通管。
背景技術
一般餐飲企業會將廢水經過油水分離器進行分離,但是普通隔板方 式油水分離器往往在水中會摻雜一些油,導致排放到市政管網的污水中 含油量高,難以處理,污染環境。
實用新型內容
針對現有技術上存在的不足,本實用新型目的是在于提供一種餐飲 含油廢水排放油水分離三通管,能大大減少水中的含油量,使排到市政 管網的水質達到排入城鎮下水道水質標準。
為了實現上述目的,本實用新型是通過如下的技術方案來實現:餐 飲含油廢水排放油水分離三通管,包括三通管本體、上支管、下支管和 水平支管,所述三通管本體上設置有上支管、下支管、水平支管,所述 上支管、下支管、水平支管外包裹有過濾網,所述過濾網兩端設有固定 框,所述固定框為空心立方體,所述兩固定框通過兩固定條相連,所述 固定條通過一弧形擋片相連,所述三通管本體設置在隔油箱內,且水平 支管頂部與隔油箱上水位線齊平,水平支管的底部與隔油箱下水位線齊 平。
作為優選,所述的固定框與所述過濾網一體成型。
作為優選,所述的兩固定條與所述弧形擋片一體成型。
本實用新型能大大減少水中的含油量,同時清理方便,可循環使用, 從而排到市政管網的水質達到排入城鎮下水道水質標準。







