公布日:2023.12.05
申請日:2023.11.02
分類號:C02F9/00(2023.01)I;C02F1/66(2023.01)N;C02F1/44(2023.01)N;C02F1/00(2023.01)N;C02F1/28(2023.01)N
摘要
本發明提供了一種用于化學品生產的廢水處理裝置,涉及化工品生產技術領域,包括:中和機構;所述中和機構的上方安裝有入水管道;所述中和機構的下方安裝有安裝機構;所述安裝機構內部安裝有過濾機構;所述安裝機構的左側安裝有清理機構;所述控制總成的推力桿穿過安裝箱插入再導向板的限位孔內部,通過控制總成的驅動,使推頭定期對導向板和過濾板進行清理,解決了傳統廢水處理裝置,如果濾膜使用的時間較長,大量的沉淀物在濾膜表面沉積,很容易造成堵塞,嚴重影響處理效果,且更換濾膜較為麻煩,會浪費大量的時間問題。

權利要求書
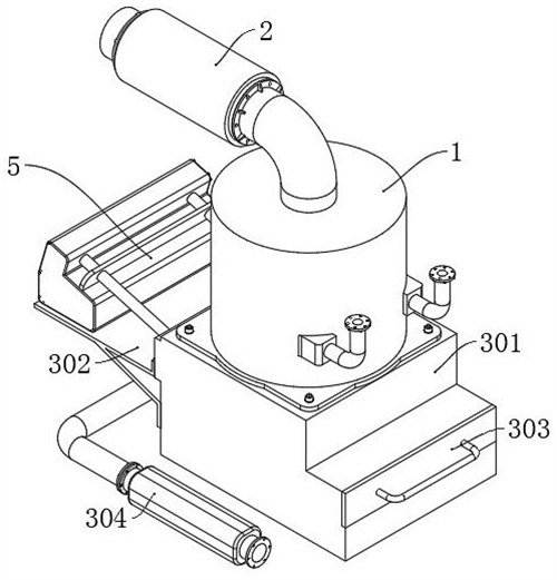
1.一種用于化學品生產的廢水處理裝置,其特征在于,包括:中和機構(1);所述中和機構(1)的上方安裝有入水管道(2),且入水管道(2)的管道主體(201)通過法蘭與中和機構(1)的中和箱(101)的入水口密封連接;所述中和機構(1)的下方安裝有安裝機構(3),且安裝機構(3)的安裝箱(301)通過螺絲與中和箱(101)密封連接;所述安裝機構(3)內部安裝有過濾機構(4),且過濾機構(4)的導向板(401)固定連接在安裝箱(301)的內部;所述安裝機構(3)的左側安裝有清理機構(5),且清理機構(5)的控制總成(501)固定連接在安裝機構(3)的安裝板(302)的上方;所述控制總成(501)的推力桿穿過安裝箱(301)插入再導向板(401)的限位孔內部。
2.如權利要求1所述一種用于化學品生產的廢水處理裝置,其特征在于:所述中和箱(101)的上方設有入水口,且中和箱(101)的入水口的左端設有法蘭;所述中和箱(101)的右側設有入料口。
3.如權利要求1所述一種用于化學品生產的廢水處理裝置,其特征在于:所述中和箱(101)的內部開設有固定槽,且中和箱(101)的固定槽內部卡裝有分流板(102);所述分流板(102)上端面為三十度角傾斜的斜面,且分流板(102)內部開設有圓周排列的通過孔;所述分流板(102)的通過孔下方設有分流管。
4.如權利要求1所述一種用于化學品生產的廢水處理裝置,其特征在于:所述中和箱(101)的下端面開設有通孔,且中和箱(101)的通孔上方設有控制閥(103);所述中和箱(101)的通孔下方連接有出水口(104)。
5.如權利要求1所述一種用于化學品生產的廢水處理裝置,其特征在于:所述管道主體(201)的左右兩側設有法蘭,且管道主體(201)內部的左右兩側開設有旋轉槽;所述管道主體(201)左右兩側的旋轉槽內部分別插入有一個旋轉件(202),且旋轉件(202)內部設有三個槳葉;兩個所述旋轉件(202)之間固定連接有圓周排列的刮板(203)。
6.如權利要求1所述一種用于化學品生產的廢水處理裝置,其特征在于:所述安裝箱(301)的右側開設有插槽,且安裝箱(301)的插槽底部設有濾膜;所述安裝箱(301)的左側設有出水管;所述安裝箱(301)的左側通過螺絲固定連接安裝板(302)。
7.如權利要求1所述一種用于化學品生產的廢水處理裝置,其特征在于:所述安裝箱(301)的插槽內部插入有收集箱(303),且收集箱(303)的底部開設有矩陣排列的通孔;所述安裝箱(301)的出水管末端連接有過濾芯(304)。
8.如權利要求1所述一種用于化學品生產的廢水處理裝置,其特征在于:所述導向板(401)為四十五度角傾斜的板狀結構,且導向板(401)的上端面開設有矩形安裝孔;所述導向板(401)的矩形安裝孔前后兩端設有三十度角傾斜的斜面;所述導向板(401)的左側開設有兩個限位孔;所述導向板(401)的安裝孔內部固定連接有過濾板(402),且過濾板(402)的內部為濾膜。
9.如權利要求1所述一種用于化學品生產的廢水處理裝置,其特征在于:所述控制總成(501)的上方設有推力桿;所述控制總成(501)的推力桿末端設有推頭(502),且推頭(502)卡入在導向板(401)的斜面內部。
發明內容
有鑒于此,本發明提供一種用于化學品生產的廢水處理裝置,其具有清理機構,通過控制總成的驅動,使推頭定期對導向板和過濾板進行清理。
本發明提供了一種用于化學品生產的廢水處理裝置,具體包括:中和機構;所述中和機構的上方安裝有入水管道,且入水管道的管道主體通過法蘭與中和機構的中和箱的入水口密封連接;所述中和機構的下方安裝有安裝機構,且安裝機構的安裝箱通過螺絲與中和箱密封連接;所述安裝機構內部安裝有過濾機構,且過濾機構的導向板固定連接在安裝箱的內部;所述安裝機構的左側安裝有清理機構,且清理機構的控制總成固定連接在安裝機構的安裝板的上方;所述控制總成的推力桿穿過安裝箱插入再導向板的限位孔內部。
可選地,所述中和箱的上方設有入水口,且中和箱的入水口的左端設有法蘭;所述中和箱的右側設有入料口。
可選地,所述中和箱的內部開設有固定槽,且中和箱的固定槽內部卡裝有分流板;所述分流板上端面為三十度角傾斜的斜面,且分流板內部開設有圓周排列的通過孔;所述分流板的通過孔下方設有分流管。
可選地,所述中和箱的下端面開設有通孔,且中和箱的通孔上方設有控制閥;所述中和箱的通孔下方連接有出水口。
可選地,所述管道主體的左右兩側設有法蘭,且管道主體內部的左右兩側開設有旋轉槽;所述管道主體左右兩側的旋轉槽內部分別插入有一個旋轉件,且旋轉件內部設有三個槳葉;兩個所述旋轉件之間固定連接有圓周排列的刮板。
可選地,所述安裝箱的右側開設有插槽,且安裝箱的插槽底部設有濾膜;所述安裝箱的左側設有出水管;所述安裝箱的左側通過螺絲固定連接安裝板。
可選地,所述安裝箱的插槽內部插入有收集箱,且收集箱的底部開設有矩陣排列的通孔;所述安裝箱的出水管末端連接有過濾芯。
可選地,所述導向板為四十五度角傾斜的板狀結構,且導向板的上端面開設有矩形安裝孔;所述導向板的矩形安裝孔前后兩端設有三十度角傾斜的斜面;所述導向板的左側開設有兩個限位孔;所述導向板的安裝孔內部固定連接有過濾板,且過濾板的內部為濾膜。
可選地,所述控制總成的上方設有推力桿;所述控制總成的推力桿末端設有推頭,且推頭卡入在導向板的斜面內部。
(發明人:蔡珈緯)






