公布日:2024.06.18
申請日:2024.04.18
分類號:C02F9/00(2023.01)I;C02F1/00(2023.01)N;C02F1/28(2023.01)N;C02F1/32(2023.01)N;C02F1/52(2023.01)N;C02F1/78(2023.01)N;C02F1/461(2023.01)N;C02F101/
30(2006.01)N
摘要
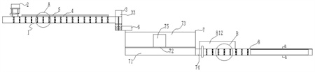
本發明公開了一種具有凈化除臭功能的自振式污水處理設備,屬于污水處理技術領域,包括自振通道,所述自振通道左端上方設有用于添加絮凝劑的絮凝劑添加裝置,自振通道的右端設有兩個用于發電的渦流發電裝置,所述自振通道上方固定連接有蓄電池,所述蓄電池的上方固定連接有太陽能發電板,所述渦流發電裝置和所述太陽能發電板均與所述蓄電池電性連接,所述渦流發電裝置的下方連接有連接管,所述連接管的右端設有填料過濾區,所述填料過濾區右端設有用于降解有機物的凈化通道,本裝置不需要外來的電源介入,通采用太陽能發電和渦流發電的方式對裝置內需要用電的設備進行供電,具有節能環保的效果,降低了污水處理的成本。

權利要求書
1.一種具有凈化除臭功能的自振式污水處理設備,其特征在于,包括自振通道(1),所述自振通道(1)左端上方設有用于添加絮凝劑的絮凝劑添加裝置(2),自振通道(1)的右端設有兩個用于發電的渦流發電裝置(3),所述自振通道(1)上方固定連接有蓄電池(4),所述蓄電池(4)的上方固定連接有太陽能發電板(5),所述渦流發電裝置(3)和所述太陽能發電板(5)均與所述蓄電池(4)電性連接,所述渦流發電裝置(3)的下方連接有連接管(6),所述連接管(6)的右端設有填料過濾區(7),所述填料過濾區(7)右端設有用于降解有機物的凈化通道(8)。
2.如權利要求1所述的一種具有凈化除臭功能的自振式污水處理設備,其特征在于,所述自振通道(1)包括通道殼(11),所述通道殼(11)的內部橫向設有多個振動桿一(12),所述振動桿一(12)與所述通道殼(11)彈性連接。
3.如權利要求1所述的一種具有凈化除臭功能的自振式污水處理設備,其特征在于,所述絮凝劑添加裝置(2)包括絮凝劑添加倉(21)、固定架(22)、凸輪機構(25),所述固定架(22)固定安裝在自振通道(1)的左側上端,固定架(22)的上方固定連接有絮凝劑添加倉(21),絮凝劑添加倉(21)的下端固定連接有下料通道(23),所述下料通道(23)左端鉸接有振動板(24),所述振動板(24)的下端與所述凸輪機構(25)鉸接。
4.如權利要求1所述的一種具有凈化除臭功能的自振式污水處理設備,其特征在于,所述渦流發電裝置(3)包括渦流殼(31),所述渦流殼(31)內轉動連接有渦流葉輪(32),所述渦流殼(31)的上當固定連接有發電機(33),所述發電機(33)的轉動軸與所述渦流葉輪(32)傳動連接,所述蓄電池(4)與所述渦流發電裝置(3)電性連接。
5.如權利要求1所述的一種具有凈化除臭功能的自振式污水處理設備,其特征在于,所述填料過濾區(7)包括填料池(71)、所述填料池(71)內設有過濾板(72),所述過濾板(72)上方放置有活性炭顆粒(73),所述填料池(71)右側下方設有濾水管(74),所述濾水管(74)與所述凈化通道(8)固定連通。
6.如權利要求1所述的一種具有凈化除臭功能的自振式污水處理設備,其特征在于,所述填料過濾區(7)包括填料池(71)、所述填料池(71)內設有過濾板(72),所述過濾板(72)上方放置有活性炭顆粒(73),所述填料池(71)右側下方設有濾水管(74)。
發明內容
為解決上述技術問題,本發明提供了一種具有凈化除臭功能的自振式污水處理設備。
本發明的技術方案是:一種具有凈化除臭功能的自振式污水處理設備,包括自振通道,所述自振通道左端上方設有用于添加絮凝劑的絮凝劑添加裝置,自振通道的右端設有兩個用于發電的渦流發電裝置,所述自振通道上方固定連接有蓄電池,所述蓄電池的上方固定連接有太陽能發電板,所述渦流發電裝置和所述太陽能發電板均與所述蓄電池電性連接,所述渦流發電裝置的下方連接有連接管,所述連接管的右端設有填料過濾區,所述填料過濾區右端設有用于降解有機物的凈化通道。
進一步地,所述自振通道包括通道殼,所述通道殼的內部橫向設有多個振動桿一,所述振動桿一與所述通道殼彈性連接。
說明:通過污水流動經過振動桿一的時候會在后方形成渦振,渦振帶動振動桿一上下運動,形成渦激共振,這樣的自振動結構能夠將絮凝劑與污水混合均勻,節省了絮凝劑與污水混合攪拌的能耗。
進一步地,所述絮凝劑添加裝置包括絮凝劑添加倉、固定架、凸輪機構,所述固定架固定安裝在自振通道的左側上端,固定架的上方固定連接有絮凝劑添加倉,絮凝劑添加倉的下端固定連接有下料通道,所述下料通道左端鉸接有振動板,所述振動板的下端與所述凸輪機構鉸接。
說明:通過凸輪機構帶動振動板將裝在絮凝劑添加倉內的絮凝劑持續撒入自振通道,能夠有效將絮凝劑分散在污水內,有利于絮凝劑與污水中的大分子有機物以及懸浮顆粒形成沉淀物。
進一步地,所述渦流發電裝置包括渦流殼,所述渦流殼內轉動連接有渦流葉輪,所述渦流殼的上當固定連接有發電機,所述發電機的轉動軸與所述渦流葉輪傳動連接,所述蓄電池與所述渦流發電裝置電性連接。
說明:通過污水的自流動形成渦流,再通過渦流進行發電,渦流產生的電能用于電解有機物,進而降低污水處理的成本。
進一步地,所述填料過濾區包括填料池、所述填料池內設有過濾板,所述過濾板上方放置有活性炭顆粒,所述填料池右側下方設有濾水管,所述濾水管與所述凈化通道固定連通。
說明:通過活性炭填顆粒對污水進行過濾,污水中的沉淀物截流在活性炭顆粒表面,污水中未與絮凝劑結合的有機物被活性炭顆粒吸附。
進一步地,所述凈化通道包括前通道和后通道,所述前通道的右端與所述后通道的左端固定連通,所述前通道內部橫向設有多個振動桿二,前通道的上方固定連接有臭氧發生器,所述臭氧發生器的出氣口通過管道與所述前通道左側底部固定連通,所述后通道前內壁和后內壁固定分別固定連接有正極板和負極板,所述正極板和負極板與所述蓄電池電性連接。
說明:通過臭氧對污水中殘留的有機物進行氧化降解,通過正極板和負極板形成電場,對經過正極板和負極板之間的污水中的有機物進行電解。
本發明的有益效果是:
(1)本發明相比現有的污水處理裝置,本裝置不需要外來的電源介入,通采用太陽能發電和渦流發電的方式對裝置內需要用電的設備進行供電,具有節能環保的效果,降低了污水處理的成本。
(2)本發明利用污水流動產生的渦振與振動桿一和振動桿二形成渦激共振,分別使絮凝劑和臭氧與污水充分混合,代替了傳動攪拌的方式進行混合,能夠有效的節省攪拌所用的能耗。
(3)本發明先采用絮凝的方式將污水中的大分子直接進行絮凝形成沉淀,這種方式能夠快速有效提高污水的清澈度,然后通過活性炭顆粒過濾分離沉淀物,活性炭顆粒還可以對污水中的有機物進行吸附,最后通過臭氧氧化和電解的方式去除污水中殘留的有機物,通過紫外線燈對污水中細菌進行消殺,這種方式進行污水處理的效率高,效果好,且能夠去除污水產生臭味的有機物和細菌,達到凈化除臭的目的。
(發明人:朱吉祥;俞盛)






