公布日:2023.12.15
申請日:2023.07.18
分類號:C02F11/122(2019.01)I
摘要
本發明涉及污泥處理技術領域,尤其為一種可垂直壓榨的污泥垂壓高干脫水機,包括油壓機、機體平臺、料框、鋪料裝置、剝料裝置、輸送機、濾布卷、清洗裝置等,所述油壓機位于設備中間,油壓機下方設置有機體平臺,機體平臺左側安裝有料框,所述料框上方設有鋪料裝置,鋪料裝置上方含有進料管道,所述鋪料裝置一側設有剝料裝置,剝料裝置上安裝有濾布卷和清洗裝置,所述機體平臺右側安裝有以所述油壓機為中心、與左側對稱布置的另一組料框、鋪料裝置、剝料裝置、濾布卷等,本發明通過上述油壓機、機體平臺、料框、鋪料裝置、剝料裝置等配置實現對來料污泥進行垂直壓榨脫水。

權利要求書
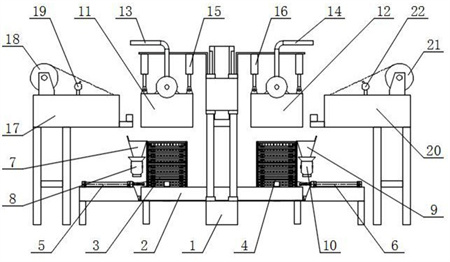
1.一種可垂直壓榨的污泥垂壓高干脫水機,包括油壓機(1)、機體平臺(2),其特征在于:所述油壓機(1)在設備中間,且油壓機(1)上設置壓盤(24),所述油壓機(1)下方設有機體平臺(2),所述機體平臺(2)上一側設有第一料框(3)以及第二料框(4),所述第一料框(3)一側連接有第一油缸(5),所述第二料框(4)一側連接有第二油缸(6),所述第一料框(3)上設置有第一鋪料裝置(11),所述第二料框(4)上設置有第二鋪料裝置(12),所述第一鋪料裝置(11)上端連接有第三油缸(15),所述第三油缸(15)可帶動第一鋪料裝置(11)上下升降移動,所述第二鋪料裝置(12)上端連接有第四油缸(16),所述第四油缸(16)可帶動第二鋪料裝置(12)上下升降移動,所述第一鋪料裝置(11)上設有第一進料管(13),所述第二鋪料裝置(12)上設有第二進料管(14),所述第一鋪料裝置(11)的一側設置有第一剝料裝置(17),所述第二鋪料裝置(12)的一側設置有第二剝料裝置(20),所述第一剝料裝置(17)上設有第一濾布卷(18)和第一高壓清洗裝置(19),所述第二剝料裝置(20)上設有第二濾布卷(21)和第二高壓清洗裝置(22),所述第一料框(3)的一側設置有第一料斗(7)和第一輸送機(8),所述第二料框(4)的一側設置有第二料斗(9)和第二輸送機(10)。
2.根據權利要求1所述一種可垂直壓榨的污泥垂壓高干脫水機,其特征在于:所述第一輸送機(8)、第二輸送機(10)一端設置有出料口(23),所述油壓機(1)底部設置有壓盤(24),所述機體平臺(2)頂部設置有左側臺面(25)、右側臺面(26)以及中間臺面(27)。
3.根據權利要求1所述一種可垂直壓榨的污泥垂壓高干脫水機,其特征在于:所述第一料框(3)、第二料框(4)、第一鋪料裝置(11)、第二鋪料裝置(12)、第一剝料裝置(17)、第二剝料裝置(20)、第一濾布卷(18)、第二濾布卷(21)、第一高壓清洗裝置(19)以及第二高壓清洗裝置(22)均以油壓機(1)和機體平臺(2)的中心位置對稱分布于油壓機(1)的兩側。
4.根據權利要求1所述一種可垂直壓榨的污泥垂壓高干脫水機,其特征在于:所述第一料框(3)上連接的第一油缸(5)可拖動第一料框(3)在機體平臺(2)上移動,第一料框(3)可移動到油壓機(1)的中心位置,所述第二料框(4)上連接的第二油缸(6)可拖動第二料框(4)在機體平臺(2)上移動,第二料框(4)可移動到油壓機(1)的中心位置。
5.根據權利要求1所述一種可垂直壓榨的污泥垂壓高干脫水機,其特征在于:所述第一剝料裝置(17)和第二剝料裝置(20)上分別設有第一高壓清洗裝置(19)和第二高壓清洗裝置(22),所述第一高壓清洗裝置(19)和第二高壓清洗裝置(22)可分別實現對第一濾布卷(18)以及第二濾布卷(21)的清洗。
6.根據權利要求1所述一種可垂直壓榨的污泥垂壓高干脫水機,其特征在于:所述油壓機(1)的左右兩側分別設有第一料斗(7)、第二料斗(9)第一輸送機(8)和第二輸送機(10),所述第一料斗(7)和第二料斗(9)將脫水后的污泥經進入第一輸送機(8)和第二輸送機(10),所述第一輸送機(8)末端設有第一出口(28),所述第一輸送機(10)末端設有第二出口(29)。
發明內容
本發明的目的在于提供一種可垂直壓榨的污泥垂壓高干脫水機,以解決上述背景技術中提出的其中移動式的濾布卷裝置易造成相鄰疊層濾布的干涉疊加,影響對污泥的均勻放料,設備穩定性普遍不高的問題。
為實現上述目的,本發明提供如下技術方案:一種可垂直壓榨的污泥垂壓高干脫水機,包括油壓機、機體平臺,所述油壓機在設備中間,且油壓機上設置壓盤,所述油壓機下方設有機體平臺,所述機體平臺上一側設有第一料框以及第二料框,所述第一料框一側連接有第一油缸,所述第二料框一側連接有第二油缸,所述第一料框上設置有第一鋪料裝置,所述第二料框上設置有第二鋪料裝置,所述第一鋪料裝置上端連接有第三油缸,所述第三油缸可帶動第一鋪料裝置上下升降移動,所述第二鋪料裝置上端連接有第四油缸,所述第四油缸可帶動第二鋪料裝置上下升降移動,所述第一鋪料裝置上設有第一進料管,所述第二鋪料裝置上設有第二進料管,所述第一鋪料裝置的一側設置有第一剝料裝置,所述第二鋪料裝置的一側設置有第二剝料裝置,所述第一剝料裝置上設有第一濾布卷和第一高壓清洗裝置,所述第二剝料裝置上設有第二濾布卷和第二高壓清洗裝置,所述第一料框的一側設置有第一料斗和第一輸送機,所述第二料框的一側設置有第二料斗和第二輸送機。
優選的,所述第一輸送機、第二輸送機一端設置有出料口,所述油壓機底部設置有壓盤,所述機體平臺頂部設置有左側臺面、右側臺面以及中間臺面。
優選的,所述第一料框、第二料框、第一鋪料裝置、第二鋪料裝置、第一剝料裝置、第二剝料裝置、第一濾布卷、第二濾布卷、第一高壓清洗裝置以及第二高壓清洗裝置均以油壓機和機體平臺的中心位置對稱分布于油壓機的兩側。
優選的,所述第一料框上連接的第一油缸可拖動第一料框在機體平臺上移動,第一料框可移動到油壓機的中心位置,所述第二料框上連接的第二油缸可拖動第二料框在機體平臺上移動,第二料框可移動到油壓機的中心位置。
優選的,所述第一剝料裝置和第二剝料裝置上分別設有第一高壓清洗裝置和第二高壓清洗裝置,所述第一高壓清洗裝置和第二高壓清洗裝置可分別實現對第一濾布卷以及第二濾布卷的清洗。
優選的,所述油壓機的左右兩側分別設有第一料斗、第二料斗第一輸送機和第二輸送機,所述第一料斗和第二料斗將脫水后的污泥經進入第一輸送機和第二輸送機,所述第一輸送機末端設有第一出口,所述第一輸送機末端設有第二出口。
與現有技術相比,本發明的有益效果是:1、本發明中,通過設置的油壓機主體與底部的壓盤對第一料框、第二料框內部的污泥與濾布卷的夾心結構進行垂直壓覆驅動,實現將含水82%左右的污泥進行機械垂直壓榨,將污泥含水率降低至60%以下;2、本發明中,污泥通過均勻攤鋪在濾布卷之間,實現在一臺油壓機、一個壓盤下完成連續污泥壓濾脫水,處理效率高,在油壓機主體帶動底部壓盤對第一料框、第二料框內部的疊層鋪泥后的污泥與濾布卷的夾心結構進行連續的污泥壓濾脫水,處理效率高;3、本發明中,通過第一料框、第二料框、一臺壓濾機、兩套對稱的鋪料和剝料系統的設備結構,使設備占地面積小、整機高度低、結構精簡;4、本發明中,設備運行全過程中濾布卷固定不動,提高了設備穩定性,降低故障率。
(發明人:田志國;李剛;朱文秀)






