公布日:2024.06.21
申請日:2024.05.22
分類號:B01D21/24(2006.01)I;B01D36/04(2006.01)I;C02F1/52(2023.01)I
摘要
本發明涉及污水處理技術領域,且公開了一種物料自動升降的地埋式污水處理設備,包括沉淀箱、循環過濾機構、進水機構、出水機構和輸送機構;所述沉淀箱開設有用于對污水承載的沉淀腔;所述循環過濾機構固定安裝在沉淀腔內且與沉淀腔的內底壁間隔設置,所述循環過濾機構呈底部開口的箱狀結構,用于對沉淀腔內的污水進行二次過濾后沉淀物排入沉淀腔;所述出水機構的輸入端與循環過濾機構連接且沒入污水中,用于將循環過濾機構流出的過濾水輸送至消毒單元。該物料自動升降的地埋式污水處理設備,減少清理沉淀物的麻煩,使污水處理裝置可以持續的工作,無需停機清理,提高使用時的效率。

權利要求書
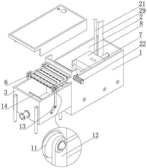
1.一種物料自動升降的地埋式污水處理設備,其特征在于:包括沉淀箱(1)、循環過濾機構、進水機構、出水機構和輸送機構;所述沉淀箱(1)開設有用于對污水承載的沉淀腔(2);所述循環過濾機構固定安裝在沉淀腔(2)內且與沉淀腔(2)的內底壁間隔設置,所述循環過濾機構呈底部開口的箱狀結構,用于對沉淀腔(2)內的污水進行二次過濾后沉淀物排入沉淀腔(2);所述出水機構的輸入端與循環過濾機構連接且沒入污水中,用于將循環過濾機構流出的過濾水輸送至消毒單元;所述進水機構的輸出端位于沉淀腔(2)內,且所述進水機構的輸出端與沉淀腔(2)的內底壁間隔設置,用于將污水源的污水輸送至沉淀腔(2)內;所述輸送機構包括收集箱(3)、第一傳送輥(4)、第二傳送輥(5)、變向件、傳送帶(6)和驅動件,所述收集箱(3)固定連接在沉淀箱(1)的一端,所述第一傳送輥(4)轉動連接在沉淀腔(2)遠離收集箱(3)的一端,所述第二傳送輥(5)與收集箱(3)轉動連接且位于第一傳送輥(4)的上方,所述傳送帶(6)的一端套設在第一傳送輥(4)的外表面,所述傳送帶(6)的另一端套設在第二傳送輥(5)的外表面,所述變向件設置在沉淀腔(2)的內側壁且至少部分與傳送帶(6)的表面接觸,所述變向件用于對傳送帶(6)的角度進行調節,所述驅動件固定安裝在沉淀箱(1)的外表面,所述傳送帶(6)套設在驅動件的輸出端,所述驅動件用于驅動傳送帶(6)運轉,所述傳送帶(6)的表面設置有過濾盒,所述過濾盒用于對污泥進行收集;所述循環過濾機構包括進水管(7)、循環箱(8)、沉淀盒(9)和過濾件,所述進水管(7)的進水端沒入污水中,所述進水管(7)的另一端與循環箱(8)固定連接,所述循環箱(8)開設有緩沖腔(10),所述緩沖腔(10)與進水管(7)相通,所述沉淀盒(9)的一端固定安裝在循環箱(8)底部且與緩沖腔(10)相通,所述沉淀盒(9)的另一端通過開設的排泥口與沉淀腔(2)相通,所述過濾件固定安裝在循環箱(8)內且位于緩沖腔(10)上方;所述沉淀盒(9)的底部固定連接有擋板(15),所述擋板(15)位于沉淀盒(9)上開設的排泥口的一側,所述擋板(15)沿第一方向呈傾斜設置,所述擋板(15)沿第二方向的投影覆蓋沉淀盒(9)上開設的排泥口;還包括防堵機構,所述防堵機構包括回轉輥(16)和多個葉片(17),多個所述葉片(17)均勻分布在回轉輥(16)的表面且沿逆時針方向傾斜,所述回轉輥(16)轉動連接在沉淀腔(2)內,且位于沉淀盒(9)開設的排泥口遠離擋板(15)的一側;所述驅動件包括驅動電機(22)和主動輥(23),所述驅動電機(22)固定連接在沉淀箱(1)的側面且位于第二傳送輥(5)的一側,所述驅動電機(22)的輸出端貫穿沉淀箱(1)與主動輥(23)固定連接,所述主動輥(23)的外表面與傳送帶(6)相互嚙合;所述變向件包括第一變向輪(24)、第二變向輪(25)和第三變向輪(26),所述第一變向輪(24)的一端轉動連接在沉淀腔(2)的內側壁且位于傳送帶(6)上方,所述第一變向輪(24)外表面與傳送帶(6)接觸連接,所述第二變向輪(25)的一端轉動連接在沉淀腔(2)的內側壁且位于第一變向輪(24)的下方,所述傳送帶(6)套設在第二變向輪(25)的外表面,所述第三變向輪(26)的一端轉動連接在沉淀腔(2)的內側壁且位于傳送帶(6)的下方,所述第三變向輪(26)的外表面與傳送帶(6)的表面接觸連接。
2.根據權利要求1所述的一種物料自動升降的地埋式污水處理設備,其特征在于:還包括推平機構,所述推平機構包括回轉盤(11)、傳動桿(12)、擺動桿(13)和推平板(14),所述回轉盤(11)的一端固定連接在第二傳送輥(5)穿出收集箱(3)的端面,所述傳動桿(12)的一端與回轉盤(11)的另一端轉動連接且呈偏心設置,所述傳動桿(12)的另一端與擺動桿(13)轉動連接,所述推平板(14)轉動連接在收集箱(3)內,且位于第二傳送輥(5)的下方,所述擺動桿(13)的端部與推平板(14)穿出收集箱(3)的端面固定連接。
3.根據權利要求1所述的一種物料自動升降的地埋式污水處理設備,其特征在于:還包括傳動機構,與沉淀腔(2)的內側壁轉動連接且套設在傳送帶(6)內的動力齒輪(18),所述動力齒輪(18)的一端嚙合連接有傳動齒輪(19),所述傳動齒輪(19)固定連接在回轉輥(16)的表面。
4.根據權利要求1所述的一種物料自動升降的地埋式污水處理設備,其特征在于:還包括曝氣機構,所述曝氣機構包括有分流管(20)和氣源管(21),所述分流管(20)固定安裝在沉淀腔(2)的內底壁,所述分流管(20)的輸入端與氣源管(21)的輸出端連接,所述沉淀箱(1)的上表面通過開設的孔與氣源管(21)連接。
5.根據權利要求1所述的一種物料自動升降的地埋式污水處理設備,其特征在于:所述過濾盒包括盒體(27)和過濾網(28),所述盒體(27)呈一端開口的殼狀結構,所述過濾網(28)設置在盒體(27)遠離開口的一端,所述盒體(27)設置在傳送帶(6)的表面。
發明內容
本發明的目的是提供一種物料自動升降的地埋式污水處理設備,減少清理沉淀物的麻煩,使污水處理裝置可以持續的工作,無需停機清理,提高使用時的效率。
為實現以上目的,本發明通過以下技術方案予以實現:
設計一種物料自動升降的地埋式污水處理設備,包括沉淀箱、循環過濾機構、進水機構、出水機構和輸送機構;
所述沉淀箱開設有用于對污水承載的沉淀腔;
所述循環過濾機構固定安裝在沉淀腔內且與沉淀腔的內底壁間隔設置,所述循環過濾機構呈底部開口的箱狀結構,用于對沉淀腔內的污水進行二次過濾后沉淀物排入沉淀腔;
所述出水機構的輸入端與循環過濾機構連接且沒入污水中,用于將循環過濾機構流出的過濾水輸送至消毒單元;
所述進水機構的輸出端位于沉淀腔內,且所述進水機構的輸出端與沉淀腔的內底壁間隔設置,用于將污水源的污水輸送至沉淀腔內;
所述輸送機構包括收集箱、第一傳送輥、第二傳送輥、變向件、傳送帶和驅動件,所述收集箱固定連接在沉淀箱的一端,所述第一傳送輥轉動連接在沉淀腔遠離收集箱的一端,所述第二傳送輥與收集箱轉動連接且位于第一傳送輥的上方,所述傳送帶的一端套設在第一傳送輥的外表面,所述傳送帶的另一端套設在第二傳送輥的外表面,所述變向件設置在沉淀腔的內側壁且至少部分與傳送帶的表面接觸,所述變向件用于對傳送帶的角度進行調節,所述驅動件固定安裝在沉淀箱的外表面,所述傳送帶套設在驅動件的輸出端,所述驅動件用于驅動傳送帶運轉,所述傳送帶的表面設置有過濾盒,所述過濾盒用于對污泥進行收集。
可選的,所述循環過濾機構包括進水管、循環箱、沉淀盒和過濾件,所述進水管的進水端沒入污水中,所述進水管的另一端與循環箱固定連接,所述循環箱開設有緩沖腔,所述緩沖腔與進水管相通,所述沉淀盒的一端固定安裝在循環箱底部且與緩沖腔相通,所述沉淀盒的另一端通過開設的排泥口與沉淀腔相通,所述過濾件固定安裝在循環箱內且位于緩沖腔上方。
可選的,還包括推平機構,所述推平機構包括回轉盤、傳動桿、擺動桿和推平板,所述回轉盤的一端固定連接在第二傳送輥穿出收集箱的端面,所述傳動桿的一端與回轉盤的另一端轉動連接且呈偏心設置,所述傳動桿的另一端與擺動桿轉動連接,所述推平板轉動連接在收集箱內,且位于第二傳送輥的下方,所述擺動桿的端部與推平板穿出收集箱的端面固定連接。
可選的,所述沉淀盒的底部固定連接有擋板,所述擋板位于沉淀盒上開設的排泥口的一側,所述擋板沿第一方向呈傾斜設置,所述擋板沿第二方向的投影覆蓋沉淀盒上開設的排泥口。
可選的,還包括防堵機構,所述防堵機構包括回轉輥和多個葉片,多個所述葉片均勻分布在回轉輥的表面且沿逆時針方向傾斜,所述回轉輥轉動連接在沉淀腔內,且位于沉淀盒開設的排泥口遠離擋板的一側。
可選的,還包括傳動機構,與沉淀腔的內側壁轉動連接且套設在傳送帶內的動力齒輪,所述動力齒輪的一端嚙合連接有傳動齒輪,所述傳動齒輪固定連接在回轉輥的表面。
可選的,還包括曝氣機構,所述曝氣機構包括有分流管和氣源管,所述分流管固定安裝在沉淀腔的內底壁,所述分流管的輸入端與氣源管的輸出端連接,所述沉淀箱的上表面通過開設的孔與氣源管連接。
可選的,所述驅動件包括驅動電機和主動輥,所述驅動電機固定連接在沉淀箱的側面且位于第二傳送輥的一側,所述驅動電機的輸出端貫穿沉淀箱與主動輥固定連接,所述主動輥的外表面與傳送帶相互嚙合。
可選的,所述變向件包括第一變向輪、第二變向輪和第三變向輪,所述第一變向輪的一端轉動連接在沉淀腔的內側壁且位于傳送帶上方,所述第一變向輪外表面與傳送帶接觸連接,所述第二變向輪的一端轉動連接在沉淀腔的內側壁且位于第一變向輪的下方,所述傳送帶套設在第二變向輪的外表面,所述第三變向輪的一端轉動連接在沉淀腔的內側壁且位于傳送帶的下方,所述第三變向輪的外表面與傳送帶的表面接觸連接。
可選的,所述過濾盒包括盒體和過濾網,所述盒體呈一端開口的殼狀結構,所述過濾網設置在盒體遠離開口的一端,所述盒體設置在傳送帶的表面。
本發明提供了一種物料自動升降的地埋式污水處理設備,具備以下有益效果:
該物料自動升降的地埋式污水處理設備通過沉淀腔與循環過濾機構的作用,可以對污水起到循環沉淀的作用,配合驅動件驅動傳送帶運轉,可以對沉淀腔內的沉淀物持續進行打撈輸送,輸送至收集箱內,實現對沉淀腔內的沉淀物的清理,可以配合沉淀腔和循環過濾機構實現自動循環過濾,無需停止輸入污水進沉淀腔便可對沉淀物進行清理,減少對沉淀物打撈的麻煩,提高使用時的效率,并且能夠對沉淀物的集中在收集箱內,方便進一步進行污泥處理,減少廢物的處理成本。
(發明人:汪艷;黃兢祥;徐輝;李彩花;謝永芳;田澤欽)






