公布日:2024.06.14
申請日:2024.04.28
分類號:B01D36/04(2006.01)I;B01D29/64(2006.01)I;B01D21/24(2006.01)I
摘要
本發明屬于含泥污水深脫技術領域,一種含泥污水深脫處理裝置,隨著污水的過濾過濾裝置上的過濾物不斷的增多,當過濾物增多到一定量的時候就會影響過濾裝置的過濾效果,當過濾腔內部的污水增加到一定量的時候驅動裝置就會驅動過濾裝置轉動使得過濾裝置恢復原有的過濾效果,同時刮除裝置清除過濾裝置上的過濾,過濾雜質后的污水和污泥進入到第一儲存腔和沉淀腔內部,然后污水中的污泥在沉淀腔內部進行沉淀,當沉淀污泥達到一定量后分割裝置轉動,第一儲存腔和沉淀腔間斷開連通,然后第一儲存腔和排出孔連通無沉淀污泥的污水通過排出孔排出,同時排泥孔和沉淀腔連通,沉淀腔內部的污泥通過排泥孔排出,然后分割裝置復位進行下次的污水處理。

權利要求書
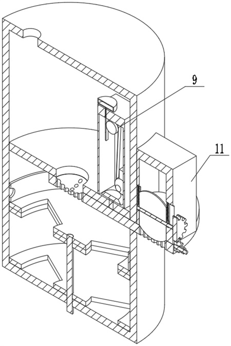
1.一種含泥污水深脫處理裝置,包括處理筒(1)、分隔板(2)、過濾腔(3)和過濾裝置(10),所述處理筒(1)內部設有分隔板(2),分隔板(2)上方為過濾腔(3),過濾裝置(10)設置在分隔板(2)下方過濾過濾腔(3)內部的污水,處理筒(1)上設有和過濾腔(3)連通的進入孔(7),其特征在于,所述處理筒(1)內部設有分割裝置(4),分割裝置(4)和分隔板(2)間設有第一儲存腔(5),分割裝置(4)和處理筒(1)間設有沉淀腔(6),沉淀腔(6)設置在第一儲存腔(5)下方,第一儲存腔(5)上設有和第一儲存腔(5)連通的排出孔(12),處理筒(1)上設有和沉淀腔(6)連通的排泥孔(8),過濾腔(3)內部設有驅動過濾裝置(10)轉動的驅動裝置(9),處理筒(1)外設有去除過濾裝置(10)的刮除裝置(11)。
2.根據權利要求1所述的一種含泥污水深脫處理裝置,其特征在于,所述分隔板(2)包括板體(2-1)和通孔(2-2),通孔(2-2)和過濾裝置(10)連通。
3.根據權利要求2所述的一種含泥污水深脫處理裝置,其特征在于,所述分割裝置(4)包括固定盤(4-1)、第一排放孔(4-2)、轉動軸(4-3)、第一轉動盤(4-4)、第二排放孔(4-5)、密封環(4-6)、第一排水孔(4-7)、第二轉動盤(4-8)和第三排放孔(4-9),所述固定盤(4-1)設置在處理筒(1)內部內部,第一排放孔(4-2)設置在固定盤(4-1)上,第一轉動盤(4-4)設置在固定盤(4-1)上方,轉動軸(4-3)在固定盤(4-1)上轉動,第一轉動盤(4-4)和第二轉動盤(4-8)設置在轉動軸(4-3)上,第一儲存腔(5)設置在板體(2-1)和第一轉動盤(4-4)間,沉淀腔(6)設置在第一轉動盤(4-4)和第二轉動盤(4-8)間,第三排放孔(4-9)設置在第二轉動盤(4-8)上,密封環(4-6)設置在第一轉動盤(4-4)上,第一排水孔(4-7)設置在密封環(4-6)上,第一排放孔(4-2)和第二排放孔(4-5)連通時第三排放孔(4-9)和排泥孔(8)錯位并成90度,排出孔(12)和第一排水孔(4-7)錯位并成90度。
4.根據權利要求3所述的一種含泥污水深脫處理裝置,其特征在于,所述轉動軸(4-3)設有配套電機。
5.根據權利要求1所述的一種含泥污水深脫處理裝置,其特征在于,所述驅動裝置(9)包括密封箱(9-1)、移動浮子(9-2)、齒條(9-3)、棘輪(9-4)、帶輪組(9-5)和第一錐齒輪(9-6),所述密封箱(9-1)設置在板體(2-1)上,齒條(9-3)在密封箱(9-1)上滑動,移動浮子(9-2)設置在齒條(9-3)上,齒條(9-3)向上移動時驅動棘輪(9-4)轉動,齒條(9-3)向下移動時無法驅動棘輪(9-4)轉動,棘輪(9-4)通過帶輪組(9-5)和第一錐齒輪(9-6)連接,第一錐齒輪(9-6)驅動濾裝置(10)轉動。
6.根據權利要求5所述的一種含泥污水深脫處理裝置,其特征在于,所述濾裝置(10)包括轉動圓盤(10-1)、安裝孔(10-2)、過濾盤(10-3)和第二錐齒輪(10-4),所述轉動圓盤(10-1)在處理筒(1)上轉動,轉動圓盤(10-1)上設有用于安裝過濾盤(10-3)的安裝孔(10-2),轉動圓盤(10-1)上設有和第一錐齒輪(9-6)嚙合的第二錐齒輪(10-4),刮除裝置(11)刮除過濾盤(10-3)上的過濾物。
7.根據權利要求6所述的一種含泥污水深脫處理裝置,其特征在于,所述安裝孔(10-2)和過濾盤(10-3)的數量設有四個。
8.根據權利要求6所述的一種含泥污水深脫處理裝置,其特征在于,所述過濾盤(10-3)上端為圓碗狀。
9.根據權利要求8所述的一種含泥污水深脫處理裝置,其特征在于,所述刮除裝置(11)包括安裝固定箱(11-1)、移動塊(11-2)、連接軸(11-3)、彈簧(11-4)、清除輪(11-5)、第一齒輪(11-6)、安裝架(11-7)、轉動軸(11-8)、第二齒輪(11-9)和排污口(11-10),所述安裝固定箱(11-1)設置在處理筒(1)上,移動塊(11-2)在安裝固定箱(11-1)內部滑動,連接軸(11-3)設置在兩個移動塊(11-2)上,移動塊(11-2)和安裝固定箱(11-1)間設有彈簧(11-4),清除輪(11-5)設置在連接軸(11-3)上,清除輪(11-5)設置在安裝固定箱(11-1)內部,清除輪(11-5)轉動去除過濾盤(10-3)上的過濾物,第一齒輪(11-6)設置在連接軸(11-3)上,安裝架(11-7)設置在安裝固定箱(11-1)上,轉動軸(11-8)設置在安裝架(11-7)上,第二齒輪(11-9)設置在轉動軸(11-8)上,排污口(11-10)設置在安裝固定箱(11-1)和安裝固定箱(11-1)內部連通。
10.根據權利要求9所述的一種含泥污水深脫處理裝置,其特征在于,所述連接軸(11-3)設有配套電機。
發明內容
本發明目的在于提供一種含泥污水深脫處理裝置,以解決過濾污水中的雜質后在對污水進行沉淀后對污泥和污水進行分離排放。
為實現上述目的,本發明的一種含泥污水深脫處理裝置的具體技術方案如下:
一種含泥污水深脫處理裝置,包括處理筒、分隔板、過濾腔和過濾裝置,所述處理筒內部設有分隔板,分隔板上方為過濾腔,過濾裝置設置在分隔板下方過濾過濾腔內部的污水,處理筒上設有和過濾腔連通的進入孔,其特征在于,所述處理筒內部設有分割裝置,分割裝置和分隔板間設有第一儲存腔,分割裝置和處理筒間設有沉淀腔,沉淀腔設置在第一儲存腔下方,第一儲存腔上設有和第一儲存腔連通的排出孔,處理筒上設有和沉淀腔連通的排泥孔,過濾腔內部設有驅動過濾裝置轉動的驅動裝置,處理筒外設有去除過濾裝置的刮除裝置。
進一步,所述分隔板包括板體和通孔,通孔和過濾裝置連通。
進一步,所述分割裝置包括固定盤、第一排放孔、轉動軸、第一轉動盤、第二排放孔、密封環、第一排水孔、第二轉動盤和第三排放孔,所述固定盤設置在處理筒內部內部,第一排放孔設置在固定盤上,第一轉動盤設置在固定盤上方,轉動軸在固定盤上轉動,第一轉動盤和第二轉動盤設置在轉動軸上,第一儲存腔設置在板體和第一轉動盤間,沉淀腔設置在第一轉動盤和第二轉動盤間,第三排放孔設置在第二轉動盤上,密封環設置在第一轉動盤上,第一排水孔設置在密封環上,第一排放孔和第二排放孔連通時第三排放孔和排泥孔錯位并成90度,排出孔和第一排水孔錯位并成90度。
進一步,所述轉動軸設有配套電機。
進一步,所述驅動裝置包括密封箱、移動浮子、齒條、棘輪、帶輪組和第一錐齒輪,所述密封箱設置在板體上,齒條在密封箱上滑動,移動浮子設置在齒條上,齒條向上移動時驅動棘輪轉動,齒條向下移動時無法驅動棘輪轉動,棘輪通過帶輪組和第一錐齒輪連接,第一錐齒輪驅動濾裝置轉動。
進一步,所述濾裝置包括轉動圓盤、安裝孔、過濾盤和第二錐齒輪,所述轉動圓盤在處理筒上轉動,轉動圓盤上設有用于安裝過濾盤的安裝孔,轉動圓盤上設有和第一錐齒輪嚙合的第二錐齒輪,刮除裝置刮除過濾盤上的過濾物。
進一步,所述安裝孔和過濾盤的數量設有四個。
進一步,所述過濾盤上端為圓碗狀。
進一步,所述刮除裝置包括安裝固定箱、移動塊、連接軸、彈簧、清除輪、第一齒輪、安裝架、轉動軸、第二齒輪和排污口,所述安裝固定箱設置在處理筒上,移動塊在安裝固定箱內部滑動,連接軸設置在兩個移動塊上,移動塊和安裝固定箱間設有彈簧,清除輪設置在連接軸上,清除輪設置在安裝固定箱內部,清除輪轉動去除過濾盤上的過濾物,第一齒輪設置在連接軸上,安裝架設置在安裝固定箱上,轉動軸設置在安裝架上,第二齒輪設置在轉動軸上,排污口設置在安裝固定箱和安裝固定箱內部連通。
進一步,所述連接軸設有配套電機。
本發明的優點在于:
本發明通過進入孔向處理筒內部的過濾腔注入污水,然后通過分隔板經過過濾裝置進行過濾,隨著污水的過濾過濾裝置上的過濾物不斷的增多,當過濾物增多到一定量的時候就會影響過濾裝置的過濾效果,當過濾腔內部的污水增加到一定量的時候驅動裝置就會驅動過濾裝置轉動使得過濾裝置恢復原有的過濾效果,同時刮除裝置清除過濾裝置上的過濾,過濾雜質后的污水和污泥進入到第一儲存腔和沉淀腔內部,然后污水中的污泥在沉淀腔內部進行沉淀,當沉淀污泥達到一定量后分割裝置轉動,第一儲存腔和沉淀腔間斷開連通,然后第一儲存腔和排出孔連通無沉淀污泥的污水通過排出孔排出,同時排泥孔和沉淀腔連通,沉淀腔內部的污泥通過排泥孔排出,然后分割裝置復位進行下次的污水處理。
(發明人:崔勇;陳留繼;劉勇;曹海燕;陳娟;周順龍;欒素鳳)






