公布日:2023.11.28
申請日:2023.09.06
分類號:C02F1/04(2023.01)I;B01D46/10(2006.01)I;C02F103/18(2006.01)N
摘要
本發明提供了一種用于脫硫廢水的蒸發塔,屬于蒸發塔技術領域,包括塔體,塔體的內部設有霧化噴頭,還包括V形換熱板、兩個收集盒以及收集箱;V形換熱板位于霧化噴頭下方;兩個收集盒分別固定在V形換熱板兩側的底部,用于收集從V形換熱板側壁滾落的結晶鹽;收集箱位于塔體的外部,收集箱的內部設有過濾部件;過濾部件將收集箱分隔為進氣腔和出氣腔;進氣腔通過管道與收集盒靠近底部的位置連通,并形成排料口;出氣腔通過管道與廢氣處理裝置連通。其中,煙氣管道上具有分支管道,分支管道的一端與收集盒背離排料口的一端連通,且分支管道上設有閥體。通過本申請上述設置,能夠實現不停機收集結晶鹽的過程,進而便于提高結晶鹽收集效率。

權利要求書
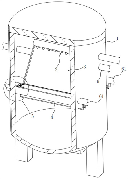
1.一種用于脫硫廢水的蒸發塔,包括塔體,所述塔體的內部靠近其頂部的位置間隔設有若干霧化噴頭,所述霧化噴頭通過管道與廢水連通,適于向所述塔體內噴淋廢水;其特征在于,蒸發塔還包括:V形換熱板,位于所述霧化噴頭下方,且固定在所述塔體內;所述V形換熱板的凸面朝上;其中,所述V形換熱板的內部具有換熱通道,所述換熱通道的一端連通有煙氣管道,另一端與廢氣處理裝置連通;兩個收集盒,分別固定在所述V形換熱板兩側的底部,用于收集從所述V形換熱板側壁滾落的結晶鹽;以及收集箱,位于所述塔體的外部,所述收集箱的內部設有過濾部件;所述過濾部件將所述收集箱分隔為進氣腔和出氣腔;所述進氣腔通過管道與所述收集盒靠近底部的位置連通,并形成排料口;所述出氣腔通過管道與廢氣處理裝置連通;其中,所述煙氣管道上具有分支管道,所述分支管道的一端與所述收集盒背離排料口的一端連通,且所述分支管道上設有閥體;所述收集盒于所述排料口的位置設有啟閉部件,所述啟閉部件具有適于沿高度方向滑動的自由度;其中,所述收集盒上于所述啟閉部件底部的位置設有噴嘴,所述噴嘴通過管道與所述分支管道連通;在所述閥體導通所述分支管道和所述煙氣管道時,所述噴嘴適于向所述啟閉部件的底部噴射煙氣,以使所述啟閉部件打開所述排料口;所述收集盒內的結晶鹽在所述分支管道氣流的作用下進入所述收集箱內;所述啟閉部件包括:排料筒,固定在所述排料口處;封板,一側與所述排料筒的端部接觸,以封閉所述排料筒;滑動限位結構,沿高度方向滑動設置在所述收集盒內,且所述滑動限位結構一端與所述封板連接;以及限位部,固定在所述收集盒的頂部,用于與封板頂部接觸,以限制所述封板最高位置;所述滑動限位結構包括:導向部,沿高度方向設置,且所述導向部的底端固定在所述收集盒上;以及橫板,具有與所述導向部滑動配合的通孔;所述橫板的一端與所述封板連接;所述封板上設有與所述橫板滑動配合的通孔,所述橫板的一端穿過所述封板的通孔,且所述橫板的穿出端固定設有阻擋部;所述收集盒的側壁上連接有第一彈性件,所述第一彈性件的另一端與所述封板抵接,以使所述封板抵接在所述阻擋部上;其中,在所述封板的底部向上滑至所述排料筒的上方時,所述封板在所述分支管道煙氣的沖力下沿所述橫板滑動,并擠壓所述第一彈性件;所述封板與所述噴嘴錯位放置,所述封板與所述橫板在重力作用下向下滑動至所述排料筒頂部,以使所述封板處于打開所述排料口的狀態;所述分支管道內與所述噴嘴的連通處固定設有引風罩,所述引風罩適于使煙氣進入與所述噴嘴連通的管道中,以使煙氣從所述噴嘴中噴出。
2.如權利要求1所述的一種用于脫硫廢水的蒸發塔,其特征在于,所述進氣腔靠近所述過濾部件的位置設有落料口,所述收集箱的底部固定設有與所述落料口連通的存儲室;所述存儲室的一側設有開口,所述存儲室內滑動設有抽拉盒,所述抽拉盒頂部的開口朝向所述落料口;所述存儲室上設有抽拉部件。
3.如權利要求2所述的一種用于脫硫廢水的蒸發塔,其特征在于,所述抽拉部件包括控制模塊、電動推桿和接近式傳感器,所述接近式傳感器連接在所述收集箱于所述存儲室內的底部,所述接近式傳感器的感應端與所述抽拉盒的頂部平齊;所述接近式傳感器與所述電動推桿均與所述控制模塊電連接;所述電動推桿的推頂端適于與所述抽拉盒的外側連接。
4.如權利要求3所述的一種用于脫硫廢水的蒸發塔,其特征在于,所述收集箱于所述存儲室內的底部連接有升降動力件,所述升降動力件與所述接近式傳感器連接,以調節所述接近式傳感器的高度位置。
5.如權利要求3所述的一種用于脫硫廢水的蒸發塔,其特征在于,所述抽拉盒的外側端固定設有推板,所述電動推桿的推頂端與所述推板抵接。
發明內容
本發明實施例提供一種用于脫硫廢水的蒸發塔,旨在解決霧化液滴在現有技術蒸發塔內的蒸發結晶效率較低的技術問題。
為實現上述目的,本發明采用的技術方案是:
提供一種用于脫硫廢水的蒸發塔,包括塔體,所述塔體的內部靠近其頂部的位置間隔設有若干霧化噴頭,所述霧化噴頭通過管道與廢水連通,適于向所述塔體內噴淋廢水;蒸發塔還包括:
V形換熱板,位于所述霧化噴頭下方,且固定在所述塔體內;所述V形換熱板的凸面朝上;其中,所述V形換熱板的內部具有換熱通道,所述換熱通道的一端連通有煙氣管道,另一端與廢氣處理裝置連通;
兩個收集盒,分別固定在所述V形換熱板兩側的底部,用于收集從所述V形換熱板側壁滾落的結晶鹽;以及
收集箱,位于所述塔體的外部,所述收集箱的內部設有過濾部件;所述過濾部件將所述收集箱分隔為進氣腔和出氣腔;所述進氣腔通過管道與所述收集盒靠近底部的位置連通,并形成排料口;所述出氣腔通過管道與廢氣處理裝置連通;
其中,所述煙氣管道上具有分支管道,所述分支管道的一端與所述收集盒背離排料口的一端連通,且所述分支管道上設有閥體。
在一種可能的實現方式中,所述收集盒于所述排料口的位置設有啟閉部件,所述啟閉部件具有適于沿高度方向滑動的自由度;
其中,所述收集盒上于所述啟閉部件底部的位置設有噴嘴,所述噴嘴通過管道與所述分支管道連通;
在所述閥體導通所述分支管道和所述煙氣管道時,所述噴嘴適于向所述啟閉部件的底部噴射煙氣,以使所述啟閉部件打開所述排料口;所述收集盒內的結晶鹽在所述分支管道氣流的作用下進入所述收集箱內。
在一種可能的實現方式中,所述啟閉部件包括:
排料筒,固定在所述排料口處;
封板,一側與所述排料筒的端部接觸,以封閉所述排料筒;
滑動限位結構,沿高度方向滑動設置在所述收集盒內,且所述滑動限位結構一端與所述封板連接;以及
限位部,固定在所述收集盒的頂部,用于與封板頂部接觸,以限制所述封板最高位置。
在一種可能的實現方式中,所述滑動限位結構包括:
導向部,沿高度方向設置,且所述導向部的底端固定在所述收集盒上;以及
橫板,具有與所述導向部滑動配合的通孔;所述橫板的一端與所述封板連接。
在一種可能的實現方式中,所述封板上設有與所述橫板滑動配合的通孔,所述橫板的一端穿過所述封板的通孔,且所述橫板的穿出端固定設有阻擋部;
所述收集盒的側壁上連接有第一彈性件,所述第一彈性件的另一端與所述封板抵接,以使所述封板抵接在所述阻擋部上;
其中,在所述封板的底部向上滑至所述排料筒的上方時,所述封板在所述分支管道煙氣的沖力下沿所述橫板滑動,并擠壓所述第一彈性件;所述封板與所述噴嘴錯位放置,所述封板與所述橫板在重力作用下向下滑動至所述排料筒頂部,以使所述封板處于打開所述排料口的狀態。
在一種可能的實現方式中,所述分支管道內與所述噴嘴的連通處固定設有引風罩,所述引風罩適于使煙氣進入與所述噴嘴連通的管道中,以使煙氣從所述噴嘴中噴出。
在一種可能的實現方式中,所述進氣腔靠近所述過濾部件的位置設有落料口,所述收集箱的底部固定設有與所述落料口連通的存儲室;
所述存儲室的一側設有開口,所述存儲室內滑動設有抽拉盒,所述抽拉盒頂部的開口朝向所述落料口;所述存儲室上設有抽拉部件。
在一種可能的實現方式中,所述抽拉部件包括控制模塊、電動推桿和接近式傳感器,所述接近式傳感器連接在所述收集箱于所述存儲室內的底部,所述接近式傳感器的感應端與所述抽拉盒的頂部平齊;所述接近式傳感器與所述電動推桿均與所述控制模塊電連接;所述電動推桿的推頂端適于與所述抽拉盒的外側連接。
在一種可能的實現方式中,所述收集箱于所述存儲室內的底部連接有升降動力件,所述升降動力件與所述接近式傳感器連接,以調節所述接近式傳感器的高度位置。
在一種可能的實現方式中,所述抽拉盒的外側端固定設有推板,所述電動推桿的推頂端與所述推板抵接。
本發明提供的一種用于脫硫廢水的蒸發塔,與現有技術相比,在對脫硫廢水進行蒸發結晶時,通過霧化噴頭將脫硫廢水以水霧的形式噴入塔體內的V形換熱板上,V形換熱板內通入換熱煙氣,換熱煙氣的溫度高于脫硫廢水的溫度,需要說明的是,換熱煙氣的溫度能夠達到130度。換熱煙氣通過V形換熱板與水霧狀的脫硫廢水進行換熱,使得水分蒸發,并得到結晶鹽;結晶鹽能夠從V形換熱板的側壁上向收集盒內滑落,并最終掉落至收集盒內。在反應預設時間后,打開分支管道上的閥體,煙氣從分支管道吹向排料口,使結晶鹽和蒸汽均進入到收集箱內;收集箱內的過濾部件對結晶鹽進行過濾,煙氣和蒸汽一同進入到廢氣處理裝置內,便于對煙氣和蒸汽的后續處理。通過本申請上述設置,能夠實現不停機收集結晶鹽的過程,進而便于提高結晶鹽收集效率。
(發明人:李樹元;甘德首;黎衛軍;張清磊)






