公布日:2023.12.12
申請日:2023.09.28
分類號:E03F5/22(2006.01)I;E03F7/00(2006.01)I;E03F3/04(2006.01)I;E03F5/26(2006.01)I
摘要
本發明公開了一種一體式提升泵站,涉及提升泵站技術領域,包括罐體、控制箱、通風管、進水管、出水管和水泵,所述罐體內底部水平安裝有隔板,所述隔板上安裝有若干組水泵,所述隔板與罐體的底部之間安裝有擾流組件,擾流組件用于對罐體的底部沉底污泥進行擾流清理,所述罐體內安裝有密封箱,驅動桿的底部傾斜安裝有若干組擾流板,所述擾流板位于U形槽內,所述驅動桿與隔板上的換向傳動模塊傳動配合,通過對罐體進行分層,淤泥沉積在罐體的底部,避免淤泥沉積在水泵的表面,在水泵對污水進行排放時,驅動電機帶動擾流板轉動和擾流葉片的轉動,導流板對淤泥進行傾斜導向,可實現加速罐體內底部的淤泥和污水在不淤積管道的同時混合排出罐體外。

權利要求書
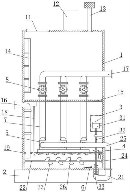
1.一種一體式提升泵站,包括包括罐體(1)、控制箱(12)、通風管(13)、進水管(16)、出水管(17)和水泵(5),其特征在于:所述罐體(1)固定安裝在基座(2)上,基座(2)固定安裝在基坑內,所述罐體(1)內底部水平安裝有隔板(19),罐體(1)的一側安裝有進水管(16),所述進水管(16)的出水端位于隔板(19)與罐體(1)的底部之間,所述隔板(19)上安裝有若干組水泵(5),所述水泵(5)的輸入端通過回流管(25)與罐體(1)的底部連通,所述水泵(5)的輸出端安裝有直流管(7),所述直流管(7)通過手動調節閥(8)與出水管(17)連接,所述出水管(17)位于罐體(1)上側面的頂部,所述隔板(19)與罐體(1)的底部之間安裝有擾流組件,擾流組件用于對罐體(1)的底部沉底污泥進行擾流清理,所述罐體(1)內安裝有密封箱(3),所述密封箱(3)內安裝有驅動電機(31),驅動電機(31)的輸出端安裝有驅動桿(32),所述驅動桿(32)的底部傾斜安裝有若干組擾流板(33),所述基座(2)上設置有U形槽(21),U形槽(21)入口處與罐體(1)的底部連通,U形槽(21)的出口處與回流管(25)連通,所述擾流板(33)位于U形槽(21)內,所述驅動桿(32)與隔板(19)上的換向傳動模塊(4)傳動配合,所述換向傳動模塊(4)用于驅動擾流組件轉動。
2.根據權利要求1所述的一體式提升泵站,其特征在于:所述罐體(1)內水平設置有檢修平臺(15),檢修平臺(15)的底部安裝有浮球液位開關(18),所述控制箱(12)固定安裝在罐體(1)的頂部,控制箱(12)用于控制罐體(1)內電氣設備的運行,所述罐體(1)的頂部安裝有通風管(13),所述罐體(1)的頂部設置有箱門(11),罐體(1)內靠近箱門(11)的一側安裝有爬梯(14)。
3.根據權利要求2所述的一體式提升泵站,其特征在于:所述水泵(5)的輸入端連接有第一連接管(51),水泵(5)的輸出端連接有第二連接管(52),所述第一連接管(51)與回流管(25)連通,第二連接管(52)與直流管(7)連通,所述隔板(19)上設置有若干組通孔,通孔的底部安裝有錐形擾流塊(26),所述錐形擾流塊(26)用于對罐體(1)內底部穿過隔板(19)上通孔的污水進行擾流。
4.根據權利要求3所述的一體式提升泵站,其特征在于:所述驅動桿(32)上安裝有錐形齒盤,所述錐形齒盤與換向傳動模塊(4)傳動配合,所述換向傳動模塊(4)與擾流組件傳動配合,所述罐體(1)的內壁和隔板(19)上安裝有若干組限位套筒,所述驅動桿(32)與限位套筒轉動配合。
5.根據權利要求4所述的一體式提升泵站,其特征在于:所述擾流組件包括轉動桿(22)、擾流葉片(23)和齒輪(24),所述罐體(1)內底部兩側內壁上在同一水平線上安裝有一對限位塊,兩側限位塊之間轉動安裝有轉動桿(22),所述轉動桿(22)靠近擾流板(33)的一側安裝有齒輪(24),所述齒輪(24)與換向傳動模塊(4)傳動配合,所述轉動桿(22)上安裝有若干組擾流葉片(23)。
6.根據權利要求5所述的一體式提升泵站,其特征在于:所述罐體(1)內底部靠近擾流板(33)的一側安裝有導流板(6),所述導流板(6)的截面為直角三角形,直角三角形的一個直角邊固定安裝在罐體(1)內底部,另一個直角邊為靠近擾流板(33)設置。
發明內容
本發明的目的在于提供一種一體式提升泵站,通過對罐體進行分層,淤泥沉積在罐體的底部,避免淤泥沉積在水泵的表面,在水泵對污水進行排放時,驅動電機帶動擾流板轉動和擾流葉片的轉動,可加速淤泥與污水的混合,導流板對淤泥進行傾斜導向,可實現加速罐體內底部的淤泥和污水在不淤積管道的同時混合排出罐體外,從而解決了背景技術中的問題。
為實現上述目的,本發明提供如下技術方案:
一種一體式提升泵站,包括罐體、控制箱、通風管、進水管、出水管和水泵,所述罐體固定安裝在基座上,基座固定安裝在基坑內,所述罐體內底部水平安裝有隔板,罐體的一側安裝有進水管,所述進水管的出水端位于隔板與罐體的底部之間,所述隔板上安裝有若干組水泵,所述水泵的輸入端通過回流管與罐體的底部連通,所述水泵的輸出端安裝有直流管,所述直流管通過手動調節閥與出水管連接,所述出水管位于罐體上側面的頂部,所述隔板與罐體的底部之間安裝有擾流組件,擾流組件用于對罐體的底部沉底污泥進行擾流清理,所述罐體內安裝有密封箱,所述密封箱內安裝有驅動電機,驅動電機的輸出端安裝有驅動桿,所述驅動桿的底部傾斜安裝有若干組擾流板,所述基座上設置有U形槽,U形槽入口處與罐體的底部連通,U形槽的出口處與回流管連通,所述擾流板位于U形槽內,所述驅動桿與隔板上的換向傳動模塊傳動配合,所述換向傳動模塊用于驅動擾流組件轉動。
進一步地,所述罐體內水平設置有檢修平臺,檢修平臺的底部安裝有浮球液位開關,所述控制箱固定安裝在罐體的頂部,控制箱用于控制罐體內電氣設備的運行,所述罐體的頂部安裝有通風管,所述罐體的頂部設置有箱門,罐體內靠近箱門的一側安裝有爬梯。
進一步地,所述水泵的輸入端連接有第一連接管,水泵的輸出端連接有第二連接管,所述第一連接管與回流管連通,第二連接管與直流管連通,所述隔板上設置有若干組通孔,通孔的底部安裝有錐形擾流塊,所述錐形擾流塊用于對罐體內底部穿過隔板上通孔的污水進行擾流。
進一步地,所述驅動桿上安裝有錐形齒盤,所述錐形齒盤與換向傳動模塊傳動配合,所述換向傳動模塊與擾流組件傳動配合,所述罐體的內壁和隔板上安裝有若干組限位套筒,所述驅動桿與限位套筒轉動配合。
進一步地,所述擾流組件包括轉動桿、擾流葉片和齒輪,所述罐體內底部兩側內壁上在同一水平線上安裝有一對限位塊,兩側限位塊之間轉動安裝有轉動桿,所述轉動桿靠近擾流板的一側安裝有齒輪,所述齒輪與換向傳動模塊傳動配合,所述轉動桿上安裝有若干組擾流葉片。
進一步地,所述罐體內底部靠近擾流板的一側安裝有導流板,所述導流板的截面為直角三角形,直角三角形的一個直角邊固定安裝在罐體內底部,另一個直角邊為靠近擾流板設置。
與現有技術相比,本發明的有益效果如下:
本發明提供的一種一體式提升泵站,通過對罐體進行分層,淤泥沉積在罐體的底部,避免淤泥沉積在水泵的表面,在水泵對污水進行排放時,驅動電機帶動擾流板轉動和擾流葉片的轉動,可加速淤泥與污水的混合,導流板對淤泥進行傾斜導向,可實現加速罐體內底部的淤泥和污水在不淤積管道的同時混合排出罐體外。
(發明人:曹文煒;徐劍;趙浩豐;姚利萍;朱浩根;徐家煒)






