公布日:2023.12.12
申請日:2023.09.26
分類號:C02F11/121(2019.01)I;B08B1/02(2006.01)I;B08B1/00(2006.01)I
摘要
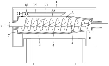
本發明公開了一種脫硫廢水氯離子萃取用的污泥脫水機,涉及廢水處理技術領域,包括外殼以及固定設置在外殼內的內殼,所述內殼內貫穿外殼轉動設置有轉軸,且內殼上設置有清理組件,所述轉軸上設置有螺旋葉片,所述清理組件用于對螺旋葉片表面進行清理;所述清理組件包括滑動設置在內殼上的滑動座,且內殼上開設有與所述滑動座相適配的第一滑槽,所述滑動座內貫穿內殼滑動設置有柱體,所述第一滑槽內開設有與所述柱體相適配的第二滑槽,所述柱體的末端轉動設置有連接塊,所述連接塊上設置有清理板,還包括復位組件,在清理組件運動至設定位置時,通過復位組件復位。本發明通過設置的清理組件,能夠實現螺旋葉片表面的被動式清理。

權利要求書
1.一種脫硫廢水氯離子萃取用的污泥脫水機,包括外殼(1)以及固定設置在外殼(1)內的內殼(2),其特征在于:所述內殼(2)內貫穿外殼(1)轉動設置有轉軸(3),且內殼(2)上設置有清理組件,所述轉軸(3)上設置有螺旋葉片(4),所述清理組件用于對螺旋葉片(4)表面進行清理;所述清理組件包括滑動設置在內殼(2)上的滑動座(11),且內殼(2)上開設有與所述滑動座(11)相適配的第一滑槽(12),所述滑動座(11)內貫穿內殼(2)滑動設置有柱體(15),所述第一滑槽(12)內開設有與所述柱體(15)相適配的第二滑槽(17),所述柱體(15)的末端轉動設置有連接塊(18),所述連接塊(18)上設置有清理板(19),所述清理板(19)貼合于螺旋葉片(4)的表面;所述清理板(19)與柱體(15)通過連接塊(18)轉動連接,以使得清理板(19)能夠在螺旋葉片(4)運動時貼合螺旋葉片(4)表面,且能夠在復位時進行轉動,適應性復位使其貼合在螺旋葉片(4)上;在所述螺旋葉片(4)旋轉時,帶動所述清理板(19)沿第二滑槽(17)滑動,以使得所述清理板(19)對螺旋葉片(4)的表面進行清理;還包括復位組件,在清理組件運動至設定位置時,通過復位組件復位;所述復位組件包括設置在第一滑槽(12)內與滑動座(11)連接的第一彈性件(13)以及套設在柱體(15)上的第二彈性件(16),所述柱體(15)上貫穿滑動座(11)設置有滑動桿(20),所述滑動座(11)上開設有供所述滑動桿(20)滑動的第三滑槽(111);還包括固定設置在內殼(2)上的固定板(14),所述固定板(14)上設置有環形槽(21),所述滑動桿(20)活動設置在環形槽(21)內;所述環形槽(21)包括開設在固定板(14)上的第一水平槽(211)和第二水平槽(213),所述第一水平槽(211)和第二水平槽(213)之間通過斜槽(212)和豎直槽(214)連通;在所述滑動桿(20)由斜槽(212)運動至第二水平槽(213)的位置處時,所述滑動座(11)沿第一滑槽(12)滑動復位;所述第二滑槽(17)內設置有遮擋組件,所述遮擋組件共設置有兩組,且兩組遮擋組件結構相同,分別位于第二滑槽(17)內,與滑動座(11)連接;所述遮擋組件包括設置在第二滑槽(17)內的擋板(22)以及設置在內殼(2)內的收卷輥(24),所述擋板(22)的一端通過固定塊(25)與滑動座(11)連接,另一端纏繞在收卷輥(24)上,所述收卷輥(24)與內殼(2)之間通過卷軸(23)轉動連接。
2.根據權利要求1所述的一種脫硫廢水氯離子萃取用的污泥脫水機,其特征在于,所述滑動桿(20)與滑動座(11)之間轉動連接。
3.根據權利要求1所述的一種脫硫廢水氯離子萃取用的污泥脫水機,其特征在于,所述第一彈性件(13)為拉簧,其彈性作用力用于拉動所述滑動座(11)滑動復位。
4.根據權利要求1所述的一種脫硫廢水氯離子萃取用的污泥脫水機,其特征在于,所述第二彈性件(16)為壓簧,其彈性作用力用于帶動柱體(15)的滑動復位。
5.根據權利要求1所述的一種脫硫廢水氯離子萃取用的污泥脫水機,其特征在于,所述卷軸(23)上設置有發條彈簧,以使得所述滑動座(11)沿第一滑槽(12)滑動時,所述擋板(22)自動收卷。
6.根據權利要求1所述的一種脫硫廢水氯離子萃取用的污泥脫水機,其特征在于,所述內殼(2)上設置有用于對擋板(22)表面進行清理的刮板(26)。
發明內容
本發明的目的是提供一種脫硫廢水氯離子萃取用的污泥脫水機,以解決現有技術中的上述不足之處。
為了實現上述目的,本發明提供如下技術方案:一種脫硫廢水氯離子萃取用的污泥脫水機,包括外殼以及固定設置在外殼內的內殼,所述內殼內貫穿外殼轉動設置有轉軸,且內殼上設置有清理組件,所述轉軸上設置有螺旋葉片,所述清理組件用于對螺旋葉片表面進行清理;所述清理組件包括滑動設置在內殼上的滑動座,且內殼上開設有與所述滑動座相適配的第一滑槽,所述滑動座內貫穿內殼滑動設置有柱體,所述第一滑槽內開設有與所述柱體相適配的第二滑槽,所述柱體的末端轉動設置有連接塊,所述連接塊上設置有清理板,所述清理板貼合于螺旋葉片的表面;在所述螺旋葉片旋轉時,帶動所述清理板沿第二滑槽滑動,以使得所述清理板對螺旋葉片的表面進行清理;還包括復位組件,在清理組件運動至設定位置時,通過復位組件復位。
作為上述技術方案的進一步描述:所述復位組件包括設置在第一滑槽內與滑動座連接的第一彈性件以及套設在柱體上的第二彈性件,所述柱體上貫穿滑動座設置有滑動桿,所述滑動座上開設有供所述滑動桿滑動的第三滑槽;還包括固定設置在內殼上的固定板,所述固定板上設置有環形槽,所述滑動桿活動設置在環形槽內。
作為上述技術方案的進一步描述:所述環形槽包括開設在固定板上的第一水平槽和第二水平槽,所述第一水平槽和第二水平槽之間通過斜槽和豎直槽連通;在所述滑動桿由斜槽運動至第二水平槽的位置處時,所述滑動座沿第一滑槽滑動復位。
作為上述技術方案的進一步描述:所述滑動桿與滑動座之間轉動連接。
作為上述技術方案的進一步描述:所述第一彈性件為拉簧,其彈性作用力用于用于拉動所述滑動座滑動復位。
作為上述技術方案的進一步描述:所述第二彈性件為壓簧,其彈性作用力用于帶動柱體的滑動復位。
作為上述技術方案的進一步描述:所述第二滑槽內設置有遮擋組件。
作為上述技術方案的進一步描述:所述遮擋組件包括設置在第二滑槽內的擋板以及設置在內殼內的收卷輥,所述擋板的一端通過固定塊與滑動座連接,另一端纏繞在收卷輥上,所述收卷輥與內殼之間通過卷軸轉動連接。
作為上述技術方案的進一步描述:所述卷軸上設置有發條彈簧,以使得所述滑動座沿第一滑槽滑動時,所述擋板自動收卷。
作為上述技術方案的進一步描述:所述內殼上設置有用于對擋板表面進行清理的刮板。
在上述技術方案中,本發明提供的一種脫硫廢水氯離子萃取用的污泥脫水機具備的有益效果:本發明通過設置的清理組件,在螺旋葉片旋轉時,能夠帶動清理板運動,使得清理板帶動柱體沿第二滑槽水平滑動,以使得清理板對螺旋葉片的表面進行清理,去除螺旋葉片表面粘附的污泥,同時,配合設置的復位組件,能夠在清理組件運動至設定位置時,帶動滑動座沿第一滑槽滑動復位,即實現清理組件的復位,本設計能夠利用螺旋葉片的轉動,通過清理組件實現螺旋葉片表面的被動式清理,防止污泥吸附在螺旋葉片表面,保證脫水工作的正常進行。
應當理解,前面的一般描述和以下詳細描述都僅是示例性和說明性的,而不是用于限制本公開。
本申請文件提供本公開中描述的技術的各種實現或示例的概述,并不是所公開技術的全部范圍或所有特征的全面公開。
(發明人:孫啟靜;王克文;王斌;李曉東;許德富;楊慶忠)






