公布日:2023.12.12
申請日:2023.09.19
分類號:C02F9/00(2023.01)I;C02F1/52(2023.01)N;C02F1/24(2023.01)N;C02F1/00(2023.01)N;C02F101/10(2006.01)N
摘要
本發明提供了一種高效除磷一體化工藝,包括:S1、待處理污水進入混凝區,通過第一攪拌機將鋁鹽混凝劑與污水混合;S2、混凝區的出水自流進入絮凝區,通過第二攪拌機將絮凝劑與污水混合;S3、絮凝區出水從兩側自流進入沉淀池底部布水區,在沉淀池底部布水區從底部向上流,然后在斜管填料層沉淀,然后到達表層的沉淀池出水堰出水,流入沉淀出水渠,其中,污泥通過沉淀池底部布水區的底部的排泥穿孔管進行排放。本發明的有益效果是:集混凝-絮凝-沉淀-氣浮工藝于一體,通過復式結構合理構建,增強對不同尺度含磷污染物有效去除,實現占地省、除磷效率高及超低磷排放的功能。

權利要求書
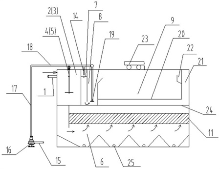
1.一種高效除磷一體化工藝,其特征在于:提供一種高效除磷一體化裝置,所述高效除磷一體化裝置包括一體化構建的混凝區、絮凝區、下層沉淀區和上層氣浮區,所述混凝區連接有進水管,所述混凝區內安裝有第一攪拌機,所述混凝區的出水口與所述絮凝區的進水口相連通,所述絮凝區內設有第二攪拌機,所述下層沉淀區包括位于底部的沉淀池底部布水區、位于中間的斜管填料層、位于頂部表層的沉淀池出水堰和位于頂部表層的沉淀出水渠,所述沉淀池出水堰與所述沉淀出水渠相鄰設置,所述絮凝區的出水口與所述沉淀池底部布水區的進水口相連通,所述上層氣浮區包括氣浮進水區、氣浮混合區、氣浮分離區和氣浮出水渠,所述沉淀出水渠與所述氣浮進水區相鄰設置,水體由所述沉淀出水渠流入所述氣浮進水區,所述氣浮進水區的出水口與所述氣浮混合區的進水口相連通,所述氣浮混合區的出水口與所述氣浮分離區的進水口相連通,所述氣浮分離區內設有下層穿孔板,所述下層穿孔板設置在所述氣浮分離區和氣浮出水渠之間,水體由所述氣浮分離區經所述下層穿孔板進入所述氣浮出水渠,所述氣浮出水渠連接有氣浮出水管;基于所述高效除磷一體化裝置進行以下步驟:S1、待處理污水進入混凝區,通過第一攪拌機將鋁鹽混凝劑與污水混合;S2、混凝區的出水自流進入絮凝區,通過第二攪拌機將絮凝劑與污水混合;S3、絮凝區出水從兩側自流進入沉淀池底部布水區,在沉淀池底部布水區從底部向上流,然后在斜管填料層沉淀,然后到達表層的沉淀池出水堰出水,流入沉淀出水渠,其中,污泥通過沉淀池底部布水區的底部的排泥穿孔管進行排放;S4、沉淀出水渠自流進入氣浮進水區,在氣浮進水區投加殼聚糖,在高差水力攪拌下進行微混凝;S5、氣浮進水區微混凝后的水從底部進入氣浮混合區,與溶氣釋放器釋放的超量微氣泡發生混合接觸、黏附,形成氣水渣三相混合物,豎流向上進入氣浮分離區;S6、氣浮分離區的水體經下層穿孔板進入氣浮出水渠;S7、氣浮出水渠的氣浮出水的回流液通過回流液進水管進入多相加壓泵,多相加壓泵將氣水混合液中的大尺寸氣泡切割成小氣泡,在泵腔高壓下小氣泡和水迅速混合,使氣體達到飽和溶解度,再進入穩壓管穩壓,然后經溶氣水管輸送到溶氣釋放器,通過溶氣釋放器減壓釋放到水中產生大量微氣泡,在豎向的氣浮混合區中,污水與微氣泡迅速混合;S8、最終,深度除磷后的出水經氣浮出水渠由氣浮出水管排出。
2.根據權利要求1所述的高效除磷一體化工藝,其特征在于:在步驟S7中,氣浮出水渠21的氣浮出水10-15%的回流液通過回流液進水管15進入多相加壓泵16。
3.根據權利要求1所述的高效除磷一體化工藝,其特征在于:在步驟S1中,混凝反應時間15-30min;在步驟S2中,絮凝反應時間15-30min。
4.根據權利要求1所述的高效除磷一體化工藝,其特征在于:所述高效除磷一體化裝置還包括回流液管道,所述回流液管道包括回流液進水管、多相加壓泵、穩壓管、溶氣水管和溶氣釋放器,所述氣浮出水管與所述回流液進水管連接,所述回流液進水管與所述多相加壓泵的輸入口連接,所述多相加壓泵的輸出口與所述穩壓管的輸入口連接,所述穩壓管的輸出口與所述溶氣水管的輸入口連接,所述溶氣水管的輸出口與所述溶氣釋放器連接,所述溶氣釋放器設置在所述氣浮混合區中。
5.根據權利要求1所述的高效除磷一體化工藝,其特征在于:所述絮凝區的出水口包括絮凝區通孔和絮凝區暗涵,所述絮凝區通孔和絮凝區暗涵分別與所述沉淀池底部布水區的兩側的進水口相連通。
6.根據權利要求1所述的高效除磷一體化工藝,其特征在于:所述沉淀池底部布水區的底部設有排泥穿孔管,所述排泥穿孔管開設有斜45度十字交叉孔,所述排泥穿孔管連接有排泥管,所述排泥管上設有排泥閥門。
7.根據權利要求1所述的高效除磷一體化工藝,其特征在于:所述氣浮混合區的進水口位于其底部,所述氣浮混合區的出水口位于其頂部。
8.根據權利要求1所述的高效除磷一體化工藝,其特征在于:所述高效除磷一體化裝置還包括行車式自動刮渣機,所述氣浮分離區上設有排渣槽,所述排渣槽連接有排渣管。
9.根據權利要求1所述的高效除磷一體化工藝,其特征在于:所述第一攪拌機為快速攪拌機,所述第二攪拌機為慢速攪拌機,所述氣浮進水區上設有微混凝加藥機構。
10.根據權利要求1所述的高效除磷一體化工藝,其特征在于:所述混凝區與絮凝區位于所述高效除磷一體化裝置的上層,水流采用自流方式依次發生混凝和絮凝反應,所述下層沉淀區位于所述高效除磷一體化裝置的下層,所述上層氣浮區位于所述高效除磷一體化裝置的上層,并且,所述下層沉淀區的沉淀出水渠的出水與所述上層氣浮區的氣浮進水區之間具有高度差。
發明內容
為了解決現有技術中的問題,本發明提供了一種高效除磷一體化工藝,可以實現超低磷排放的高效除磷裝置,實現水體磷的減負目標。
本發明提供了一種一種高效除磷一體化工藝,提供一種高效除磷一體化裝置,包括一體化構建的混凝區、絮凝區、下層沉淀區和上層氣浮區,所述混凝區連接有進水管,所述混凝區內安裝有第一攪拌機,所述混凝區的出水口與所述絮凝區的進水口相連通,所述絮凝區內設有第二攪拌機,所述下層沉淀區包括位于底部的沉淀池底部布水區、位于中間的斜管填料層、位于頂部表層的沉淀池出水堰和位于頂部表層的沉淀出水渠,所述沉淀池出水堰與所述沉淀出水渠相鄰設置,所述絮凝區的出水口與所述沉淀池底部布水區的進水口相連通,所述上層氣浮區包括氣浮進水區、氣浮混合區、氣浮分離區和氣浮出水渠,所述沉淀出水渠與所述氣浮進水區相鄰設置,水體由所述沉淀出水渠流入所述氣浮進水區,所述氣浮進水區的出水口與所述氣浮混合區的進水口相連通,所述氣浮混合區的出水口與所述氣浮分離區的進水口相連通,所述氣浮分離區內設有下層穿孔板,所述下層穿孔板設置在所述氣浮分離區和氣浮出水渠之間,水體由所述氣浮分離區經所述下層穿孔板進入所述氣浮出水渠,所述氣浮出水渠連接有氣浮出水管;
基于所述高效除磷一體化裝置進行以下步驟:
S1、待處理污水進入混凝區,通過第一攪拌機將鋁鹽混凝劑與污水混合;
S2、混凝區的出水自流進入絮凝區,通過第二攪拌機將絮凝劑與污水混合;
S3、絮凝區出水從兩側自流進入沉淀池底部布水區,在沉淀池底部布水區從底部向上流,然后在斜管填料層沉淀,然后到達表層的沉淀池出水堰出水,流入沉淀出水渠,其中,污泥通過沉淀池底部布水區的底部的排泥穿孔管進行排放;
S4、沉淀出水渠自流進入氣浮進水區,在氣浮進水區投加殼聚糖,在高差水力攪拌下進行微混凝;
S5、氣浮進水區微混凝后的水從底部進入氣浮混合區,與溶氣釋放器釋放的超量微氣泡發生混合接觸、黏附,形成氣水渣三相混合物,豎流向上進入氣浮分離區;
S6、氣浮分離區的水體經下層穿孔板進入氣浮出水渠;
S7、氣浮出水渠的氣浮出水的回流液通過回流液進水管進入多相加壓泵,多相加壓泵將氣水混合液中的大尺寸氣泡切割成小氣泡,在泵腔高壓下小氣泡和水迅速混合,使氣體達到飽和溶解度,再進入穩壓管穩壓,然后經溶氣水管輸送到溶氣釋放器,通過溶氣釋放器減壓釋放到水中產生大量微氣泡,在豎向的氣浮混合區中,污水與微氣泡迅速混合;
S8、最終,深度除磷后的出水經氣浮出水渠由氣浮出水管排出。
作為本發明的進一步改進,所述高效除磷一體化裝置還包括回流液管道,所述回流液管道包括回流液進水管、多相加壓泵、穩壓管、溶氣水管和溶氣釋放器,所述氣浮出水管與所述回流液進水管連接,所述回流液進水管與所述多相加壓泵的輸入口連接,所述多相加壓泵的輸出口與所述穩壓管的輸入口連接,所述穩壓管的輸出口與所述溶氣水管的輸入口連接,所述溶氣水管的輸出口與所述溶氣釋放器連接,所述溶氣釋放器設置在所述氣浮混合區中。
作為本發明的進一步改進,所述絮凝區的出水口包括絮凝區通孔和絮凝區暗涵,所述絮凝區通孔和絮凝區暗涵分別與所述沉淀池底部布水區的兩側的進水口相連通。
作為本發明的進一步改進,所述沉淀池底部布水區的底部設有排泥穿孔管,所述排泥穿孔管開設有斜45度十字交叉孔,所述排泥穿孔管連接有排泥管,所述排泥管上設有排泥閥門。
作為本發明的進一步改進,所述氣浮混合區的進水口位于其底部,所述氣浮混合區的出水口位于其頂部。
作為本發明的進一步改進,所述高效除磷一體化裝置還包括行車式自動刮渣機,所述氣浮分離區上設有排渣槽,所述排渣槽連接有排渣管。
作為本發明的進一步改進,所述第一攪拌機為快速攪拌機,所述第二攪拌機為慢速攪拌機,所述氣浮進水區上設有微混凝加藥機構。
作為本發明的進一步改進,所述混凝區與絮凝區位于所述高效除磷一體化裝置的上層,水流采用自流方式依次發生混凝和絮凝反應,所述下層沉淀區位于所述高效除磷一體化裝置的下層,所述上層氣浮區位于所述高效除磷一體化裝置的上層,并且,所述下層沉淀區的沉淀出水渠的出水與所述上層氣浮區的氣浮進水區之間具有高度差。
本發明的有益效果是:集混凝-絮凝-沉淀-氣浮工藝于一體,通過復式結構合理構建,增強對不同尺度含磷污染物有效去除,實現占地省、除磷效率高及超低磷排放的功能。
(發明人:劉洋;陳鴻芳;王小江;韓琦;羅肅霜;林武;王偉綿;李芳玲)






