公布日:2022.11.01
申請日:2022.07.29
分類號:C02F11/122(2019.01)I;C02F11/123(2019.01)I;B01D33/04(2006.01)I;B01D33/056(2006.01)I;B01D33/80(2006.01)I;B01D33/60(2006.01)I
摘要
本發明公開了一種污泥脫水用橡膠帶式真空壓濾機,涉及真空壓濾機技術領域,包括固定架和輸泥設備,所述輸泥設備位于固定架的輸入端,且輸泥設備上設置有位于固定架上方的輸入口。該污泥脫水用橡膠帶式真空壓濾機,通過輸送泵和連通管以及噴淋管和噴射口的配合使用,使得該污泥脫水用橡膠帶式真空壓濾機在對污泥進行輸送的過程中,污泥在橡膠輸送帶和濾布上進行輸送,同時,輸送泵啟動并通過連通管向噴淋管中輸送水流,水流通過噴淋管外部均勻分布的噴射口噴出,并作用于橡膠輸送帶和濾布上的污泥中,將結塊的污泥沖散,再通過鋪平輥對污泥進行鋪平,便于污泥最終脫水工作的進行,保證污泥進行脫水時各部分的均勻。

權利要求書
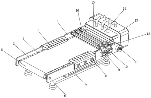
1.一種污泥脫水用橡膠帶式真空壓濾機,包括固定架(1)和輸泥設備(13),所述輸泥設備(13)位于固定架(1)的輸入端,且輸泥設備(13)上設置有位于固定架(1)上方的輸入口(14),所述固定架(1)的內側活動套裝有兩組活動輥(6),且固定架(1)的外部固定安裝有與輸入端活動輥(6)相關聯的驅動電機(11),所述活動輥(6)的外部套接有橡膠輸送帶(3)和濾布(5),所述固定架(1)的中部設置有真空壓濾設備(2),其特征在于:所述固定架(1)的內側活動套接有均勻分布的固定板(15)和噴淋管(16),且固定架(1)的外部固定安裝有輸送泵(10),所述輸送泵(10)與噴淋管(16)之間連接有連通管(12),所述噴淋管(16)的外部固定套裝有均勻分布的噴射口(19),所述固定板(15)的底端活動套裝有鋪平輥(20)。
2.根據權利要求1所述的一種污泥脫水用橡膠帶式真空壓濾機,其特征在于:所述橡膠輸送帶(3)的外部開設有均勻分布的滲水槽(4),所述濾布(5)貼合在橡膠輸送帶(3)和滲水槽(4)的外側。
3.根據權利要求1所述的一種污泥脫水用橡膠帶式真空壓濾機,其特征在于:所述固定架(1)的底部固定套裝有位于真空壓濾設備(2)下方的過濾水箱(7),所述過濾水箱(7)中設置有過濾機構,且過濾水箱(7)的下方開設有排污管口。
4.根據權利要求3所述的一種污泥脫水用橡膠帶式真空壓濾機,其特征在于:所述過濾水箱(7)與輸送泵(10)之間固定連接有循環管(8),所述輸送泵(10)、固定板(15)、噴淋管(16)位于真空壓濾設備(2)與輸泥設備(13)之間。
5.根據權利要求1所述的一種污泥脫水用橡膠帶式真空壓濾機,其特征在于:所述固定架(1)的內側活動套裝有與固定板(15)的位置相對應的活動軸(17),所述活動軸(17)的外部固定套裝有套接座(18),所述套接座(18)的外部活動套接有卡接在固定板(15)兩端的套接塊(22)。
6.根據權利要求5所述的一種污泥脫水用橡膠帶式真空壓濾機,其特征在于:所述套接塊(22)的內側設置有均勻分布的卡塊(23),所述固定板(15)的兩端開設有與卡塊(23)相匹配的卡槽(21)。
7.根據權利要求5所述的一種污泥脫水用橡膠帶式真空壓濾機,其特征在于:所述固定架(1)的內側開設有與套接座(18)相匹配的偏轉槽,所述活動軸(17)的軸心部位與偏轉槽的中心位置相對應。
8.根據權利要求5所述的一種污泥脫水用橡膠帶式真空壓濾機,其特征在于:所述固定架(1)的外側螺紋套接有與套接座(18)一一對應的緊固螺栓(9),所述緊固螺栓(9)的末端延伸至固定架(1)的內側。
9.根據權利要求5所述的一種污泥脫水用橡膠帶式真空壓濾機,其特征在于:所述套接座(18)中開設有與套接塊(22)相匹配的活動腔,且套接座(18)與套接塊(22)之間固定連接有均勻分布的彈簧(24),所述套接塊(22)外部設置有摩擦紋。
10.根據權利要求1所述的一種污泥脫水用橡膠帶式真空壓濾機,其特征在于:所述鋪平輥(20)的長度值與濾布(5)的寬度值相互匹配,且鋪平輥(20)的外表面光滑,所述固定板(15)的外部固定安裝有握把。
發明內容
針對現有技術的不足,本發明提供了一種污泥脫水用橡膠帶式真空壓濾機,解決了上述背景技術中提出的問題。
為實現以上目的,本發明通過以下技術方案予以實現:一種污泥脫水用橡膠帶式真空壓濾機,包括固定架和輸泥設備,所述輸泥設備位于固定架的輸入端,且輸泥設備上設置有位于固定架上方的輸入口,所述固定架的內側活動套裝有兩組活動輥,且固定架的外部固定安裝有與輸入端活動輥相關聯的驅動電機,所述活動輥的外部套接有橡膠輸送帶和濾布,所述固定架的中部設置有真空壓濾設備,所述固定架的內側活動套接有均勻分布的固定板和噴淋管,且固定架的外部固定安裝有輸送泵,所述輸送泵與噴淋管之間連接有連通管,所述噴淋管的外部固定套裝有均勻分布的噴射口,所述固定板的底端活動套裝有鋪平輥。
進一步的,所述橡膠輸送帶的外部開設有均勻分布的滲水槽,所述濾布貼合在橡膠輸送帶和滲水槽的外側,橡膠輸送帶外部開設的滲水槽能夠方便脫去后的水分流通,為了保證濾布跟隨橡膠輸送帶運轉,所以濾布需要貼合在橡膠輸送帶和滲水槽的外側。
進一步的,所述固定架的底部固定套裝有位于真空壓濾設備下方的過濾水箱,所述過濾水箱中設置有過濾機構,且過濾水箱的下方開設有排污管口,真空壓濾設備脫去的水分可輸入過濾水箱中進行存儲過濾,過濾水箱中的過濾機構可對脫去的水分進行初步處理,過濾水箱中的過濾機構可對脫去的水分進行初步處理,便于后續再利用。
進一步的,所述過濾水箱與輸送泵之間固定連接有循環管,所述輸送泵、固定板、噴淋管位于真空壓濾設備與輸泥設備之間,循環管可通過輸送泵將過濾水箱中初步處理后的水分抽出,便于進行循環利用,輸泥設備可通過輸入口向橡膠輸送帶和濾布的外部輸送污泥。
進一步的,所述固定架的內側活動套裝有與固定板的位置相對應的活動軸,所述活動軸的外部固定套裝有套接座,所述套接座的外部活動套接有卡接在固定板兩端的套接塊,套接座和套接塊可相互配合并卡接在固定板的兩端,輔助固定板的固定。
進一步的,所述套接塊的內側設置有均勻分布的卡塊,所述固定板的兩端開設有與卡塊相匹配的卡槽,套接塊對固定板進行卡接固定時,套接塊內側的卡塊嵌入在固定板兩端的卡槽中,保證固定板的穩定。
進一步的,所述固定架的內側開設有與套接座相匹配的偏轉槽,所述活動軸的軸心部位與偏轉槽的中心位置相對應,套接座可繞活動軸在偏轉槽中偏轉,為了避免套接座偏轉的過程中與偏轉槽的內壁相互接觸,所以活動軸的軸心部位需要與偏轉槽的中心位置相對應。
進一步的,所述固定架的外側螺紋套接有與套接座一一對應的緊固螺栓,所述緊固螺栓的末端延伸至固定架的內側,緊固螺栓用于輔助套接座的固定,保證固定板、噴淋管工作時的穩定。
進一步的,所述套接座中開設有與套接塊相匹配的活動腔,且套接座與套接塊之間固定連接有均勻分布的彈簧,所述套接塊外部設置有摩擦紋,套接塊可在套接座的活動腔內滑動,工作人員可壓縮套接塊,使得套接塊嵌入活動腔在中,解除對固定板的固定。
進一步的,所述鋪平輥的長度值與濾布的寬度值相互匹配,且鋪平輥的外表面光滑,所述固定板的外部固定安裝有握把,鋪平輥用于輔助濾布上污泥的鋪平,所以鋪平輥的長度值與濾布的寬度值相互匹配,鋪平輥的外表面光滑可防止污泥殘留。
本發明提供了一種污泥脫水用橡膠帶式真空壓濾機,具備以下有益效果:
1、該污泥脫水用橡膠帶式真空壓濾機,通過輸送泵和連通管以及噴淋管和噴射口的配合使用,使得該污泥脫水用橡膠帶式真空壓濾機在對污泥進行輸送的過程中,污泥在橡膠輸送帶和濾布上進行輸送,同時,輸送泵啟動并通過連通管向噴淋管中輸送水流,水流通過噴淋管外部均勻分布的噴射口噴出,并作用于橡膠輸送帶和濾布上的污泥中,將結塊的污泥沖散,再通過鋪平輥對污泥進行鋪平,便于污泥最終脫水工作的進行,保證污泥進行脫水時各部分的均勻。
2、該污泥脫水用橡膠帶式真空壓濾機,通過真空壓濾設備和過濾水箱以及循環管和輸送泵的配合使用,使得該污泥脫水用橡膠帶式真空壓濾機可通過真空壓濾設備對污泥進行脫水加工,完成加工后,脫去的水分在真空壓濾設備的作用下滲入過濾水箱中,輸送泵工作時通過循環管將過濾水箱中存儲的水分抽出,并用于污泥的噴淋,從而使得該污泥脫水用橡膠帶式真空壓濾機能夠高效的利用污泥加工時產生的水分。
3、該污泥脫水用橡膠帶式真空壓濾機,通過套接座和套接塊以及活動軸和緊固螺栓的配合使用,使得該污泥脫水用橡膠帶式真空壓濾機的噴淋管和固定板卡接在兩個套接塊之間,套接塊和套接座可通過活動軸在固定架的內側偏轉,工作人員可調整套接座的偏轉角度,改變噴射口的噴淋范圍,以及鋪平輥與濾布之間的距離值,之后旋轉緊固螺栓,使得緊固螺栓的末端與套接座的外部相互接觸,并擠壓,將套接座固定,使得污泥在進行鋪平時,對污泥的厚度進行調節,從而適配不同的生產需求。
(發明人:周健;丁國鋒;吳逸興;周浩)






