公布日:2023.05.30
申請日:2023.03.29
分類號:C02F3/30(2023.01)I;C02F3/34(2023.01)I;C02F101/30(2006.01)N;C02F101/16(2006.01)N;C02F101/10(2006.01)N
摘要
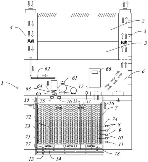
本發明公開了一種嚴寒地區生活污水處理設備,包括設備本體、保溫層、設備室和反應室。設備室包括連接于其兩端的進風管、排風管及與進風管連通的風機。反應室包括多個交替設置的第一污水池和第二污水池,風機的出風端連接有第一出風管和第二出風管,排風管與反應室的出風口連通。其中,當第二出風管關閉,第一出風管與多個第一污水池通風連接時,多個第一污水池內能夠進行好氧反應,多個第二污水池內能夠進行厭氧反應;當第一出風管關閉,第二出風管與多個第二污水池通風連接時,多個第一污水池內能夠進行厭氧反應,第二污水池能夠進行好氧反應。該嚴寒地區生活污水處理設備,使得污水能夠得到充分的反應,使得污水處理效率大大提高。

權利要求書
1.一種嚴寒地區生活污水處理設備,其特征在于,包括:設備本體;保溫層,設于所述設備本體的上方;設備室,設于所述保溫層的下方,該設備室包括連接于其兩端的進風管、排風管及與進風管連通的風機;以及,反應室,設于所述設備室的下方,所述反應室包括多個交替設置的第一污水池和第二污水池,所述風機的出風端設有與多個第一污水池連接的第一出風管及與多個第二污水池連接的第二出風管,所述排風管與所述反應室的出風口連通;其中,當第二出風管關閉,第一出風管與多個第一污水池通風連接時,多個第一污水池內能夠進行好氧反應,多個第二污水池內能夠進行厭氧反應;當第一出風管關閉,第二出風管與多個第二污水池通風連接時,多個第一污水池內能夠進行厭氧反應,第二污水池能夠進行好氧反應。
2.如權利要求1所述的嚴寒地區生活污水處理設備,其特征在于,所述第一出風管的進風端設有第一氣體控制閥,所述第一出風管的尾端分別與所述多個第一污水池的底部連接且與每個第一污水池的連接處設有第一曝氣頭,所述第一曝氣頭位于所述第一污水池內。
3.如權利要求1所述的嚴寒地區生活污水處理設備,其特征在于,所述第二出風管的進風端設有第二氣體控制閥,所述第二出風管的尾端分別與多個第二污水池的底部連接且與每個第二污水池的連接處設有第二曝氣頭,所述第二曝氣頭位于所述第二污水池內。
4.如權利要求1所述的嚴寒地區生活污水處理設備,其特征在于,所述第一污水池和第二污水池內均設有生物填料。
5.如權利要求1所述的嚴寒地區生活污水處理設備,其特征在于,所述進風管與所述風機的進風端之間連接有主進氣管。
6.如權利要求1所述的嚴寒地區生活污水處理設備,其特征在于,所述風機的出風端與所述第一出風管和第二出風管之間共同連接有主出氣管,所述主出氣管上設有第三氣體控制閥和氣體流量計。
7.如權利要求1所述的嚴寒地區生活污水處理設備,其特征在于,相鄰兩個所述第一污水池和第二污水池之間連接有輸液管,所述輸液管上設有閥門。
8.如權利要求1所述的嚴寒地區生活污水處理設備,其特征在于,所述設備室還設有控制所述風機運行的PLC控制柜。
9.如權利要求1所述的嚴寒地區生活污水處理設備,其特征在于,所述反應室連接有進液管和排液管。
10.如權利要求1所述的嚴寒地區生活污水處理設備,其特征在于,所述反應室還設有溶解氧儀表、氨氮儀表、PH儀表、溫度儀表和液位計。
發明內容
本發明的目的在于提供一種嚴寒地區生活污水處理設備,其能夠有效緩解嚴寒地區污水處理效果不好的問題。
為實現上述目的,本發明的實施例提供了一種嚴寒地區生活污水處理設備,包括設備本體、保溫層、設備室和反應室。所述保溫層設于所述設備本體的上方。所述設備室設于所述保溫層的下方,該設備室包括連接于其兩端的進風管、排風管及與進風管連通的風機。所述反應室設于所述設備室的下方,所述反應室包括多個交替設置的第一污水池和第二污水池,所述風機的出風端設有與多個第一污水池連接的第一出風管及與多個第二污水池連接的第二出風管,所述排風管與所述反應室的出風口連通。其中,當第二出風管關閉,第一出風管與多個第一污水池通風連接時,多個第一污水池內能夠進行好氧反應,多個第二污水池內能夠進行厭氧反應;當第一出風管關閉,第二出風管與多個第二污水池通風連接時,多個第一污水池內能夠進行厭氧反應,第二污水池能夠進行好氧反應。
在本發明的一個或多個實施方式中,所述第一出風管的進風端設有第一氣體控制閥,所述第一出風管的尾端分別與所述多個第一污水池的底部連接且與每個第一污水池的連接處設有第一曝氣頭,所述第一曝氣頭位于所述第一污水池內。
在本發明的一個或多個實施方式中,所述第二出風管的進風端設有第二氣體控制閥,所述第二出風管的尾端分別與多個第二污水池的底部連接且與每個第二污水池的連接處設有第二曝氣頭,所述第二曝氣頭位于所述第二污水池內。
在本發明的一個或多個實施方式中,所述第一污水池和第二污水池內均設有生物填料。
在本發明的一個或多個實施方式中,所述進風管與所述風機的進風端之間連接有主進氣管。
在本發明的一個或多個實施方式中,所述風機的出風端與所述第一出風管和第二出風管之間共同連接有主出氣管,所述主出氣管上設有第三氣體控制閥和氣體流量計。
在本發明的一個或多個實施方式中,相鄰兩個所述第一污水池和第二污水池之間連接有輸液管,所述輸液管上設有閥門。
在本發明的一個或多個實施方式中,所述設備室還設有控制所述風機運行的PLC控制柜。
在本發明的一個或多個實施方式中,所述反應室連接有進液管和排液管。
在本發明的一個或多個實施方式中,所述反應室還設有溶解氧儀表、氨氮儀表、PH儀表、溫度儀表和液位計。
與現有技術相比,根據本發明實施方式的嚴寒地區生活污水處理設備,具有以下優點:
通過第一出風管和第二出風管分別對多個第一污水池內和多個第二污水池內進行交替通入氣體,使得多個第一污水池內和多個第二污水池內可分別進行好氧反應和厭氧反應,以實現對多個第一污水池內的污水和多個第二污水池內的污水進行充分處理的目的。
將污水處理用的反應室通過在其上方設置保溫層以及將反應室設置在設備本體的最下方,使得對反應室起到了很好的保溫作用,以便于反應室內的微生物能夠在適宜的溫度下對污水進行充分反應。
進風管和排風管的設置,使得反應室能夠進行很好的進排氣。
(發明人:張志;吳保輝;韓繼軒;楊保權)






