公布日:2023.11.17
申請日:2023.09.04
分類號:C02F9/00(2023.01)I;C02F1/00(2023.01)I;C02F1/66(2023.01)I;C02F1/26(2023.01)I;C02F101/16(2006.01)N
摘要
本發明公開了一種疊氮廢水管式快速淬滅裝置及其工作方法,包括水浴箱、淬滅盤管反應器、中和盤管反應器、盤管換熱器、PLC控制器和多條管路,所述管路包括進料管路組、堿液管路、出料管路、換熱管路和循環管路。本發明提供的疊氮廢水管式快速淬滅裝置,基于管式反應盤的裝置,可使整個淬滅過程的速度提升,僅需5-50min即可完成淬滅,且整體可耐壓至1-2MPa,遠超常規反應釜,淬滅過程全在管道中進行,實現淬滅的零泄漏,既有利于降低成本,還能大大降低工業生產安全問題發生的概率。

權利要求書
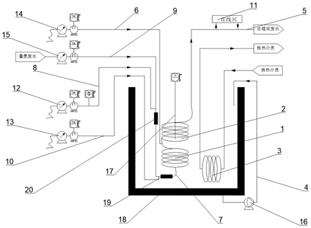
1.一種疊氮廢水管式快速淬滅裝置,其特征在于,包括水浴箱、淬滅盤管反應器、中和盤管反應器、盤管換熱器、PLC控制器和多條管路,所述管路包括進料管路組、堿液管路、出料管路、換熱管路和循環管路;所述水浴箱的內部盛裝有換熱工藝水,所述水浴箱的底部設置有出水口,所述循環管路的一端與出水口固定連接,所述循環管路的另一端插入水浴箱的內部,所述循環管路上設置有循環泵;所述淬滅盤管反應器、中和盤管反應器和盤管換熱器均固定安裝于水浴箱的內部,所述淬滅盤管反應器固定安裝在中和盤管反應器的下端,且所述淬滅盤管反應器的出料口和中和盤管反應器的進料口通過管路連通,所述盤管換熱器的兩端與換熱管路連通,所述換熱管路用于向盤管換熱器內輸入和輸出換熱介質;所述進料管路組設置在水浴箱的一側并延伸至水浴箱內,且所述進料管路組與淬滅盤管反應器的進料口固定連接;所述堿液管路的一端與堿液料液源連通,所述堿液管路的另一端與中和盤管反應器的進料端連通;所述出料管路的一端與中和盤管反應器的出料口固定連接,所述出料管路的另一端連接有廢水收集裝置,所述出料管路上設置有在線離子色譜檢測儀;所述PLC控制器與水浴箱、進料管路組、出料管路、換熱管路和循環管路均電性連接。
2.根據權利要求1所述的疊氮廢水管式快速淬滅裝置,其特征在于,所述淬滅盤管反應器的盤管為由下向上纏繞。
3.根據權利要求1所述的疊氮廢水管式快速淬滅裝置,其特征在于,所述中和盤管反應器的盤管為由下向上纏繞。
4.根據權利要求1所述的疊氮廢水管式快速淬滅裝置,其特征在于,所述進料管路組包括主管路、第一支路和第二支路,所述主管路的一端通過三通連接有第一支路和第二支路,所述主管路的另一端和淬滅盤管反應器的底端連通,所述主管路上設置有第一靜態混合器。
5.根據權利要求4所述的疊氮廢水管式快速淬滅裝置,其特征在于,所述第一支路由亞硝酸鈉管路和疊氮廢水管路組成,所述亞硝酸鈉管路的一端連接有亞硝酸鈉溶液源,所述亞硝酸鈉管路的另一端與所述疊氮廢水管路連通,所述疊氮廢水管路的一端連接有疊氮廢水源,所述疊氮廢水管路的另一端與亞硝酸鈉管路連通,所述亞硝酸鈉管路和疊氮廢水管路的連接端設置有第二靜態混合器,所述第二支路為硫酸管路,所述硫酸管路的一端連接有硫酸溶液源,所述硫酸管路的另一端和主管路連通。
6.根據權利要求5所述的疊氮廢水管式快速淬滅裝置,其特征在于,所述亞硝酸鈉管路上固定安裝有第一計量泵和第一流量計,所述第一計量泵和第一流量計均與PLC控制器電性連接,所述硫酸管路上固定安裝有第二計量泵和第二流量計,所述第二計量泵和第二流量計均與PLC控制器電性連接,所述堿液管路上固定安裝有第三計量泵和第三流量計,所述第三計量泵和第三流量計均與PLC控制器電性連接,所述疊氮廢水管路上固定安裝有第四計量泵和第四流量計,所述第四計量泵和第四流量計均與PLC控制器電性連接。
7.根據權利要求1所述的疊氮廢水管式快速淬滅裝置,其特征在于,所述水浴箱中固定安裝有熱電阻溫度計,所述熱電阻溫度計與PLC控制器電性連接。
8.根據權利要求1所述的疊氮廢水管式快速淬滅裝置,其特征在于,所述淬滅盤管反應器和中和盤管反應器均為PFA材質,所述盤管換熱器為金屬材質。
9.根據權利要求1所述的疊氮廢水管式快速淬滅裝置,其特征在于,所述PLC控制器設置有人機交互界面,所述人機交互界面用于顯示裝置運行參數和報警提示。
10.一種基于如權利要求1-9中任一項所述的疊氮廢水管式快速淬滅裝置的淬滅方法,其特征在于,所述方法包括如下步驟:S1、開機:向淬滅盤管反應器和中和盤管反應器內吹掃輸送氮氣,使裝置惰性化,開啟換熱管路,向水浴箱內加入換熱工藝水,使換熱工藝水淹沒淬滅盤管反應器和中和盤管反應器,開啟循環泵和在線離子色譜檢測儀;S2、連續淬滅:開啟第三計量泵,向中和盤管反應器內通入液堿,液堿流速穩定后,開啟第二計量泵,向淬滅盤管反應器中通入硫酸溶液,硫酸溶液流速穩定后,開啟第一計量泵,向淬滅盤管反應器中通入亞硝酸鈉溶液,亞硝酸鈉溶液流速穩定后,開啟第四計量泵,將疊氮廢水與亞硝酸鈉溶液混合并送入淬滅盤管反應器內,進行連續在線淬滅;S3、調節pH:在淬滅盤管反應器中的混合液的完成淬滅后進入中和盤管反應器,與中和盤管反應器中的堿液混合以調節pH,pH調節完成后通過出料管路排出,出料管路上的在線離子色譜檢測儀對料液中的疊氮根離子含量進行在線檢測并將結果傳輸至PLC控制箱。
11.根據權利要求10所述的淬滅方法,其特征在于,步驟S2和S3中設置溫度報警聯鎖、流量報警聯鎖和出料疊氮根離子報警聯鎖;所述溫度報警聯鎖為:熱電阻溫度計將淬滅盤管反應器的料液溫度轉化為電信號傳輸至PLC控制器,當淬滅盤管反應器的溫度超出30℃或低于20℃時,PLC控制器關閉第一計量泵、第二計量泵、第三計量泵和第四計量泵并報警;所述流量報警聯鎖為:第一流量計將亞硝酸鈉管路的流量轉化為電信號傳輸至PLC控制器,第二流量計將硫酸管路的流量轉化為電信號傳輸至PLC控制器,第三流量計將堿液管路的流量轉化為電信號傳輸至PLC控制器,第四流量計將疊氮廢水管路的流量轉化為電信號傳輸至PLC控制器,當任意一個流量計高于或低于設定值時,PLC控制器關閉第一計量泵、第二計量泵、第三計量泵和第四計量泵并報警;所述出料疊氮根離子報警聯鎖為:在線離子色譜檢測儀將出料的料液中的疊氮根離子濃度轉化為電信號傳輸至PLC控制器,當出料的料液中的疊氮根離子濃度超過3ppm時,PLC控制器關閉第一計量泵、第二計量泵、第三計量泵和第四計量泵并報警。
發明內容
為解決上述技術問題,本發明提供一種疊氮廢水管式快速淬滅裝置,包括水浴箱、淬滅盤管反應器、中和盤管反應器、盤管換熱器、PLC控制器和多條管路,所述管路包括進料管路組、堿液管路、出料管路、換熱管路和循環管路;
所述水浴箱的內部盛裝有換熱工藝水,所述水浴箱的底部設置有出水口,所述循環管路的一端與出水口固定連接,所述循環管路的另一端插入水浴箱的內部,所述循環管路上設置有循環泵;
所述淬滅盤管反應器、中和盤管反應器和盤管換熱器均固定安裝于水浴箱的內部,所述淬滅盤管反應器固定安裝在中和盤管反應器的下端,且所述淬滅盤管反應器的出料口和中和盤管反應器的進料口通過管路連通,所述盤管換熱器的兩端與換熱管路連通,所述換熱管路用于向盤管換熱器內輸入和輸出換熱介質;
所述進料管路組設置在水浴箱的一側并延伸至水浴箱內,且所述進料管路組與淬滅盤管反應器的進料口固定連接;
所述堿液管路的一端與堿液料液源連通,所述堿液管路的另一端與中和盤管反應器的進料端連通;
所述出料管路的一端與中和盤管反應器的出料口固定連接,所述出料管路的另一端連接有廢水收集裝置,所述出料管路上設置有在線離子色譜檢測儀;
所述PLC控制器與水浴箱、進料管路組、出料管路、換熱管路和循環管路均電性連接。
具體地,所述淬滅盤管反應器的盤管為由下向上纏繞。
具體地,所述中和盤管反應器的盤管為由下向上纏繞。
具體地,所述進料管路組包括主管路、第一支路和第二支路,所述主管路的一端通過三通連接有第一支路和第二支路,所述主管路的另一端和淬滅盤管反應器的底端連通,所述主管路上設置有第一靜態混合器。
具體地,所述第一支路由亞硝酸鈉管路和疊氮廢水管路組成,所述亞硝酸鈉管路的一端連接有亞硝酸鈉溶液源,所述亞硝酸鈉管路的另一端與所述疊氮廢水管路連通,所述疊氮廢水管路的一端連接有疊氮廢水源,所述疊氮廢水管路的另一端與亞硝酸鈉管路連通,所述亞硝酸鈉管路和疊氮廢水管路的連接端設置有第二靜態混合器,所述第二支路為硫酸管路,所述硫酸管路的一端連接有硫酸溶液源,所述硫酸管路的另一端和主管路連通。
具體地,所述亞硝酸鈉管路上固定安裝有第一計量泵和第一流量計,所述第一計量泵和第一流量計均與PLC控制器電性連接,所述硫酸管路上固定安裝有第二計量泵和第二流量計,所述第二計量泵和第二流量計均與PLC控制器電性連接,所述堿液管路上固定安裝有第三計量泵和第三流量計,所述第三計量泵和第三流量計均與PLC控制器電性連接,所述疊氮廢水管路上固定安裝有第四計量泵和第四流量計,所述第四計量泵和第四流量計均與PLC控制器電性連接。
具體地,所述水浴箱中固定安裝有熱電阻溫度計,所述熱電阻溫度計與PLC控制器電性連接。
具體地,所述淬滅盤管反應器和中和盤管反應器均為PFA材質,所述盤管換熱器為金屬材質。
具體地,所述PLC控制器設置有人機交互界面,所述人機交互界面用于顯示裝置運行參數和報警提示。
本發明的另一方面還提供一種基于前述的疊氮廢水管式快速淬滅裝置的淬滅方法,所述方法包括如下步驟:
S1、開機:向淬滅盤管反應器和中和盤管反應器內吹掃輸送氮氣,使裝置惰性化,開啟換熱管路,向水浴箱內加入換熱工藝水,使換熱工藝水淹沒淬滅盤管反應器和中和盤管反應器,開啟循環泵和在線離子色譜檢測儀;
S2、連續淬滅:開啟第三計量泵,向中和盤管反應器內通入液堿,液堿流速穩定后,開啟第二計量泵,向淬滅盤管反應器中通入硫酸溶液,硫酸溶液流速穩定后,開啟第一計量泵,向淬滅盤管反應器中通入亞硝酸鈉溶液,亞硝酸鈉溶液流速穩定后,開啟第四計量泵,將疊氮廢水與亞硝酸鈉溶液混合并送入淬滅盤管反應器內,進行連續在線淬滅;
S3、調節pH:在淬滅盤管反應器中的混合液的完成淬滅后進入中和盤管反應器,與中和盤管反應器中的堿液混合以調節pH,pH調節完成后通過出料管路排出,出料管路上的在線離子色譜檢測儀對料液中的疊氮根離子含量進行在線檢測并將結果傳輸至PLC控制箱。
具體地,步驟S2和S3中設置溫度報警聯鎖、流量報警聯鎖和出料疊氮根離子報警聯鎖;
所述溫度報警聯鎖為:熱電阻溫度計將淬滅盤管反應器的料液溫度轉化為電信號傳輸至PLC控制器,當淬滅盤管反應器的溫度超出30℃或低于20℃時,PLC控制器關閉第一計量泵、第二計量泵、第三計量泵和第四計量泵并報警;
所述流量報警聯鎖為:第一流量計將亞硝酸鈉管路的流量轉化為電信號傳輸至PLC控制器,第二流量計將硫酸管路的流量轉化為電信號傳輸至PLC控制器,第三流量計將堿液管路的流量轉化為電信號傳輸至PLC控制器,第四流量計將疊氮廢水管路的流量轉化為電信號傳輸至PLC控制器,當任意一個流量計高于或低于設定值時,PLC控制器關閉第一計量泵、第二計量泵、第三計量泵和第四計量泵并報警;
所述出料疊氮根離子報警聯鎖為:在線離子色譜檢測儀將出料的料液中的疊氮根離子濃度轉化為電信號傳輸至PLC控制器,當出料的料液中的疊氮根離子濃度超過3ppm時,PLC控制器關閉第一計量泵、第二計量泵、第三計量泵和第四計量泵并報警。
與現有技術相比,本發明的有益效果在于:
1.本發明提供的疊氮廢水管式快速淬滅裝置,基于管式反應盤的裝置,可使整個淬滅過程的速度提升,僅需5-50min即可完成淬滅,且整體可耐壓至1-2MPa,遠超常規反應釜,淬滅過程全在管道中進行,實現淬滅的零泄漏,既有利于降低成本,還能大大降低工業生產安全問題發生的概率。
2.本發明提供的疊氮廢水管式快速淬滅裝置,PLC控制器可對裝置的進料流速、壓力、淬滅和中和反應的溫度以及出料料液的疊氮根離子濃度進行實時監控并調節,自動化程度高,結果反饋及時且精準。
3.本發明提供的疊氮廢水管式快速淬滅裝置,疊氮廢水管路可直接與前端反應單元或分離萃取單元嵌套無縫連接,以實現生產車間疊氮試劑廢水的在線連續淬滅,無需大量暫存,持液量小,大大提升了廢水的處理效率。
4.使用本發明提供的連續淬滅疊氮試劑廢水的方法,自動化程度高,監測結果反饋及時準確,操作簡單且適用性廣泛,可以靈活的與上游或下游生產單元嵌套安裝使用,大大擴展了使用空間和場景。
(發明人:惠勝國;朱程;張華;蔡興懷;張峰)






