公布日:2023.11.21
申請日:2023.09.11
分類號:C02F11/127(2019.01)I;C02F11/121(2019.01)I;B01D21/02(2006.01)I
摘要
本發明公開了一種污泥干化預處理裝置及方法,屬于污泥處理技術領域,污泥干化預處理裝置包括分離結構、第一沉淀區、第二沉淀區以及排泥組件,分離結構包括污水分離筒、污泥分離筒、輸送件以及驅動件,污水分離筒的一端設置有一污泥進口,另一端與污泥分離筒的內部連通;輸送件穿設布置于污水分離筒與污泥分離筒的內部之間;第一沉淀區的進料端與污水分離筒的污水排出端對應,第一沉淀區的上側以及下側分別設有排水口及污泥口;第二沉淀區的進料端與污泥分離筒的污水排出端對應;排泥組件的進料端與污泥口連通,其出料端與進泥口連通;本發明將大尺寸固體顆粒、污泥及污水進行三相分離,便于后續對污泥的處理。

權利要求書
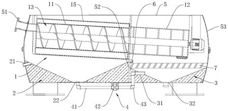
1.一種污泥干化預處理裝置,其特征在于,包括:分離結構,所述分離結構包括污水分離筒、污泥分離筒、輸送件以及驅動件,所述污水分離筒的一端設置有一污泥進口,所述污水分離筒的另一端與所述污泥分離筒的內部連通,所述污水分離筒的周壁開設有若干用于過濾出污水的第一篩孔,所述污泥分離筒的周壁開設有若干用于過濾出污泥的第二篩孔;所述輸送件穿設布置于所述污水分離筒與所述污泥分離筒的內部之間,其包括一設于所述污水分離筒內的驅動段以及設于所述污泥分離筒的連接段,所述驅動段用于在旋轉時將污泥由所述污水分離筒輸送至所述污泥分離筒,所述連接段與所述污泥分離筒相連,所述驅動件與所述輸送件相連,供以驅動所述輸送件旋轉;第一沉淀區,所述第一沉淀區的進料端與所述污水分離筒的污水排出端對應,所述第一沉淀區的上側以及下側分別設有排水口及污泥口;第二沉淀區,所述第二沉淀區的進料端與所述污泥分離筒的污水排出端對應,所述第二沉淀區的其中一側以及下側分別設有進泥口及出泥口;排泥組件,所述排泥組件的進料端與所述污泥口連通,其出料端與所述進泥口連通,供以將所述第一沉淀區內污泥輸送至所述第二沉淀區內。
2.根據權利要求1所述的污泥干化預處理裝置,其特征在于,所述污泥干化預處理裝置還包括處理罐,所述分離結構內置于所述處理罐,所述處理罐下部設置有一隔板,以將所述處理罐的下部分隔以形成所述第一沉淀區以及所述第二沉淀區。
3.根據權利要求2所述的污泥干化預處理裝置,其特征在于,所述第一沉淀區的橫截面積均以及所述第二沉淀區的橫截面積均由上至下依次減小。
4.根據權利要求1所述的污泥干化預處理裝置,其特征在于,所述污水分離筒及所述污泥分離筒均傾斜設置,且由靠近污水分離筒的污泥進口的一端至另一端逐漸向下傾斜。
5.根據權利要求1或4所述的污泥干化預處理裝置,其特征在于,所述污水分離筒的直徑小于所述污泥分離筒的直徑,所述第一篩孔的直徑小于所述第二篩孔的直徑。
6.根據權利要求1所述的污泥干化預處理裝置,其特征在于,所述污水分離筒的外周側套設有第二分離筒,所述第二分離筒的筒壁與所述污水分離筒的筒壁之間間隔設置,且所述第二分離筒的筒壁具有與所述第一篩孔孔徑相同的篩孔,其一側具有與所述第二沉淀區對應的出口,所述第二分離筒與所述污水分離筒兩者同軸心布置。
7.根據權利要求1所述的污泥干化預處理裝置,其特征在于,所述驅動段包括螺旋桿,所述螺旋桿轉動設于所述污水分離筒的內部,供以阻隔或輸送污泥;所述連接段包括中心桿以及沿所述中心桿的長度方向均勻布置的若干個連接件,所述中心桿及所述連接件均設于所述污泥分離筒的內部,且所述中心桿的一端與所述螺旋桿的中心軸固定連接,中心桿另一端與所述驅動件的驅動端相連,所述連接件包括沿所述中心桿周向設置的若干個連接桿,所述中心桿通過連接桿與所述污泥分離筒固定連接;所述驅動件包括電機,所述電機設于所述污泥分離筒的一側,所述電機的驅動端與所述中心桿連接,供以驅動所述中心桿及所述螺旋桿旋轉。
8.根據權利要求1所述的污泥干化預處理裝置,其特征在于,所述排泥組件包括第一連接管、污泥泵以及第二連接管,所述污泥泵的進泥口與所述第一連接管的一端相連,所述第一連接管的另一端設于所述污泥口處,所述污泥泵的出泥端與所述第二連接管的一端相連,所述第二連接管的一端設于所述進泥口處。
9.根據權利要求1所述的污泥干化預處理裝置,其特征在于,所述第二沉淀區的上方設置有濃縮過濾板,所述濃縮過濾板上帶有傾斜設置的壓縮孔。
10.一種污泥干化預處理方法,其特征在于,適用于如權利要求1~9任一項所述的污泥干化預處理裝置,其包括:S100:污泥通過污水分離筒的污泥進口進入至污水分離筒內部,在污水分離筒內通過第一篩孔過濾出其中的污水,再由驅動件驅動輸送件的驅動段旋轉,將污水分離筒內污泥輸送至污泥分離筒內;S200:污泥在污泥分離筒內,通過驅動件驅動連接段旋轉帶動污泥分離筒離心轉動,在離心力作用下將污泥以及小尺寸的固體顆粒通過第二篩孔甩出,而大于預設尺寸的固體顆粒則留置在污泥分離筒內;S300:通過污水分離筒過濾出的污水流至第一沉淀區內,于第一沉淀區內進行沉淀后,水體通過排水口排出,其中所含的少量污泥沉積在第一沉淀區底部,并通過排泥將所述第一沉淀區內污泥輸送至所述第二沉淀區內;S400:通過污泥分離筒過濾出的污泥以及第一沉淀區底部沉積的污泥均排放至第二沉淀區,在第二沉淀區內進行沉淀濃縮后,污泥通過出泥口排放。
發明內容
本發明的目的在于克服上述技術不足,提出一種污泥干化預處理裝置及方法,解決現有技術中污泥中堅硬的大顆粒固體物質難以清除,易造成設備故障的技術問題。
為達到上述技術目的,本發明的技術方案提供一種污泥干化預處理裝置及方法。
第一方面,本發明提供了一種污泥干化預處理裝置,包括分離結構、第一沉淀區、第二沉淀區以及排泥組件,
分離結構包括污水分離筒、污泥分離筒、輸送件以及驅動件,污水分離筒的一端設置有一污泥進口,污水分離筒的另一端與污泥分離筒的內部連通,污水分離筒的周壁開設有若干用于過濾出污水的第一篩孔,污泥分離筒的周壁開設有若干用于過濾出污泥的第二篩孔;輸送件穿設布置于污水分離筒與污泥分離筒的內部之間,其包括一設于污水分離筒內的驅動段以及設于污泥分離筒的連接段,驅動段用于在旋轉時將污泥由污水分離筒輸送至污泥分離筒,連接段與污泥分離筒相連,驅動件與輸送件相連,供以驅動輸送件旋轉;第一沉淀區的進料端與污水分離筒的污水排出端對應,第一沉淀區的其中上側以及下側分別設有排水口及污泥口;第二沉淀區的進料端與污泥分離筒的污水排出端對應,第二沉淀區的一側以及下側分別設有進泥口及出泥口;排泥組件的進料端與污泥口連通,其出料端與進泥口連通,供以將第一沉淀區內污泥輸送至第二沉淀區內。
在一些實施例中,污泥干化預處理裝置還包括處理罐,分離結構內置于處理罐,處理罐下部設置有一隔板,以將處理罐的下部分隔以形成第一沉淀區以及第二沉淀區。
在一些實施例中,第一沉淀區的橫截面積均以及第二沉淀區的橫截面積均由上至下依次減小,污水分離筒及污泥分離筒均傾斜設置,且由靠近污水分離筒的污泥進口的一端至另一端逐漸向下傾斜,污水分離筒的直徑小于污泥分離筒的直徑,第一篩孔的直徑小于第二篩孔的直徑。
在一些實施例中,污水分離筒的外周側套設有第二分離筒,第二分離筒的筒壁與污水分離筒的筒壁之間間隔設置,且第二分離筒的筒壁具有與第一篩孔孔徑相同的篩孔,其一側具有與第二沉淀區對應的出口,第二分離筒與污水分離筒兩者同軸心布置。
在一些實施例中,驅動段包括螺旋桿,螺旋桿轉動設于污水分離筒的內部,供以阻隔或輸送污泥;連接段包括中心桿以及沿中心桿的長度方向均勻布置的若干個連接件,中心桿及連接件均設于污泥分離筒的內部,且中心桿的一端與螺旋桿的中心軸固定連接,中心桿另一端與驅動件的驅動端相連,連接件包括沿中心桿周向設置的若干個連接桿,中心桿通過連接桿與污泥分離筒固定連接;
驅動件包括電機,電機設于污泥分離筒的一側,電機的驅動端與中心桿連接,供以驅動中心桿及螺旋桿旋轉。
在一些實施例中,排泥組件包括第一連接管、污泥泵以及第二連接管,污泥泵的進泥口與第一連接管的一端相連,第一連接管的另一端設于污泥口處,污泥泵的出泥端與第二連接管的一端相連,第二連接管的一端設于進泥口處。
在一些實施例中,第二沉淀區的上方設置有濃縮過濾板,濃縮過濾板上帶有傾斜設置的壓縮孔。
第二方面,本發明提供了一種污泥干化預處理方法,適用于上述污泥干化預處理裝置,方法包括:
S100:污泥通過污水分離筒的污泥進口進入至污水分離筒內部,在污水分離筒內通過第一篩孔過濾出其中的污水,再由驅動件驅動輸送件的驅動段旋轉,將污水分離筒內污泥輸送至污泥分離筒內;
S200:污泥在污泥分離筒內通過第二篩孔過濾出污泥以及小尺寸的固體顆粒,而大于預設尺寸的固體顆粒則留置在污泥分離筒內;
S300:通過污水分離筒過濾出的污水流至第一沉淀區內,于第一沉淀區內進行沉淀后,水體通過排水口排出,其中所含的少量污泥沉積在第一沉淀區底部,并通過排泥將第一沉淀區內污泥輸送至第二沉淀區內;
S400:通過污泥分離筒過濾出的污泥以及第一沉淀區底部沉積的污泥均排放至第二沉淀區,在第二沉淀區內進行沉淀濃縮后,污泥通過出泥口排放。
與現有技術相比,本發明的有益效果包括:通過設置的分離結構,能夠將待處理的污泥中含有的水、污泥及大尺寸固體物進行初步的分離處理,不合格的大尺寸固體顆粒則留置在污泥分離筒中,不會混雜在污泥中與污泥一起進行后續的干化工序,實現了對污泥中所含雜質的清除,避免造成后續輸送裝置或烘干設備的定型裝置卡死故障,同時能夠過濾污泥中的水分,降低污泥的含水率,有利于提高后續對污泥的干化處理效率;
通過設置的第一沉淀區及第二沉淀區,分別對過濾的污水及污泥進行進一步的處理,第一沉淀區內沉淀的污泥能夠通過排泥組件抽送至第二沉淀區,經沉淀的污水及污泥能夠分別通過排水口及污泥口送出進行后續的分類處理,第一沉淀區及第二沉淀區能夠分別降低污水中的雜質含量以及污泥中的水分含量,有利于污泥及污水的后續處置。
(發明人:王雪霞;黃昭瑋;李紅;冷超群;柯文昌;施卓;馬慧芬;郭珍珍)






