公布日:2024.05.07
申請日:2024.03.22
分類號:B01D29/03(2006.01)I;B01D29/58(2006.01)I;B01D35/12(2006.01)I;B01D29/96(2006.01)I;B01D29/66(2006.01)I
摘要
本發明公開了一種生活污水排放用凈化裝置及凈化方法,屬于污水凈化技術領域。一種生活污水排放用凈化裝置,包括連接管,連接管上下兩端均安裝有連接頭,連接管內部上側固定安裝有擋板,套板內部還設有轉動架,轉動架兩側設有過濾機構,過濾機構下側設有帶動機構,本發明通過設置的過濾機構能夠對生活污水中的固體垃圾進行過濾,并且在轉動機構的作用下能夠帶動過濾機構進行轉動,從而避免垃圾將過濾板堵住導致管道被堵的問題,其中,在轉動機構轉動后能夠將未擁堵的過濾板移動至已經擁堵的一側,從而使得兩塊過濾板的位置發生調換,以此能夠避免管道被擁堵。

權利要求書
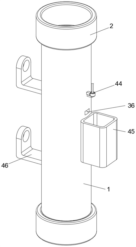
1.一種生活污水排放用凈化裝置,包括連接管(1),其特征在于:所述連接管(1)上下兩端均安裝有連接頭(2),所述連接管(1)內部上側固定安裝有擋板(3),所述擋板(3)下側安裝有轉動機構(4),所述轉動機構(4)包括套板(5),所述套板(5)上端固定安裝有轉動塊(6),所述轉動塊(6)與擋板(3)轉動連接,所述套板(5)內部還設有轉動架(7),所述轉動架(7)兩側設有過濾機構(8),所述過濾機構(8)下側設有帶動機構(9)。
2.根據權利要求1所述的一種生活污水排放用凈化裝置,其特征在于:所述過濾機構(8)包括固定安裝在轉動架(7)兩側的過濾板(10),所述過濾板(10)上貫穿開設有多個第一過濾孔(11),所述過濾板(10)內部開設有活動槽(12),所述活動槽(12)內部滑動安裝有封堵板(13),所述封堵板(13)上貫穿開設有多個第二過濾孔(14),所述第二過濾孔(14)的位置與第一過濾孔(11)的位置對應,所述過濾板(10)上端呈傾斜狀結構。
3.根據權利要求2所述的一種生活污水排放用凈化裝置,其特征在于:所述連接管(1)靠近擋板(3)的一側內部嵌設有吸引磁鐵(15),所述連接管(1)遠離擋板(3)的一側內部嵌設有排斥磁鐵(16),所述封堵板(13)遠離轉動架(7)的一端嵌設有固定磁鐵(17),所述固定磁鐵(17)與吸引磁鐵(15)相互吸引,所述固定磁鐵(17)與排斥磁鐵(16)相互排斥。
4.根據權利要求3所述的一種生活污水排放用凈化裝置,其特征在于:所述帶動機構(9)包括固定安裝在轉動架(7)下端的套桿(18),所述套桿(18)內壁嵌設有滾珠(19),所述帶動機構(9)還包括轉動安裝在連接管(1)內部的帶動架(20),所述帶動架(20)上端固定安裝有受壓桿(21),所述受壓桿(21)外壁開設有擠壓槽(22),所述擠壓槽(22)投影呈直角三角形結構,所述擠壓槽(22)包括傾斜部分、豎直部分、水平部分,所述滾珠(19)外壁與擠壓槽(22)內壁擠壓接觸。
5.根據權利要求4所述的一種生活污水排放用凈化裝置,其特征在于:所述擠壓槽(22)的傾斜部分與豎直部分連接處轉動連接有導向桿(23),所述導向桿(23)上固定安裝有復位彈簧(24),所述復位彈簧(24)另一端與擠壓槽(22)內壁固定連接,所述導向桿(23)另一端與擠壓槽(22)內壁擠壓接觸,所述導向桿(23)呈傾斜狀設置,所述套桿(18)外部開設有導槽(25),所述套桿(18)外部滑動安裝有導塊(26),所述導塊(26)與導槽(25)滑動連接,所述帶動架(20)上端固定安裝有帶動塊(27),所述帶動塊(27)呈圓臺形結構,所述帶動塊(27)與導塊(26)之間設有卷簧(28),所述卷簧(28)一端與帶動塊(27)固定連接,所述卷簧(28)另一端與導塊(26)外壁固定連接。
6.根據權利要求5所述的一種生活污水排放用凈化裝置,其特征在于:所述連接管(1)內部下側開設有環形槽(29),所述帶動架(20)通過環形槽(29)與連接管(1)轉動連接,所述環形槽(29)內壁固定安裝有兩個固定塊(30),所述帶動架(20)外壁開設有兩個開槽(31),所述開槽(31)內部滑動安裝有卡塊(32),所述卡塊(32)上固定安裝有連接彈簧(33),所述連接彈簧(33)另一端與開槽(31)內壁固定連接,所述卡塊(32)一端呈傾斜狀結構,所述卡塊(32)上的傾斜部分與固定塊(30)外壁擠壓接觸。
7.根據權利要求6所述的一種生活污水排放用凈化裝置,其特征在于:所述轉動架(7)上端固定安裝有多個第一拉力彈簧(34),所述第一拉力彈簧(34)上端與套桿(18)內壁固定連接,所述轉動架(7)上端中部固定安裝有定位桿(35),所述定位桿(35)呈多邊形結構,所述定位桿(35)依次貫穿套板(5)、轉動塊(6)、擋板(3)并延伸至擋板(3)上側。
8.根據權利要求7所述的一種生活污水排放用凈化裝置,其特征在于:所述連接管(1)上開設有出料口(36),所述連接管(1)內部相對出料口(36)的位置開設有滑槽(37),所述連接管(1)內部相對出料口(36)的位置還設有密封板(38),所述密封板(38)上固定安裝有滑塊(39),所述滑塊(39)與滑槽(37)滑動連接,所述滑塊(39)下端固定安裝有第二拉力彈簧(40),所述第二拉力彈簧(40)下端與滑槽(37)內壁固定連接,所述密封板(38)下端固定安裝有頂桿(41),所述頂桿(41)下端與過濾板(10)上端擠壓接觸。
9.根據權利要求8所述的一種生活污水排放用凈化裝置,其特征在于:所述連接管(1)內部相對密封板(38)的上側位置固定安裝有泵式噴頭(42),所述泵式噴頭(42)下端與密封板(38)上端擠壓接觸,所述泵式噴頭(42)上側連通有吸管(43),所述連接管(1)外部固定安裝有安裝架(44),所述吸管(43)貫穿安裝架(44)下端延伸至其上側,所述連接管(1)外壁還固定安裝有收集箱(45),所述收集箱(45)位于出料口(36)下側,所述連接管(1)外壁還固定安裝有連接耳(46)。
10.根據權利要求1-9所述的一種生活污水排放用凈化方法,其特征在于:S1:利用兩個連接頭(2)將該裝置安裝在水管上,并與上下水管連通,并將裝有管道疏通劑的瓶子安裝在安裝架(44)上,之后利用連接耳(46)將該裝置固定在周圍物體上;S2:排水時水中的垃圾會遠離擋板(3)的過濾板(10)擋住,從而對其進行過濾,并在過濾后轉動至另一側將垃圾從出料口(36)排出,同時將沒有垃圾的過濾板(10)轉動至遠離擋板(3)的一側;S3:將垃圾排出后將管道疏通劑添加進過濾板(10)上,對第一過濾孔(11)和第二過濾孔(14)內殘留的污漬進行清潔,避免造成堵塞。
發明內容
1.要解決的技術問題
本發明的目的在于提供一種生活污水排放用凈化裝置及凈化方法,以解決上述背景技術中提出的問題。
2.技術方案
一種生活污水排放用凈化裝置,包括連接管,所述連接管上下兩端均安裝有連接頭,所述連接管內部上側固定安裝有擋板,所述擋板下側安裝有轉動機構,所述轉動機構包括套板,所述套板上端固定安裝有轉動塊,所述轉動塊與擋板轉動連接,所述套板內部還設有轉動架,所述轉動架兩側設有過濾機構,所述過濾機構下側設有帶動機構。
作為本申請技術方案的一種可選方案,所述過濾機構包括固定安裝在轉動架兩側的過濾板,所述過濾板上貫穿開設有多個第一過濾孔,所述過濾板內部開設有活動槽,所述活動槽內部滑動安裝有封堵板,所述封堵板上貫穿開設有多個第二過濾孔,所述第二過濾孔的位置與第一過濾孔的位置對應,所述過濾板上端呈傾斜狀結構。
作為本申請技術方案的一種可選方案,所述連接管靠近擋板的一側內部嵌設有吸引磁鐵,所述連接管遠離擋板的一側內部嵌設有排斥磁鐵,所述封堵板遠離轉動架的一端嵌設有固定磁鐵,所述固定磁鐵與吸引磁鐵相互吸引,所述固定磁鐵與排斥磁鐵相互排斥。
作為本申請技術方案的一種可選方案,所述帶動機構包括固定安裝在轉動架下端的套桿,所述套桿內壁嵌設有滾珠,所述帶動機構還包括轉動安裝在連接管內部的帶動架,所述帶動架上端固定安裝有受壓桿,所述受壓桿外壁開設有擠壓槽,所述擠壓槽投影呈直角三角形結構,所述擠壓槽包括傾斜部分、豎直部分、水平部分,所述滾珠外壁與擠壓槽內壁擠壓接觸。
作為本申請技術方案的一種可選方案,所述擠壓槽的傾斜部分與豎直部分連接處轉動連接有導向桿,所述導向桿上固定安裝有復位彈簧,所述復位彈簧另一端與擠壓槽內壁固定連接,所述導向桿另一端與擠壓槽內壁擠壓接觸,所述導向桿呈傾斜狀設置,所述套桿外部開設有導槽,所述套桿外部滑動安裝有導塊,所述導塊與導槽滑動連接,所述帶動架上端固定安裝有帶動塊,所述帶動塊呈圓臺形結構,所述帶動塊與導塊之間設有卷簧,所述卷簧一端與帶動塊固定連接,所述卷簧另一端與導塊外壁固定連接。
作為本申請技術方案的一種可選方案,所述連接管內部下側開設有環形槽,所述帶動架通過環形槽與連接管轉動連接,所述環形槽內壁固定安裝有兩個固定塊,所述帶動架外壁開設有兩個開槽,所述開槽內部滑動安裝有卡塊,所述卡塊上固定安裝有連接彈簧,所述連接彈簧另一端與開槽內壁固定連接,所述卡塊一端呈傾斜狀結構,所述卡塊上的傾斜部分與固定塊外壁擠壓接觸。
作為本申請技術方案的一種可選方案,所述轉動架上端固定安裝有多個第一拉力彈簧,所述第一拉力彈簧上端與套桿內壁固定連接,所述轉動架上端中部固定安裝有定位桿,所述定位桿呈多邊形結構,所述定位桿依次貫穿套板、轉動塊、擋板并延伸至擋板上側。
作為本申請技術方案的一種可選方案,所述連接管上開設有出料口,所述連接管內部相對出料口的位置開設有滑槽,所述連接管內部相對出料口的位置還設有密封板,所述密封板上固定安裝有滑塊,所述滑塊與滑槽滑動連接,所述滑塊下端固定安裝有第二拉力彈簧,所述第二拉力彈簧下端與滑槽內壁固定連接,所述密封板下端固定安裝有頂桿,所述頂桿下端與過濾板上端擠壓接觸。
作為本申請技術方案的一種可選方案,所述連接管內部相對密封板的上側位置固定安裝有泵式噴頭,所述泵式噴頭下端與密封板上端擠壓接觸,所述泵式噴頭上側連通有吸管,所述連接管外部固定安裝有安裝架,所述吸管貫穿安裝架下端延伸至其上側,所述連接管外壁還固定安裝有收集箱,所述收集箱位于出料口下側,所述連接管外壁還固定安裝有連接耳。
一種生活污水排放用凈化方法,
S1:利用兩個連接頭將該裝置安裝在水管上,并與上下水管連通,并將裝有管道疏通劑的瓶子安裝在安裝架上,之后利用連接耳將該裝置固定在周圍物體上;
S2:排水時水中的垃圾會遠離擋板的過濾板擋住,從而對其進行過濾,并在過濾后轉動至另一側將垃圾從出料口排出,同時將沒有垃圾的過濾板轉動至遠離擋板的一側;
S3:將垃圾排出后將管道疏通劑添加進過濾板上,對第一過濾孔和第二過濾孔內殘留的污漬進行清潔,避免造成堵塞。
3.有益效果
相比于現有技術,本發明的優點在于:
(1)本發明通過設置的過濾機構能夠對生活污水中的固體垃圾進行過濾,并且在轉動機構的作用下能夠帶動過濾機構進行轉動,從而避免垃圾將過濾板堵住導致管道被堵的問題,其中,在轉動機構轉動后能夠將未擁堵的過濾板移動至已經擁堵的一側,從而使得兩塊過濾板的位置發生調換,以此能夠避免管道被擁堵。
(2)本發明通過設置的帶動機構能夠在過濾板被堵塞后自動使得轉動機構發生轉動,使用時簡單方便,能夠自動對過濾板的位置發生調換,并且在過濾板的位置調換后自動使得轉動架移動至初始位置,便于下次使用。
(3)本發明通過設置的封堵板配合固定磁鐵,吸引磁鐵,排斥磁鐵能夠使得封堵板自動移動,在轉動架轉動的過程中能夠避免水分移動至另外一側,從而在出料口打開時從出料口流出造成浪費,同時,通過設置的密封板能夠配合頂桿在過濾板上升時自動將出料口打開,便于固體垃圾從出料口處掉落到收集箱內。
(4)本發明通過設置的泵式噴頭能夠在密封板上升時自動將管道疏通劑擠壓進過濾板上,從而使得第一過濾孔和第二過濾孔中殘留的垃圾被腐蝕,使得過濾板在下次使用時處于通暢狀態,避免第一過濾孔和第二過濾孔被堵住。
(發明人:姚正德;謝樂;于磊)






