1 引言(Introduction)
自養型厭氧氨氧化(ANAMMOX)菌以氨為電子供體, 以亞硝酸鹽為電子受體可直接反應生成氮氣, 反應過程無需外加碳源, 因此, 該工藝是一種高效、節能的新型脫氮工藝(閭剛等, 2017b; 陳重軍等, 2014; 喻徐良, 2017).Strous等(1998)通過元素平衡確定厭氧氨氧化反應基質NO2--N/NH4+-N理論比為1.32, 但在實際工程運行中, 由于反應器運行條件和菌種結構的不同, 并不完全符合理論比值.Tsushima等(2007)研究發現, NO2--N/NH4+-N為0.80~0.87時, 反應器去除效率較高; Jin等(2013)研究表明, 最佳NO2--N/NH4+-N為1.2, 此時出水總氮最低; 陳永等(2006)發現NO2--N/NH4+-N為1.34時, TN的去除率為87.7%, 過高或過低的進水NO2--N/NH4+-N都會導致NO2--N、NH4+-N的不完全轉化.
亞硝酸鹽氮濃度過高會對厭氧氨氧化過程產生抑制, 據報道(Strous et al., 1999), 當NO2--N濃度大于100 mg·L-1時, 能完全抑制厭氧氨氧化反應; 而Jetten等(1999)認為, 當NO2--N濃度大于280 mg·L-1時, 厭氧氨氧化過程才會被抑制, 但當NO2--N濃度大于140 mg·L-1時, 就已經不是厭氧氨氧化反應的最理想濃度.康晶等(2005)采用EGSB反應器, 在進水氨氮、亞硝和COD分別為100、100和650 mg·L-1時, 反應器所去除的NO2--N/NH4+-N值為2.63, 比理論值1.32大很多, 這是由于進水中存在大量的COD所致.
目前, 多數研究者實現厭氧氨氧化都基于高濃度的NH4+-N和NO2--N, 對于低基質濃度條件下的研究較鮮見.因此, 本研究采用低基質濃度條件, 同時改變基質比, 實現厭氧氨氧化的高效脫氮, 以期為實際厭氧氨氧化工程提供一定的參考.
2 材料與方法(Materials and methods)2.1 實驗裝置
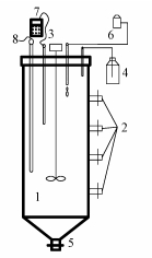
ASBR反應器采用圓柱形有機玻璃制成(圖 1), 直徑14 cm, 高45 cm, 有效容積5 L.在其側壁的垂直方向設置取樣口, 底部設有排泥口, 上部設有通氣口, 反應產生的氣體經水封瓶排出, 為防止光對厭氧氨氧化菌活性的影響, 反應器外側用黑色塑料布覆蓋.
圖 1

圖 1 ASBR反應器示意圖(1. ASBR反應器, 2.排水口, 3.攪拌器, 4.水封瓶, 5.排泥口, 6.緩沖瓶, 7. pH、ORP檢測儀, 8.溫控儀)
2.2 接種污泥
試驗污泥取自成功啟動的厭氧氨氧化中的活性污泥, 具有良好的脫氮性能, 其MLSS為3500 mg·L-1, VSS為2550 mg·L-1.
2.3 試驗用水水質及檢測方法
試驗用水采用人工模擬污水, 其組成成分如下:NH4Cl(按需配), NaNO2 30 mg·L-1(以N計), 微量元素參照文獻(Van der Star et al., 2007), KH2PO4 2 mg·L-1, KHCO3 110 mg·L-1, MgSO4·7H2O 20 mg·L-1, CaCl2·2H2O 20 mg·L-1.其中, 微量元素Ⅰ和微量元素Ⅱ各1.5 mL·L-1, 微量元素濃縮液Ⅰ組成為(mg·L-1):EDTA 5, FeSO4 5000;微量元素濃縮液Ⅱ組成為(mg·L-1):EDTA 5000, CoCl2·6H2O 240, ZnSO4·7H2O 430, MnCl2·4H2O 990, CuSO4·5H2O 250, NiCl2·6H2O 190, NaMoO4·2H2O 220, H3BO4 14, NaSeO4·10H2O 210, NO2--N與NH4+-N的濃度及比值見表 1.水樣經過0.45 μm濾紙過濾后根據國家標準方法測定COD、NH4+-N、NO2--N、NO3--N(國家環境保護總局, 2002).
2.4 運行模式
溫度控制為30 ℃, 通過投加NaHCO3將進水的pH控制為(7.2±0.2).ASBR采用間歇運行, 瞬時進出水; 單周期運行4 h, 沉淀0.5 h后排水, 排水比為80%.每次改變NO2--N/NH4+-N的比值后, 運行7個周期.
3 結果與討論(Results and discussion)3.1 不同NO2--N/NH4+-N下氮素的變化
圖 2為進水基質比分別為0.9、1.1、1.3、1.4、1.5和1.6時, 氮素的變化.由圖可知, NO2--N/NH4+-N為0.9時, 隨著運行周期數的增加, 出水NO2--N、NH4+-N濃度均在逐漸降低, 但降低幅度較小; 至第7周期時, 出水NH4+-N、NO2--N及TN濃度分別為14.3、10.5和27.6 mg·L-1, 去除率分別為57.7%、64.2%和56.8%.NO2--N/NH4+-N為1.1時, 出水濃度隨著運行周期數的增加均在降低; 運行至第14周期時, 出水NH4+-N、NO2--N及TN的去除率分別為70.6%、79.3%和70.2%.NO2--N/NH4+-N為1.3, 出水NO2--N、NH4+-N濃度略有波動, 但總體呈下降的趨勢; 試驗運行至第21周期時, 出水NH4+-N的濃度出現最小值3.6 mg·L-1, 去除率為84.7%;出水NO2--N濃度為4.5 mg·L-1, 去除率為85.2%;出水TN濃度為12.9 mg·L-1, 去除率為76.2%, 此階段NO2--N、NH4+-N的去除率均比NO2--N/NH4+-N為0.9、1.1時高, 已很接近Strous等(1999)提出的理論值1.32, 說明ASBR反應器厭氧氨氧化功能較強.
圖 2

圖 2不同基質比下NH4+-N、NO2--N、TN的變化
當NO2--N/NH4+-N為1.4時, 反應運行至第28周期時達到穩定運行, 出水NH4+-N、NO2--N及TN濃度分別為0.8、1.5和7.7 mg·L-1, 去除率分別為96.2%、95.4%和85.3%.可見NO2--N/NH4+-N在0.9~1.4時, NO2--N、NH4+-N及TN的去除率均在增加.繼續增大進水基質比達到1.5~1.6時, 出水NH4+-N濃度基本維持不變, 而出水NO2--N濃度卻持續增加, 從第35周期時的11.4 mg·L-1增加至第42個周期時的14.2 mg·L-1, 去除率從62.8%下降至52.8%;相應的出水TN濃度從15.1 mg·L-1上升至17.3 mg·L-1, 去除率由70.1%下降至64.1%, 說明在此運行工況下, 低基質厭氧氨氧化反應不能完全進行, 使得出水水質嚴重惡化, 低基質厭氧氨氧化最適宜的NO2--N/NH4+-N比值應控制為1.4, 可以維持穩定且具有較高的脫氮性能.閭剛等(2017a)對厭氧折流板反應器(ABR)的厭氧氨氧化脫氮性能進行研究, 發現最佳基質比為1.34, 略大于理論值, 可能是由于反應體系中存在異養反硝化菌, 發生了反硝化.
3.2 不同NO2--N/NH4+-N下pH及NO3--N的變化
圖 3為在不同進水基質比及pH為(7.2±0.2)條件下, 出水pH與NO3--N的變化.可以看出, 在不同的NO2--N/NH4+-N條件下, 出水pH及NO3--N濃度有明顯不同.當NO2--N/NH4+-N為0.9和1.1時, 出水pH值在7.9~8.1之間波動, 而出水NO3--N濃度由2.1 mg·L-1逐漸增大至3.9 mg·L-1; 當NO2--N/NH4+-N為1.3時, 出水pH值明顯增加, 最后維持在8.21左右, 出水NO3--N濃度先增加至4.7 mg·L-1, 然后逐漸減小至4.4 mg·L-1; NO2--N/NH4+-N為1.4時, 出水pH值逐漸增大, 最后穩定在8.26~8.33之間, 與Strous等(1999)研究結果一致, 出水NO3--N濃度呈增大趨勢.然而當NO2--N/NH4+-N為1.5和1.6時, 出水pH值出現小幅下降, 最小值為8.11, 本階段出水NO3--N濃度呈降低的趨勢.分析原因可能是由于內源反硝化作用所致, 這與閭剛等(2017a)的研究結果相符.田智勇等(2009)研究了上向流厭氧氨氧化生物濾池中pH的變化規律, 結果表明, 由于H+的消耗使厭氧氨氧化過程中pH上升.因此, 出水pH值和NO3--N濃度的下降說明厭氧氨氧化的過程出現異常, 說明這兩個比值已不是最佳的進水基質條件, 同樣說明可以根據pH值及NO3--N的濃度變化衡量厭氧氨氧化反應器脫氮性能是否良好(李亞峰等, 2013; 鮑林林等, 2012; 李偉剛, 2014).
圖 3

圖 3不同基質比下pH、NO3--N的變化
3.3 Anammox反應的計量比變化
在廢水處理工程應用中, 反應化學計量比具有一定的指導意義.圖 4為不同進水基質比時, 發生厭氧氨氧化的ΔNO2--N/ΔNH4+-N比值(反應掉的NO2--N量與反應掉的NH4+-N量的比).當進水NO2--N/NH4+-N為0.9時, 厭氧氨氧化的ΔNO2--N/ΔNH4+-N在1.03~1.14之間波動, ΔNO3--N/ΔNH4+-N(生成的NO3--N量與反應掉的NH4+-N的比)為0.11~0.15;當進水NO2--N/NH4+-N為1.1時, 厭氧氨氧化的ΔNO2--N/ΔNH4+-N值基本穩定在1.23, ΔNO3--N/ΔNH4+-N值為0.16~0.20.當進水NO2--N/NH4+-N為1.3時, 實際厭氧氨氧化的ΔNO2--N/ΔNH4+-N值為1.28~1.40, ΔNO3--N/ΔNH4+-N為0.23~0.26.當進水NO2--N/NH4+-N為1.4時, 厭氧氨氧化的計量關系更穩定, 實際發生厭氧氨氧化的ΔNO2--N/ΔNH4+-N值約為1.37, 比理論值1.32偏高, 可能是進水中的小部分NO2--N直接發生了反硝化.馬斌(2012)發現, ΔNO2--N/ΔNH4+-N平均為1.19, 比理論值偏低, 可能是由于反應器內發生了反硝化, 使得厭氧氨氧化產生的NO3--N被還原為NO2--N.從圖 4還發現, ΔNO3--N/ΔNH4+-N為0.25~0.28, 與理論值0.26一致.綜上所述, 當進水NO2--N濃度不變而NH4+-N的濃度減小時, ΔNO2--N/ΔNH4+-N與ΔNO3--N/ΔNH4+-N均增大, 這與唐崇儉等(2010)的研究結果一致.但當進水NO2--N/NH4+-N繼續增加為1.5和1.6, 實際發生厭氧氨氧化反應的計量比發生很大的變化, 導致ΔNO2--N/ΔNH4+-N及ΔNO3--N/ΔNH4+-N均下降, 分析原因主要是由于進水NO2--N/NH4+-N的值嚴重偏離理論值, 可能使菌群結構發生變化, 導致厭氧氨氧化反應惡化, 因此, NO2--N/NH4+-N的最佳值應為1.4.具體聯系污水寶或參見http://www.dongaorq.cn更多相關技術文檔。
圖 4

圖 4厭氧氨氧化反應的計量比變化
3.4 典型周期內NO2--N、NH4+-N、pH及ORP的變化
圖 5為典型周期內NO2--N、NH4+-N、pH及ORP的變化, 在進水NO2--N/NH4+-N為1.4時, 在前30 min內, NH4+-N、NO2--N濃度降低緩慢, 導致厭氧氨氧化反應的脫氮延遲, 這可能是由于ASBR反應器進水后, 微生物需要適應新環境, 這與李偉剛(2014)的研究相符.在30~100 min內, NO2--N、NH4+-N的下降速率都較大, 運行至100 min時, 出水NO2--N、NH4+-N濃度分別為6.8、5.2 mg·L-1.在100~240 min內, NO2--N、NH4+-N的下降速率逐漸減小, 這是由于厭氧氨氧化所需的底物濃度較低, 限制了反應速率.運行至240 min時, 出水NO2--N、NH4+-N濃度分別低至1.9、0.8 mg·L-1, 在整個周期內, 出水NO2--N、NH4+-N濃度逐漸減小.隨著進水NH4+-N和NO2--N的逐漸降解, 反應器中pH值曲線不斷攀升, 而ORP曲線呈下降趨勢.ORP與pH值的線性擬合如圖 6所示, 可決系數R2高達0.96, 這與有關文獻(Lindsay et al., 2001; Kartal et al., 2008)的報道相吻合.因此, ORP可以作為厭氧氨氧化反應中重要的指示性參數.
圖 5

圖 5典型周期內NH4+-N、NO2--N、pH及ORP的變化
圖 6

圖 6典型周期內ORP與pH的線性擬合
4 結論(Conclusions)
1) 在反應器進水NO2--N濃度為(30.0±0.2) mg·L-1, NO2--N/NH4+-N從0.9升高至1.6的過程中, NO2--N和NH4+-N的去除率先升高后降低, NO2--N/NH4+-N為1.4時, NO2--N、NH4+-N的去除率分別高達95.4%、96.2%, 且總氮的去除率達到85.3%.
2) 當進水的NO2--N/NH4+-N為1.4時, 厭氧氨氧化的ΔNO2--N/ΔNH4+-N約為1.37, ΔNO3--N/ΔNH4+-N為0.25~0.28, 表明發生厭氧氨氧化反應的比值關系更穩定.
3) 進水NO2--N/NH4+-N為1.4時, 周期內NO2--N、NH4+-N降解速率最大的時間段為30~100 min; 整個周期內, ORP與pH呈負向變化關系, 可決系數R2為0.96, ORP可以作為厭氧氨氧化反應過程的指示性參數.(來源:環境科學學報 作者:安芳嬌)



