申請日2017.09.30
公開(公告)日2018.02.23
IPC分類號C02F1/52; C02F101/20
摘要
本發明公開了一種高效率污水沉淀裝置,包括沉降箱殼體和藥液放置器,所述沉降箱殼體的底部四個拐角處均設置有底座,所述沉降箱殼體的頂部設置有雙向電機,所述雙向電機通過轉軸與藥液放置器連接,所述沉降箱殼體的頂部開設有進水口,所述藥液放置器的頂部連接有進藥管。本發明中,沉降箱的內部設置有與沉降箱內部相貼合的藥液放置器,電機帶動轉軸轉動,進而轉軸帶動藥液放置器轉動,可使得藥液與污水充分接觸,保證污水中的重金屬能最大的得到沉降,藥液放置器的表面設計為鋸齒結構,增大藥液放置器與污水的接觸面積,從而使得藥液能盡快與污水接觸,提高了污水沉降的效率。
權利要求書
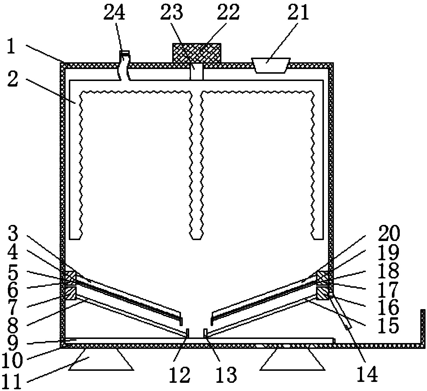
1.一種高效率污水沉淀裝置,包括沉降箱殼體(1)和藥液放置器(2),其特征在于,所述沉降箱殼體(1)的底部四個拐角處均設置有底座(11),所述沉降箱殼體(1)的頂部設置有雙向電機(22),所述雙向電機(22)通過轉軸(23)與藥液放置器(2)連接,所述沉降箱殼體(1)的頂部開設有進水口(21),所述藥液放置器(2)的頂部連接有進藥管(24),所述進藥管(24)通過螺旋孔與進藥管蓋(25)旋合連接,所述沉降箱殼體(1)的內部一側設置有第一XTL100電動伸縮桿(6),所述第一XTL100電動伸縮桿(6)的一側固定有第一滑動斜板(3),所述第一滑動斜板(3)的底部通過第一滑動凹槽(4)與第一固定斜板(5)連接,所述沉降箱殼體(1)的內部位于第一XTL100電動伸縮桿(6)的下方設置有第二XTL100電動伸縮桿(7),所述第二XTL100電動伸縮桿(7)的一側固定有第一推桿(8),所述第一推桿(8)的一側固定有第一推板(12),所述沉降箱殼體(1)的內部另一側設置有與第一XTL100電動伸縮桿(6)相對稱的第三XTL100電動伸縮桿(16),所述第三XTL100電動伸縮桿(16)的一側固定有第二滑動斜板(20),所述第二滑動斜板(20)的底部通過第三滑動凹槽(19)與第二固定斜板(18)連接,所述沉降箱殼體(1)的內部位于第三XTL100電動伸縮桿(16)的下方設置有第四XTL100電動伸縮桿(17),所述第四XTL100電動伸縮桿(17)的一側固定有第二推桿(15),所述第二推桿(15)的一側固定有第二推板(13),所述沉降箱殼體(1)的一側通過鉸鏈與蓋板(14)連接,所述沉降箱殼體(1)的內部底端位置處通過第二滑動凹槽(10)與滑板(9)連接。
2.根據權利要求1所述的一種高效率污水沉淀裝置,其特征在于,所述藥液放置器(2)上等距開設有多個圓形通孔。
3.根據權利要求1所述的一種高效率污水沉淀裝置,其特征在于,所述滑板(9)的一側設置有用于拉動滑板(9)的拉手。
4.根據權利要求1所述的一種高效率污水沉淀裝置,其特征在于,所述沉降箱殼體(1)的豎直中線與轉軸(23)的豎直中線位于同一直線上。
5.根據權利要求1所述的一種高效率污水沉淀裝置,其特征在于,所述第一推桿(8)與第二推桿(15)關于沉降箱殼體(1)的豎直中線對稱。
說明書
一種高效率污水沉淀裝置
技術領域
本發明涉及沉降箱技術領域,尤其涉及一種高效率污水沉淀裝置。
背景技術
污水,通常指受一定污染。來自生活和生產的排出水,污水主要有生活污水、工業廢水和初期雨水,污水的主要污染物有病原體污染物、耗氧污染物、植物營養物和有毒污染物等,污水在處理過程中需要對污水中的重金屬進行沉降,所以需要用到一種污水沉降箱。
然而現有的污水沉降箱在使用上仍存在一定的不足之處,使用時,污水沉降箱內部的藥液散布不均勻,藥液不能充分利用,導致部分污水中的重金屬得不到很好的沉降效果,且重金屬沉降于沉降箱底部后,不易從沉降箱的內部清理出來。
發明內容
本發明的目的是為了解決現有技術中存在的缺點,而提出的一種高效率污水沉淀裝置。
為了實現上述目的,本發明采用了如下技術方案:一種高效率污水沉淀裝置,包括沉降箱殼體和藥液放置器,所述沉降箱殼體的底部四個拐角處均設置有底座,所述沉降箱殼體的頂部設置有雙向電機,所述雙向電機通過轉軸與藥液放置器連接,所述沉降箱殼體的頂部開設有進水口,所述藥液放置器的頂部連接有進藥管,所述進藥管通過螺旋孔與進藥管蓋旋合連接,所述沉降箱殼體的內部一側設置有第一XTL100電動伸縮桿,所述第一XTL100電動伸縮桿的一側固定有第一滑動斜板,所述第一滑動斜板的底部通過第一滑動凹槽與第一固定斜板連接,所述沉降箱殼體的內部位于第一XTL100電動伸縮桿的下方設置有第二XTL100電動伸縮桿,所述第二XTL100電動伸縮桿的一側固定有第一推桿,所述第一推桿的一側固定有第一推板,所述沉降箱殼體的內部另一側設置有與第一XTL100電動伸縮桿相對稱的第三XTL100電動伸縮桿,所述第三XTL100電動伸縮桿的一側固定有第二滑動斜板,所述第二滑動斜板的底部通過第三滑動凹槽與第二固定斜板連接,所述沉降箱殼體的內部位于第三XTL100電動伸縮桿的下方設置有第四XTL100電動伸縮桿,所述第四XTL100電動伸縮桿的一側固定有第二推桿,所述第二推桿的一側固定有第二推板,所述沉降箱殼體的一側通過鉸鏈與蓋板連接,所述沉降箱殼體的內部底端位置處通過第二滑動凹槽與滑板連接。
作為上述技術方案的進一步描述:
所述藥液放置器上等距開設有多個圓形通孔。
作為上述技術方案的進一步描述:
所述滑板的一側設置有用于拉動滑板的拉手。
作為上述技術方案的進一步描述:
所述沉降箱殼體的豎直中線與轉軸的豎直中線位于同一直線上。
作為上述技術方案的進一步描述:
所述第一推桿與第二推桿關于沉降箱殼體的豎直中線對稱。
本發明中,首先,沉降箱的內部設置有與沉降箱內部相貼合的藥液放置器,電機帶動轉軸轉動,進而轉軸帶動藥液放置器轉動,可使得藥液與污水充分接觸,保證污水中的重金屬能最大的得到沉降,藥液放置器的表面設計為鋸齒結構,增大藥液放置器與污水的接觸面積,從而使得藥液能盡快與污水接觸,提高了污水沉降的效率,且進水口開設在藥液放置器的上方,污水進入沉降箱的過程中,藥液放置器可起到一定的緩沖作用,避免新進入的污水又重新將重金屬帶起,保證了沉降的質量,其次,沉降箱的內部兩側分別通過XTL100電動伸縮桿連接有滑動斜板,可加快重金屬沉降的速度,提高重金屬沉降的效率,最后沉降箱的內部兩側分別通過XTL100電動伸縮桿連接有推桿,當重金屬從兩滑動斜板的中心位置處聚集時,利用推桿將重金屬分散與滑板上,當沉降工作結束后,將滑板拉出,進行重金屬的清理,方便的后期的清理工作,為使用者提供了便利。



